Духовые шкафы Electrolux EOA 95651 AV - инструкция пользователя по применению, эксплуатации и установке на русском языке. Мы надеемся, она поможет вам решить возникшие у вас вопросы при эксплуатации техники.
Если остались вопросы, задайте их в комментариях после инструкции.
"Загружаем инструкцию", означает, что нужно подождать пока файл загрузится и можно будет его читать онлайн. Некоторые инструкции очень большие и время их появления зависит от вашей скорости интернета.

посудомоечную машину. Это может
привести к повреждению
антипригарного покрытия.
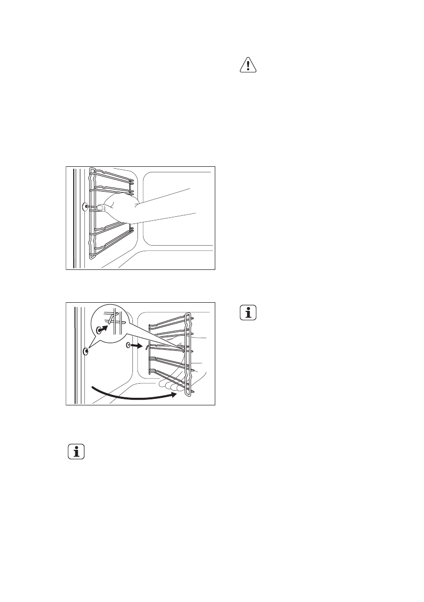
10.2 Снятие направляющих
для противня
Снимите направляющие для противня,
чтобы вымыть духовой шкаф.
1. Потяните переднюю часть
направляющей для противня в
сторону, противоположную
боковой стенке.
2. Вытяните заднюю часть
направляющей для противня из
боковой стенки и снимите ее.
1
2
Установка направляющих для
противня производится в обратном
порядке.
Удерживающие упоры на
телескопических
направляющих должны
быть обращены вперед.
10.3 Кат.чистка
ОСТОРОЖНО!
Не следует чистить
каталитические панели с
помощью аэрозолей для
духовых шкафов,
абразивных чистящих
средств, мыла и прочих
чистящих средств. Это
может повредить
каталитические панели.
Очищайте внутреннее стекло дверцы
духового шкафа мягкой тряпкой,
смоченной в теплой воде.
Извлеките все дополнительные
принадлежности.
Стенки и потолок камеры закрыты
каталитическими панелями. При
высокой температуре они способны
поглощать жир и грязь, не выделяя
при этом запаха.
Для поддержания самоочистки
регулярно нагревайте прибор без
продуктов.
Появление пятен или
изменение цвета
каталитических панелей не
влияет на каталитические
свойства.
1. Установите режим
«Каталитическая очистка». См.
раздел «Режимы духового
шкафа».
На дисплее высветится надпись CATA
и продолжительность процедуры
очистки (1 час). Продолжительность
невозможно изменить, но Вы можете
воспользоваться функцией
«Окончание» для того, чтобы
отсрочить пуск процедуры очистки.
По истечении установленного времени
выдается звуковой сигнал. Прибор
выключится.
2. Для выключения звукового сигнала
нажмите на любую кнопку или
откройте дверцу духового шкафа.
3. Очистите дно прибора мягкой
влажной губкой.
РУССКИЙ
35












