Духовые шкафы Electrolux EOA 95551 AZ - инструкция пользователя по применению, эксплуатации и установке на русском языке. Мы надеемся, она поможет вам решить возникшие у вас вопросы при эксплуатации техники.
Если остались вопросы, задайте их в комментариях после инструкции.
"Загружаем инструкцию", означает, что нужно подождать пока файл загрузится и можно будет его читать онлайн. Некоторые инструкции очень большие и время их появления зависит от вашей скорости интернета.

посудомоечную машину. Это может
привести к повреждению
антипригарного покрытия.
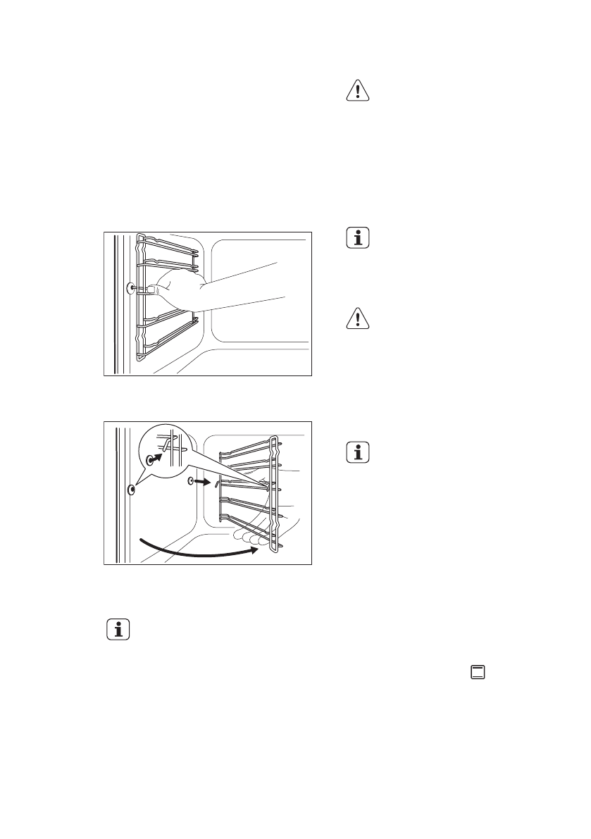
10.2 Снятие направляющих
для противня
Снимите направляющие для противня,
чтобы вымыть духовой шкаф.
1. Потяните переднюю часть
направляющей для противня в
сторону, противоположную
боковой стенке.
2. Вытяните заднюю часть
направляющей для противня из
боковой стенки и снимите ее.
1
2
Установка направляющих для
противня производится в обратном
порядке.
Удерживающие упоры на
телескопических
направляющих должны
быть обращены вперед.
10.3 Каталитическая очистка
ОСТОРОЖНО!
Не следует чистить
каталитические панели с
помощью аэрозолей для
духовых шкафов,
абразивных чистящих
средств, мыла и прочих
чистящих средств. Это
может повредить
каталитические панели.
Появление пятен или
изменение цвета
каталитических панелей не
влияет на каталитические
свойства.
ВНИМАНИЕ!
Не допускайте детей к
духовому шкафу в то
время, когда идет очистка
при высокой температуре.
Поверхность духового
шкафа становится крайне
горячей; существует риск
ожогов.
Перед запуском
каталитической очистки
извлеките из духового
шкафа все
принадлежности.
Стенки с каталитическим покрытием
не требуют очистки. Они поглощают
жир, который собирается на стенках
во время работы прибора.
Для поддержания процесса
самоочистки регулярно нагревайте
пустой духовой шкаф.
1. Очистите дно духовки теплой
водой и моющим средством, а
затем вытрите.
2. Установите режим .
3. Установите температуру духового
шкафа на 250°C и дайте ему
поработать в течение 1 часа.
4. После остывания прибора
очистите его мягкой влажной
губкой.
www.electrolux.com
32












