Духовые шкафы AEG BS5731402M - инструкция пользователя по применению, эксплуатации и установке на русском языке. Мы надеемся, она поможет вам решить возникшие у вас вопросы при эксплуатации техники.
Если остались вопросы, задайте их в комментариях после инструкции.
"Загружаем инструкцию", означает, что нужно подождать пока файл загрузится и можно будет его читать онлайн. Некоторые инструкции очень большие и время их появления зависит от вашей скорости интернета.

На дисплее замигает и отобразится
заданная по умолчанию температура
внутри продукта. При первом
использовании это температура равна
60°C, при последующих – последнему
сохраненному значению.
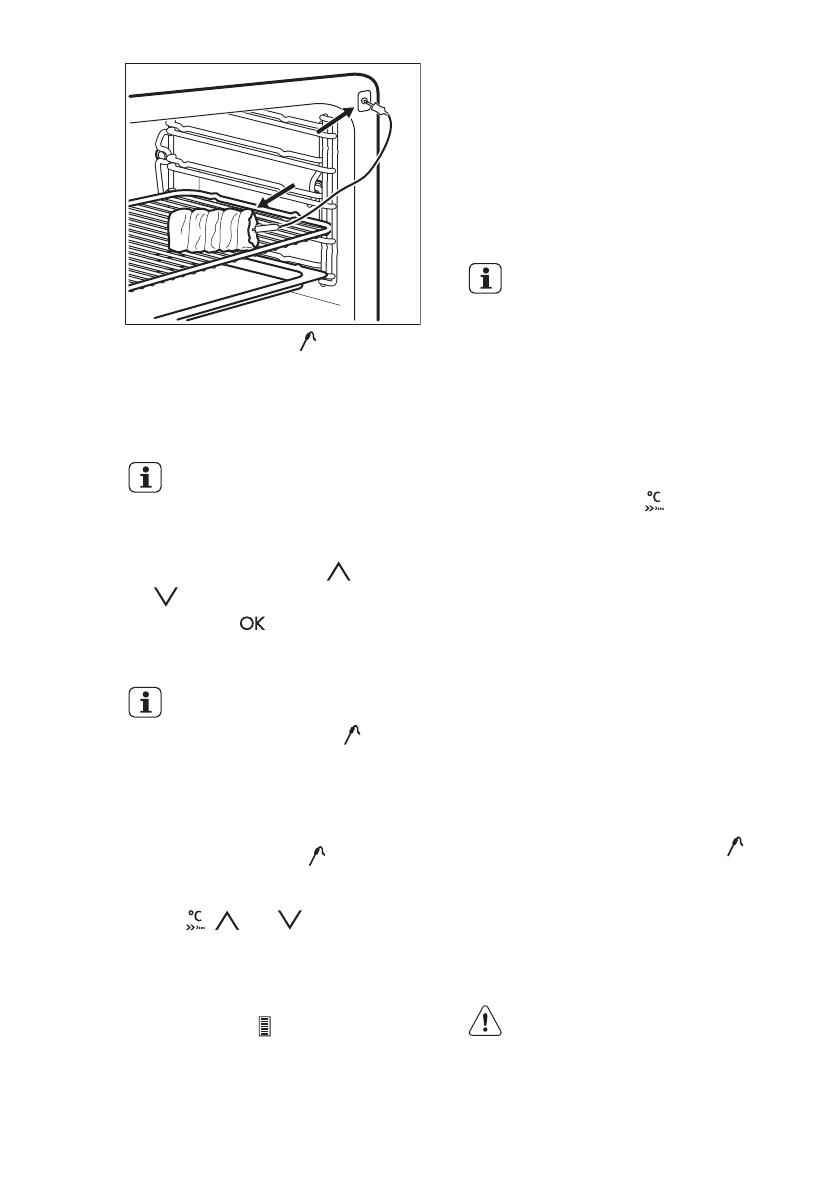
При включении термощупа
все установки времени для
духового шкафа
отменяются.
4. Для установки температуры внутри
продукта нажмите на
или на
.
5. Коснитесь
или настройки будут
автоматически сохранены через
пять секунд.
Задать температуру
внутри продукта можно
только пока мигает .
Если до установки
температуры внутри
продукта на дисплее
постоянно
отображается, но не
мигает символ ,
введите новое
значение при помощи
,
или
.
6. Выберите режим и задайте
температуру духового шкафа.
На дисплее отобразится текущая
температура внутри продукта и
символ нагрева .
Пока прибор вычисляет
приблизительное значение
продолжительности, на дисплее
отображается время прямого отсчета.
По окончании первоначального
вычисления на дисплее отобразится
приблизительная продолжительность
приготовления.
Прибор продолжает процесс расчета
продолжительности и во время
приготовления блюда. Значение
времени приготовления на дисплее
периодически обновляется.
При приготовлении с
термощупом имеется
возможность изменения
температуры, которая
отображается на дисплее.
После включения
термощупа в его гнездо и
выбора режима духового
шкафа и температуры на
дисплее отображается
текущая температура
внутри продукта.
Нажимайте на до тех
пор, пока не появятся три
другие значения
температуры:
• Заданная
температура внутри
продукта.
• Текущая
температура
духового шкафа.
• Текущая
температура внутри
продукта.
При достижении заданной
температуры внутри продукта в
течение двух минут будет выдаваться
звуковой сигнал, а значение
температуры внутри продукты и
будут мигать. Прибор выключится.
7. Нажмите на любое сенсорное
поле, чтобы выключить звуковой
сигнал.
8. Извлеките штекер термощупа из
его гнезда и достаньте мясо из
прибора.
ВНИМАНИЕ!
Будьте осторожны при
извлечении термощупа. Он
горячий. Существует
опасность получения
ожогов.
www.aeg.com
20












