Духовые шкафы AEG BE5501472M - инструкция пользователя по применению, эксплуатации и установке на русском языке. Мы надеемся, она поможет вам решить возникшие у вас вопросы при эксплуатации техники.
Если остались вопросы, задайте их в комментариях после инструкции.
"Загружаем инструкцию", означает, что нужно подождать пока файл загрузится и можно будет его читать онлайн. Некоторые инструкции очень большие и время их появления зависит от вашей скорости интернета.

ವ ̵͞͏͇͙͖͐͌͗͠͏͈͕͓͕͉͇͍͔͕͗ͦ͊͑͐͒͐
͙͖͕̯͖͕͎͚͙͙͕͕͔͗ͦ͑͐͒ͣ͐͌͒ͣ͑͌͘ಣ
̴͙͇͔͕͓͕͙͉͕͐͗͒ͣ͌ͥ͌͌͗͌͋͌͘͘͠͏͘ಣ
͖͕͎͚͙͇͈͇͎͒ͣ͐͌͗͏͉͔͙͉͇͌͗͌͋͘͘͢
͇͈͇͎͗͏͉͔͚͈͌͊͑͢͏͇͙͉͕͗͗͘͏͙͌͒͏
͏͒͏͓͙͇͌͒͒͏͌͑͘͞͏͖͓͙͌͗͌͋͌͢
ವ ̩͚͇͒͌͘͞͏͖͕͎͕͉͇͔͒ͣ͘͏͖ͦ͗͌ͦ͋͒ͦ͘
͕͞͏͙͑͘͏͚͕͉͕͕͇͇͚͙͋͊͑͛͒͌͋͐͌͘͜͟
͏͔͙͚͗͑͘͝͏͏͖͕͈͎͕͖͇͔͕͙͌͘͘͏͔͇͕͌͊
͚͖͇͕͉͑͑͌
ವ ̴͕͌͞͏͇͙͇͙͇͐͌͑͒͠͏͙͏͚͓͇͌͑ͥͤ͒ͣ͘͞
͌͒͘͏͖͗͏͈͕͗͏͓͙͕͕͙͉͙͙͉͚͌͌͌ͥ͘͘ಣ
͖͕͙͌͌͑͗͢͠͏͇͌͑͑͏͓͏͒͏͈͕͓͕ͥ͠͏ಣ
͓͏͙͉͇͓͗͌͋͘͘͏
̩͔͚͙͔͔͕͉͔͗͌͌͌͌͌͘͠͏͌
ವ ̩͖͗͏͈͕͗͌͏͖͕͎͚͙͓͕͚͒ͣ͌ͦ͋͒ͣ͘͘
͖͕͉͙͋͌͑͘͏͏͒͏͇͕͔͕͉͇͇͓͖͇͊͒͊͌ͦ͒
͖͔͇͎͔͇͔͔͇͙͕͕͈͙͕͗͌͋͌ͦ͒ͣ͑͋͒ͦ͢͞ಣ
͉͖͗͢͜͏̴͈͕͕͉͗͌͏͖͕͎͚͙͒ͣ͐͌͘͏͜
͕͉͔͋͒ͦ͌͌͘͠͏͕͓͇ͦ͋
̴̴̧̩̯̳̯̬
̸͚͙͉͚͙͕͖͇͔͕͙͖͕͇͍͌͌ͣ͗͌͘͘͘͠ಣ
͔͏͙ͦͤ͒͌͑͗͏͌͑͘͞͏͓͙͕͕͓͑
ವ ̶͎͇͓͔͕͇͓͖͕͙͌͗͌͋͌͐͒͑͒ͥ͢͞͏͙͌
͙͕͖ͤ͒͌͑͗͏͙͇͔͏͖͌͗͏͈͕͇͗
ವ ̯͖͕͎͚͙͙͕͕͇͓͖͙͕͍͒ͣ͐͌͒ͣ͑͒͐͌͘͢
͖͌͘͝͏͛͏͇͑͝͏͏
̺͙͏͒͏͎͇͝͏ͦ
̴̴̧̩̯̳̯̬
̸͚͙͉͚͙͕͖͇͔͕͙͙͇͉͓͌͌ͣ͗͘͘͘͢͠
͏͒͏͚͚͋ͣͦ͟
ವ ̵͙͑͒ͥ͞͏͙͖͌͗͏͈͕͕͙͙͗͌͘͏͙͕ͤ͒͌͑͗ಣ
͖͏͙͇͔͏ͦ
ವ ̵͙͍͙͇͈͙͕͖͗͌ͣ͌͑͌͒ͣͤ͒͌͑͗͏͙͇͔͏ͦ͏
͚͙͏͒͏͎͏͚͙͕͗͐͌͌͊
ವ ̺͇͋͒͏͙͎͇͚͉͙͕͈͌͌͒͑͋͌͗͢͢͠͝͞
͖͕͙͉͇͙͗͌͋͗͏͙ͣ͗͏͎͇͖͑͌͌͘͏͇͔͗͏͔͇ͦ
͚͇͒͐͌͒͘͘͞͏͉͔͚͙͗͏͖͗͏͈͕͇͕͇͗͑ಣ
͍͚͙͙ͦ͋͌͘͏͏͕͓͇͔͋͟͏͍͌͏͉͕͙͔͌͢
̵̶̸̴̧̯̯̬̯̮̫̬̲̯͆
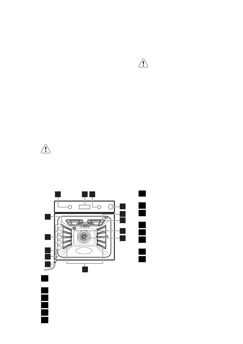
7
4
5
14
13
10
11
12
9
5
4
1
2
3
2 3
1
8
6
1
̷͚͇͉͈͕͇͍͑͗͗͌͢͞͏͓͇͚͕͉͕͕͋͊͜
͇͇͑͛͟
2
͙͕͔͔͖͕͇͓͓͇͙͕̈́͒͌͑͗͐͗͊͗͗͢
3
̷͚͇͙͓͕͙͇͙͇͑͌͗͘͞
4
̩͉͋͢͏͍͔͕͎͉͚͇͉͕͐͗͌͌͗͗͋͒ͦ͋͢
5
̪͗͏͒ͣ
6
̪͔͎͕͙͓͕͚͖͇͓͇͌͋͋͒ͦ͌͗͋͒ͦͦ͘͠
7
̲͇͓͖͇͕͉͔͌͌͘͠͏͚͕͉͕͕͇ͦ͋͊͑͜͟ಣ
͇͛
8
̩͔͙͌͏͙͕͒ͦ͗
9
̸͓͔͇͔͇͖͇͉͇͖͕͌ͦ͗͒ͦͥͦ͋͒ͦ͗͡͠ಣ
͙͏͉͔ͦ
10
̸͒͏͉͔͕͇͔͐͒͊͟
11
̱͇͖͇͔͒͋͒ͦ͒͘͏͉͇͉͕͋͢
12
̹͇͈͒͏͇͙͔͑͌͘͜͞͏͌͑͘͞͏͓͏͇͔͔͋͢ಣ
͓͏
13
̶͕͕͍͔͒͌͏͖͕͙͌͗͏͉͔͌͐
14
̩͕͔͕͕͙͉͙͋͌͌͗͘͜͏͖͇͇͌͋͒ͦ͗
̶͗͏͔͇͍͔͕͙͋͒͌͘͏͋͒ͦ
͚͕͉͕͕͇͇͋͊͑͛͜͟
ವ ̷͙͇͌͌͑͟
̫͚͕͔͔͕͖͕͚͕͓͉͒ͦ͑͐͋͛͗͋͒ͦ͘͜͢͢ಣ
͖͌͑͞͏͍͇͕͕͗͑͊
ವ ̪͚͈͕͒͑͏͖͕͙͐͗͏͉͔͌ͣ
̫͙͕͙͕͉͒ͦ͗͏͈͏͉͑͘͏͙͕͉
ವ ̶͕͙͗͏͉͔͍͇͌ͣ͋͒ͦ͗͑͏͊͗͏͒ͦ
̷̸̸̺̱̯̰
49
Характеристики
Остались вопросы?Не нашли свой ответ в руководстве или возникли другие проблемы? Задайте свой вопрос в форме ниже с подробным описанием вашей ситуации, чтобы другие люди и специалисты смогли дать на него ответ. Если вы знаете как решить проблему другого человека, пожалуйста, подскажите ему :)