Духовые шкафы AEG BE5014701M - инструкция пользователя по применению, эксплуатации и установке на русском языке. Мы надеемся, она поможет вам решить возникшие у вас вопросы при эксплуатации техники.
Если остались вопросы, задайте их в комментариях после инструкции.
"Загружаем инструкцию", означает, что нужно подождать пока файл загрузится и можно будет его читать онлайн. Некоторые инструкции очень большие и время их появления зависит от вашей скорости интернета.

3. ОПИСАНИЕ ИЗДЕЛИЯ
3.1 Общий обзор
8
5
6
14
11
12
10
5
4
1
2
3
3
2
4
1
9
7
13
1
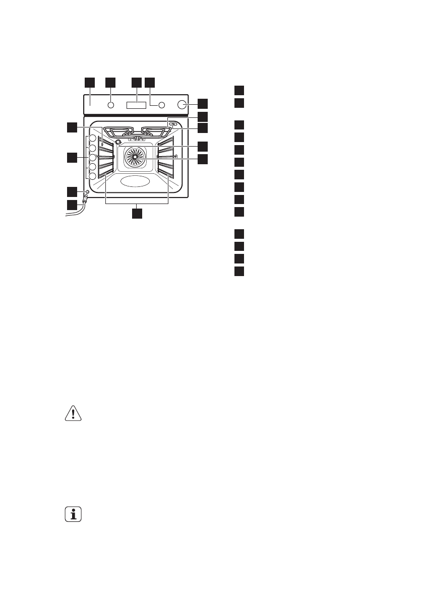
Панель управления
2
Ручка выбора режимов духового
шкафа
3
Электронный программатор
4
Ручка регулировки температуры
5
Выдвижной резервуар для воды
6
Нагревательный элемент
7
Гнездо для термощупа
8
Лампа освещения
9
Вентилятор
10
Съемная направляющая для
противня
11
Сливной шланг
12
Клапан для слива воды
13
Положение противней
14
Входное отверстие для пара
3.2 Принадлежности
• Решетка
Для кухонной посуды, форм для
выпечки, жаркого.
• Глубокий противень
Для тортов и печенья.
• Противень для жарки / гриля
Для выпекания и жарки или в
качестве поддона для сбора жира.
• Термощуп
Определение готовности блюда.
• Телескопические направляющие
Для полок и противней.
4. ПЕРЕД ПЕРВЫМ ИСПОЛЬЗОВАНИЕМ
ВНИМАНИЕ!
См. Главы, содержащие
Сведения по технике
безопасности.
4.1 Первая очистка
Извлеките из прибора все
принадлежности и съемные
направляющие для противней.
См. Главу «Уход и
очистка».
Перед первым использованием
прибор следует очистить.
Установите принадлежности и
съемные направляющие для полок
обратно на место.
4.2 Установка времени
При первом подключении к сети на
дисплее на несколько секунд
высветятся все его символы. В
течение последующих нескольких
секунд на дисплее будет
отображаться версия встроенного
программного обеспечения.
После того, как информация о версии
программного обеспечения погаснет,
www.aeg.com
8