Духовые шкафы AEG B99715M - инструкция пользователя по применению, эксплуатации и установке на русском языке. Мы надеемся, она поможет вам решить возникшие у вас вопросы при эксплуатации техники.
Если остались вопросы, задайте их в комментариях после инструкции.
"Загружаем инструкцию", означает, что нужно подождать пока файл загрузится и можно будет его читать онлайн. Некоторые инструкции очень большие и время их появления зависит от вашей скорости интернета.

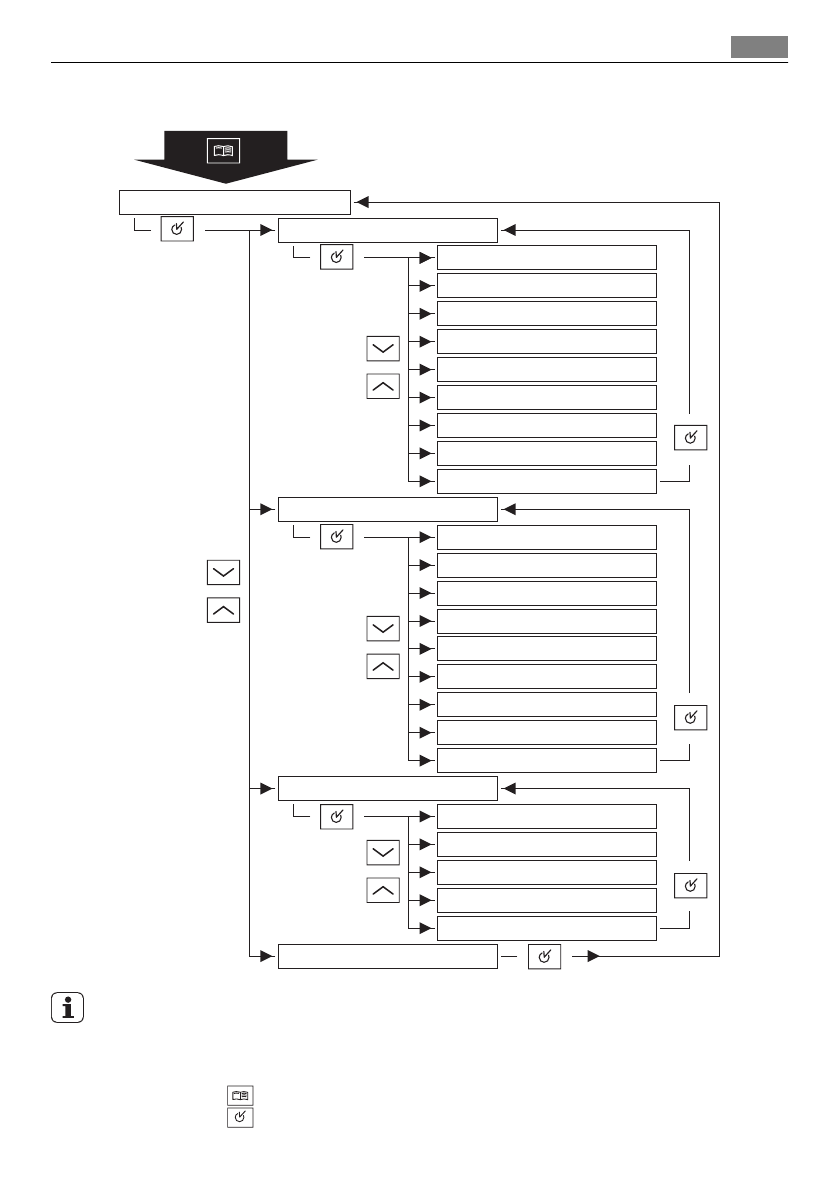
МЕНЮ РЕЦЕПТОВ (обзор)
РЕЦЕПТЫ
РЕЦЕПТЫ ВЫПЕЧКИ
ЛИМОННЫЙ БИСКВИТ
КУЛИЧ
РЕЦЕПТЫ ЖАРКИ
БИСКВИТ
СЫРНЫЙ ТОРТ
АНГЛИЙСКИЙ ТОРТ
ШТРУДЕЛЬ
ДРОЖЖЕВОЙ ПИРОГ
БЕЛЫИ ХЛЕБ
НАЗАД
ПИЦЦА
КАРТОФ ЗАПЕКАНКА
ЗАКРЫТЫЙ ПИРОГ
МИНИ-ПИЦЦЫ
ЛАЗАНЬЯ
КАННЕЛОНИ
МЯСНАЯ ЗАПЕКАНКА
РЫБНОЕ ФИЛЕ
НАЗАД
СПЕЦИАЛЬНЫЕ
ГОТОВЫЙ ПИРОГ
ГОТОВАЯ ПИЦЦА
ПОДСУШИВАНИЕ
КОНСЕРВИРОВАНИЕ
НАЗАД
НАЗАД
Обратитесь к брошюре "Блюда, советы и рецепты" за сведениями о ре‐
жимах духового шкафа, программах и автоматическом выборе рецептов.
Выбор рецепта
1. Нажмите чтобы открыть меню дополнительных функций.
2. Нажмите , чтобы открыть МЕНЮ РЕЦЕПТОВ .
Ежедневное использование
19
Характеристики
Остались вопросы?Не нашли свой ответ в руководстве или возникли другие проблемы? Задайте свой вопрос в форме ниже с подробным описанием вашей ситуации, чтобы другие люди и специалисты смогли дать на него ответ. Если вы знаете как решить проблему другого человека, пожалуйста, подскажите ему :)