Домашние кинотеатры Sony DAV-IS50 - инструкция пользователя по применению, эксплуатации и установке на русском языке. Мы надеемся, она поможет вам решить возникшие у вас вопросы при эксплуатации техники.
Если остались вопросы, задайте их в комментариях после инструкции.
"Загружаем инструкцию", означает, что нужно подождать пока файл загрузится и можно будет его читать онлайн. Некоторые инструкции очень большие и время их появления зависит от вашей скорости интернета.

130
UA
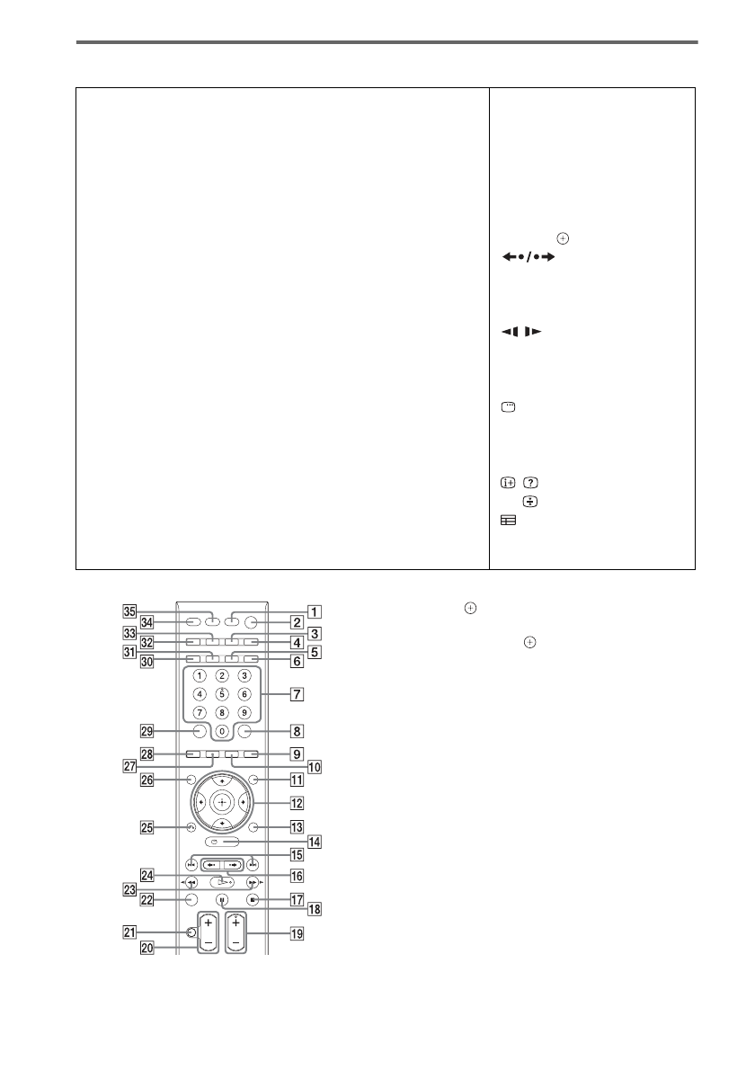
Пульт дистанційного управління
1)
Кнопка ENTER має ту ж саму функцію, що й
кнопка
. Під час управління телевізором
кнопка ENTER використовується для вибору
каналу, а кнопка
використовується для
вибору пунктів меню.
2)
Ця кнопка є доступною тільки для функції
« DVD » або « DMPORT ». В залежності від
адаптеру DIGITAL MEDIA PORT, ця кнопка
може не працювати.
3)
Кнопки 5,
H
, PROG +/SOUND MODE та
AUDIO мають тактильні крапки.
Використовуйте ці крапки для орієнтування
під час управління системою.
4)
Ці кнопки змінюються на кнопки управління
телевізором, коли пульт перебуває в
телевізійному режимі. Пульт перебуває в
телевізійному режимі, коли горить кнопка
ws
.
В АЛФАВИТНОМУ ПОРЯДКУ
ОПИС КНОПОК
A – O
P – Z
ANALOG
4)
5
ANGLE
9
AUDIO
3)
wj
CLEAR
wl
D.TUNING
0
DIGITAL
4)
6
DIMMER
5
DISPLAY
3
DVD MENU
qa
DVD TOP MENU
wh
ENTER
8
FUNCTION
4
MENU/HOME
4)
qf
MUTING
4)
wa
NIGHT
ea
ONE-TOUCH PLAY
eg
PICTURE NAVI
wk
PRESET +/–
qg
PROG +/–
3)4)
ql
REPEAT
6
SLEEP
ed
SOUND MODE +/–
3)
ql
SUBTITLE
0
SYSTEM MENU
qd
THEATRE
ef
TONE
e;
TOOLS/OPTIONS
4)
qd
TUNING +/–
wd
TV
ws
TV VOL +/–
4)
w;
VOLUME +/–
w;
Цифрові кнопки
3)4)
7
[
/
1
(увімкнено/режим
очікування)
2
TV
[
/
1
(увімкнено/режим
очікування)
1
C
/
X
/
x
/
c
/
1)4)
qs
REPLAY/
ADVANCE
qh
.
/
>
qg
m
/
M
wd
/
wd
H
3)
wf
x
qj
X
qk
DISPLAY
2)
qf
Z
es
-/--
4)
8
O
RETURN
4)
wg
/
4)
3
t
/
4)
qa
4)
wh
/
4)
wl
c
/
C
4)
ql
Содержание
- 3 Меры предосторожности; По источникам питания; • Силовой кабель переменного тока должен
- 4 Оглавление
- 6 Воспроизводимые диски; Тип
- 7 Пример дисков, которые не могут воспроизводиться системой; DivX; продолжение
- 8 Примечание по DualDisc; О многосеансном диске CD; Данная система может также воспроизводить DVD VIDEO с отметкой
- 9 буквы D являются товарными знаками компании Dolby Laboratories.; “BRAVIA” является торговой маркой Sony Corporation.
- 10 Содержание упаковки; Подготовка к эксплуатации
- 11 на батарейках в соответствии с
- 12 разместить сабвуфер в (; • Сабвуфер также можно разместить на любой; • Если сабвуфер размещается перед; H F; D G
- 13 • Звучание басов может быть неэффективным,
- 15 Установка колонок на стене; винтов или монтажником.; Прикрепите кронштейн к стене через отверстие; • Во избежание вращения колонки, также используйте отверстие
- 17 Обратно подключите отделенные кабели колонок, вставив
- 18 О подключении кабеля колонки; Предотвращение короткого замыкания колонок
- 19 до; • Во избежание гудения и шума, выполните подключения надежно.; Шаг 2: Подключение системы
- 22 Подключение блока управления; по размерам превышающей сабвуфер.
- 23 Подключение колонок
- 25 Подключение беспроводного передатчик/приемопередатчика; никакие другие компоненты.; Открутите винты и снимите крышку слота.; Подключите беспроводной передатчик.
- 26 Подключение телевизора; или
- 28 Подключение других компонентов; Подключение адаптера DIGITAL MEDIA PORT; были
- 30 Подключение антенны; аудиовизуальных компонентов, в ином случае может появиться шум.; подключить к любому терминалу.
- 31 Подключение силового кабеля переменного тока (силовой
- 32 Проверка состояния передачи; Состояние; Мигает зеленым. Передача звучания не
- 33 • При подключении наушников к усилителю; • При отсоединении, извлеките фиксатор
- 34 • При подключении системы и телевизора; • Убедитесь, что функция установлена на
- 35 Нажимая; Выйдите из Быстрой настройки; Нажмите
- 36 • При изменении расположения колонок,; Вызов экрана Быстрой настройки; Отображается Экран настройки.
- 37 – телевизор не принимает прогрессивные
- 38 Основные операции; Воспроизведение диска; Сенсорные кнопки; • Сенсорные кнопки срабатывают от легкого; • Сенсорные кнопки срабатывают, когда они
- 39 Переключите селектор приема на телевизоре на данную систему.; и дисплее фронтальной; телевизора
- 40 Дополнительные операции; Для
- 41 Кроме графических файлов JPEG.
- 42 Выбор подключенного компонента
- 43 Повторно нажимайте
- 44 Системное меню отключается.; прослушивания окружающего звучания системы.; Прослушивание звучания от всех колонок
- 45 Если допущена ошибка; • При отключении экрана Меню управления,; с помощью временного кода недоступна.; Выбранная строка
- 47 затем нажмите
- 48 Изменение или отмена программы; Отмена всех дорожек в программе; • При нажатии CLEAR для возврата в режим; • При воспроизведении файлов MP3, одна песня; • Данная функция не может использоваться для
- 49 • Повторное воспроизведение не может; • Можно быстро отобразить состояние
- 51 стереофоническое звучание; • Пока система воспроизводит Super VCD, на; DVD
- 53 Оставшееся время текущей главы
- 54 • Знаки/обозначения могут не отображаться; Просмотр текста DVD/CD; – воспроизведении видеофайла DivX,
- 55 Переключение углов
- 56 • соответствующим формату
- 57 Выбор файла MP3 или папки; Остановка воспроизведения
- 58 • PICTURE NAVI не срабатывает при; • На правой стороне экрана телевизора; • Невозможно вращать графический файл
- 59 воспроизводить только файлы MP3.
- 60 • На отображение некоторых графических; JPEG вылетает сверху вниз.
- 61 О видеофайлах DivX
- 62 Выбор папки; Отключение экрана; Повторно нажимайте DVD MENU.; Выбор видеофайла DivX; Возврат на предыдущий экран; • Если предустановлено количество раз
- 63 Возврат к меню; • Для воспроизведения без использования
- 64 Регулировки звучания; Дисплей; DIRECT MULTI
- 65 Применяется выбранный режим декодирования.; Отключение эффекта окружающего звучания
- 66 звукового эффекта в зависимости от диска или звукового потока.; звучание от ресивера S-AIR может пропадать.; Выбор режима звучания
- 67 • “BASS”: регулирует уровень басов; • В зависимости от режима звучания, эффект
- 68 • Функциями тюнера можно управлять,; • Номер предустановки можно выбрать; Функции тюнера
- 69 Отключение радио; • Для улучшения приема, отрегулируйте; При наличии шума в ЧМ-программе
- 70 * Отображается, если было введено название; • Система RDS может работать со сбоями, если; Прием вещания системы RDS; • При отображении названия радиостанции,
- 71 – Воспроизведение одним касанием; • В зависимости от подключенного; • Отображаемые параметры изменяются в
- 72 • При отображении [Проверьте соединение; • Воспроизведение одним касанием не
- 73 на пульте ДУ системы.; • Уровнем громкости системы можно; Данная система
- 75 • При прослушивании MP3 или музыки в; – Усилитель окружающего звучания:
- 76 • Если к основному блоку S-AIR не; • Для подтверждения текущего
- 77 • Идентификационный код (ID) можно легко; • Доя установки; • При использовании другого вторичного
- 79 Перед спариванием; • Отсоедините наушники от усилителя; • Для установки; Ваша комната
- 80 Отображается экран подтверждения.; • Для нажатия PAIRING на задней панели; • После шага 10, выполните спаривание в
- 81 Отмена спаривания
- 82 • При замене батареек пульта ДУ, кодовый; Нажмите и удерживайте TV; Телевизор; Другие операции; Производитель; по умолчанию
- 84 • Для приема сигнала Dolby Digital, требуется; • “MAIN”: Будет выводиться звучание; ANALOG; Нажав
- 85 • Для прослушивания других эффектов,; Отключение звукового эффекта; Нажмите SLEEP один раз.; Изменение оставшегося времени; SLEEP OFF
- 87 • При отключении сенсорных кнопок в режиме; • Даже если установлен режим “SIMPLE”, во
- 89 Загрузите диск и нажмите; Система начинает воспроизведение.; • При воспроизведении дисков без функции; • Если вы забыли пароль, извлеките диск и; Изменение пароля
- 90 • Убедитесь, что наушники не подключены к; • Гнездо ECM-AC2 используется только
- 92 • Настройкам воспроизведения на диске
- 93 • При выборе [ДРУГИЕ
- 94 • В зависимости от DVD, может автоматически
- 95 РАЗРЕШЕНИЕ HDMI; Настройки для HDMI
- 96 КОНТРОЛЬ ПО HDMI; ОГРАНИЧЕНИЕ ГРОМКОСТИ
- 97 РАЗРЕШЕНИЕ JPEG; • Данная функция доступна только при; АВТОКАЛИБРОВКА
- 98 ДИАПАЗОН; • [ДИАПАЗОН] срабатывает только для Dolby; ВЫБОР ДОРОЖКИ; • Если PCM, DTS, звучание Dolby Digital и; Другие настройки
- 99 ЗАСТАВКА
- 102 • Тестовые тональные сигналы не выводятся от; • Для одновременной регулировки уровня
- 103 • На шаге 3, если не нажать; • При включении системы после процедуры
- 104 Дополнительная информация
- 105 ВАЖНОЕ ПРЕДУПРЕЖДЕНИЕ
- 107 Признак
- 108 Картинка; Отсутствует картинка.
- 113 ин
- 117 • Формат диска не может
- 118 Раздел усилителя; * Звучание может отсутствовать в; Система DVD
- 120 Справочник
- 121 Родительский контроль
- 123 Указатель деталей и органов управления
- 124 Вентиляционные отверстия
- 125 Дисплей фронтальной панели; Об индикациях дисплея фронтальной панели; NTSC; qj
- 126 Сабвуфер; Нижняя часть сабвуфера
- 127 Усилитель окружающего звучания; Фронтальная панель
- 128 Пульт ДУ; АЛФАВИТНЫЙ ПОРЯДОК
- 129 • Экран Меню управления отображается только во время функции “DVD”.; Руководство по экрану Меню управления
- 130 Экран Меню управления; Пример: Экран Меню управления 1 при воспроизведении DVD VIDEO.; Список параметров Меню управления; DVD VIDEO; Параметр; Можно выбрать главу, сцену или дорожку для воспроизведения.
- 132 • Индикатор иконки Меню управления высвечивается желтым
- 133 Индекс












