Домашние кинотеатры Sony BDV-E980 - инструкция пользователя по применению, эксплуатации и установке на русском языке. Мы надеемся, она поможет вам решить возникшие у вас вопросы при эксплуатации техники.
Если остались вопросы, задайте их в комментариях после инструкции.
"Загружаем инструкцию", означает, что нужно подождать пока файл загрузится и можно будет его читать онлайн. Некоторые инструкции очень большие и время их появления зависит от вашей скорости интернета.

13
RU
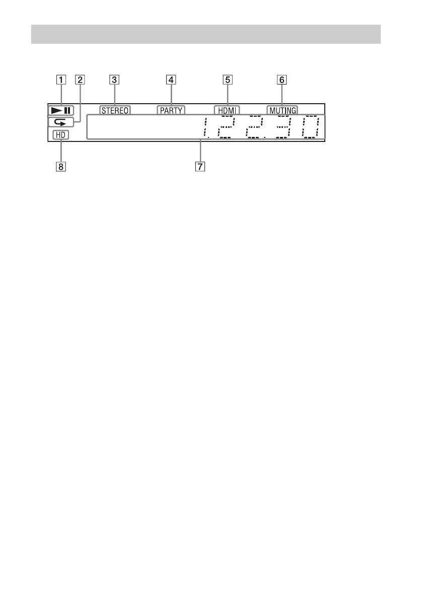
Индикация дисплея передней панели
A
Отображается состояние
воспроизведения системы.
B
Загорается при выборе повторного
воспроизведения.
C
Загорается при обнаружении
стереозвука. (Только радио)
D
Загорается при воспроизведении
системой содержимого с
использованием функции PARTY
STREAMING.
E
Загорается, если к гнезду HDMI
(OUT) правильно подключено
устройство с поддержкой HDCP
(High-bandwidth Digital Content
Protection) с входом HDMI или DVI
(Digital Visual Interface).
F
Загорается при выборе отключения
звука.
G
Отображается состояние системы,
например, радиочастота и т.д.
H
Загорается при выводе
видеосигнала 720p/1080i/1080p с
помощью гнезда HDMI (OUT) или
видеосигнала 720p/1080i с помощью
гнезд COMPONENT VIDEO OUT.
Дисплей передней панели
Содержание
- 2 ОСТОРОЖНО; ПРЕДУПРЕЖДЕНИЕ
- 5 • Указания в этих
- 7 Содержание
- 8 Распаковка
- 10 батареек в соответствии с метками внутри батарейного отсека.; Подготовка пульта дистанционного управления
- 11 Указатель деталей и элементов управления; Дополнительные сведения см. на страницах, указанных в скобках.; Передняя панель
- 12 О сенсорных кнопках/индикаторах
- 13 Индикация дисплея передней панели; Дисплей передней панели
- 18 Шаг 1. Установка системы; Устанавливайте систему в соответствии с рисунком ниже.; Начало работы; Размещение системы
- 19 О кабеле сабвуфера
- 20 Проложите кабель динамика через зазор в боковой части сабвуфера.
- 22 Шаг 2. Подключение системы; Подключение кабелей динамиков к динамику; без цветной трубки – к; Подключение динамиков
- 24 • При наличии на телевизоре гнезда HDMI: подключения; Подключение телевизора; Подключение видео
- 25 Подключение кабеля компонентного видеосигнала
- 26 , можно подключить с помощью; Подключение других компонентов
- 27 • Компонент без цифрового коаксиального выходного гнезда:
- 28 Подключение антенны
- 29 Шаг 3. Подключение к сети; Настройка проводного соединения
- 31 Нажмите кнопку; • Подключение видеокабеля:
- 32 “FM”
- 34 Шаг 6. Воспроизведение объемного звука; Способ установки зависит от функции.; Воспроизведение с помощью функции “BD/DVD”; На экране телевизора появится меню параметров.
- 35 Нажимайте кнопки; О выводе динамиков с каждым типом объемного звучания
- 37 Воспроизведение
- 38 • Подключите систему к 3D-; Выходное разрешение/Частота видео; Использование Blu-ray 3D
- 39 С помощью кнопок
- 41 Кнопка KARAOKE загорится.
- 42 Использование панели управления; Индикатор состояния сети
- 43 Выберите значок сервера DLNA в пункте; воспроизведение файлов
- 45 Доступные параметры; Общие параметры
- 48 Настройка звука
- 49 Нажимая кнопку
- 50 Нажимайте кнопку
- 51 Прослушивание радио; Автоматическая настройка; стереофоническом режиме.; Отключение радио; Нажмите; Тюнер
- 53 Прием радиосигналов RDS
- 54 Отключение питания системы; Воспроизведение одним нажатием; При нажатии кнопки; Управление Аудио Системой; • Если звук телевизора или других; Audio Return Channel; Прочие функции
- 56 Настройка динамиков
- 57 Прочие
- 58 Проверка оставшегося времени; Нажмите кнопку SLEEP один раз.; Изменение оставшегося времени; Кнопки на корпусе устройства (кроме
- 59 – Для параметра [Режим быстрого
- 60 Название страницы; Дисплей Интернет-браузера
- 61 Настройка сети; Открытие дисплея настроек
- 62 система
- 64 сеть защищена ключом WEP.
- 66 Настройки и регулировки
- 71 Можно выполнить настройки системы.
- 73 [Регистрация устройства Media
- 74 Дополнительная информация
- 75 • Не используйте чистящие диски или средства; Замена деталей устройства; О цветах телевизора; О переноске системы; Обращение с дисками
- 77 Поиск и устранение неисправностей; Общие
- 78 Изображение
- 83 DualDisc; Примечания о дисках
- 85 Поддерживаемые аудиоформаты; Указанные ниже аудиоформаты поддерживаются этой системой.
- 89 Указатель












