Домашние кинотеатры Sony BDV-E870 - инструкция пользователя по применению, эксплуатации и установке на русском языке. Мы надеемся, она поможет вам решить возникшие у вас вопросы при эксплуатации техники.
Если остались вопросы, задайте их в комментариях после инструкции.
"Загружаем инструкцию", означает, что нужно подождать пока файл загрузится и можно будет его читать онлайн. Некоторые инструкции очень большие и время их появления зависит от вашей скорости интернета.

10
RU
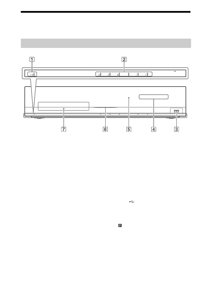
Указатель деталей и элементов управления
Дополнительные сведения см. на страницах, указанных в скобках.
A
"
/
1
(вкл/ожидание)
Используется для включения
устройства или его перевода в режим
ожидания.
B
Кнопки управления
воспроизведением
Z
(открыть/закрыть) (стр. 34)
Используется для открывания или
закрывания лотка для дисков.
N
(воспроизведение)
Используется для возобновления
воспроизведения (возобновление
воспроизведения).
Используется для демонстрации
слайдов при установке диска,
содержащего файлы изображений
JPEG.
x
(стоп)
Используется для остановки
воспроизведения с запоминанием
места остановки (точки
возобновления).
Точкой возобновления для главы или
дорожки является последняя
воспроизведенная точка, а для папки
с фотографиями – последняя
фотография.
FUNCTION
Используется для воспроизведения
источника.
VOLUME +/–
Используется для регулировки
громкости системы.
C
Порт
(USB) (стр. 36)
Используется для подключение
устройства USB.
D
Дисплей передней панели
E
(теледатчик)
F
Индикатор питания
Загорается при включенной системе.
G
Лоток для дисков (стр. 34)
Передняя панель
FUNCTION
VOLUME
VOLUME
Содержание
- 6 Содержание
- 7 Выходное разрешение
- 8 Распаковка
- 9 Подготовка пульта дистанционного управления
- 10 Указатель деталей и элементов управления; Дополнительные сведения см. на страницах, указанных в скобках.; Передняя панель
- 11 Индикация дисплея передней панели; Дисплей передней панели
- 12 Задняя панель
- 16 Шаг 1. Установка системы; Сабвуфер можно расположить в любом месте комнаты.; Начало работы; Размещение динамиков
- 17 Установка динамиков на стену
- 18 Отсоедините кабели динамика от динамика.
- 19 Вытащите кабель динамика из нижней части динамика.; Динамик в разобранном виде
- 20 без цветной трубки – к
- 21 Вкрутите винты в стену.
- 22 Шаг 2. Подключение системы; Подключение кабелей динамиков к устройству; При подключении к устройству вставьте разъем до щелчка.; Подключение динамиков
- 23 Подключение телевизора (подключение видеокабелей)
- 24 Подключение телевизора (подключение аудиокабелей)
- 25 цифровое коаксиальное выходное гнездо:; Подключение других компонентов
- 26 Подключение антенны
- 27 Выполнение сетевых настроек; Подсоединение к сети
- 28 Перед выполнением шага 3
- 30 “TUNER
- 31 Шаг 5. Воспроизведение объемного звука; Описание типов объемного звучания приведено в таблице ниже.; О выводе динамиков с каждым типом объемного звучания
- 34 Воспроизведение
- 35 • Подключите систему к 3D-; Выходное разрешение/Частота видео
- 36 Использование iPod; Совместимые модели iPod
- 37 С помощью кнопок; Использование панели управления; выберите операции воспроизведения.
- 38 Имя следующего видеофайла; Запуск вечеринки
- 39 Нажмите кнопку; выберите пункт [Завершение; Для выхода из вечеринки; выберите пункт [Выход из
- 40 Доступные параметры; Общие параметры
- 41 Системное меню отключится.
- 42 Настройка звука
- 43 Нажимая кнопку; Нажимайте кнопку
- 44 Низкие частоты можно усиливать.; Усиление низких частот
- 45 Прослушивание радио; Автоматическая настройка; стереофоническом режиме.; Отключение радио; Тюнер
- 47 отображается на дисплее; Прием радиосигналов RDS
- 48 Внешнее аудиоустройство
- 49 уд
- 51 “TUNER FM”
- 52 Отмена согласования
- 54 для включения системы.; Прочие функции
- 55 на пульте
- 58 Настройка динамиков
- 60 Проверка оставшегося времени; Нажмите кнопку SLEEP один раз.
- 61 Кнопки на корпусе устройства (кроме; Удерживая нажатой кнопку TV
- 62 – Для параметра [Режим быстрого
- 63 Настройки и регулировки
- 68 Можно выполнить настройки системы.
- 71 Дополнительная информация
- 72 • Не используйте чистящие диски или средства; Замена деталей устройства; О цветах телевизора; О переноске системы; Обращение с дисками
- 74 Поиск и устранение неисправностей; Питание
- 76 Звук
- 82 DualDisc; Примечания о дисках
- 84 Поддерживаемые аудиоформаты; Указанные ниже аудиоформаты поддерживаются этой системой.; Выходное разрешение видеосигнала
- 86 Общие
- 88 Глоссарий; Всплывающее меню
- 89 Dolby Digital
- 91 4p True Cinema
- 92 Указатель












