Домашние кинотеатры Sony BDV-E280 - инструкция пользователя по применению, эксплуатации и установке на русском языке. Мы надеемся, она поможет вам решить возникшие у вас вопросы при эксплуатации техники.
Если остались вопросы, задайте их в комментариях после инструкции.
"Загружаем инструкцию", означает, что нужно подождать пока файл загрузится и можно будет его читать онлайн. Некоторые инструкции очень большие и время их появления зависит от вашей скорости интернета.

9
UA
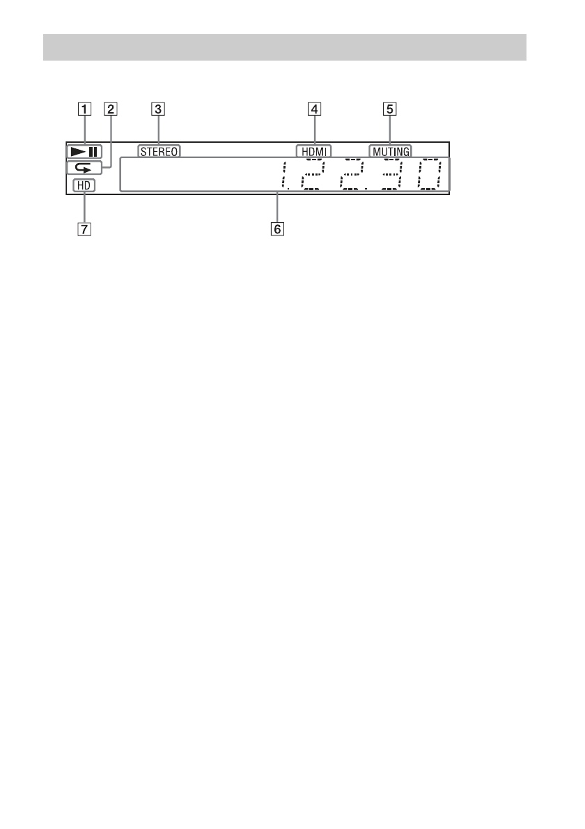
Індикація на екрані на передній панелі
A
Відображення стану відтворення
системи.
B
Підсвічується, якщо активовано
режим повторення відтворення.
C
Підсвічується у разі отримання
стереосигналу (тільки для радіо).
D
Підсвічується, коли гніздо HDMI
(OUT) правильно під’єднано до
пристрою, сумісного з HDCP (High-
bandwidth Digital Content Protection) і
обладнаного входом HDMI або DVI
(Digital Visual Interface).
E
Підсвічується, якщо звук вимкнено.
F
Відображення стану системи,
наприклад радіочастоти тощо.
G
Підсвічується під час виведення
відеосигналів 720p/1080i/1080p із
гнізда HDMI (OUT).
Екран на передній панелі
Содержание
- 2 ОСТОРОЖНО; ПРЕДУПРЕЖДЕНИЕ
- 5 • Указания в этих
- 6 Содержание
- 7 Распаковка; Подготовка пульта дистанционного управления
- 8 Указатель деталей и элементов управления; Дополнительные сведения см. на страницах, указанных в скобках.; Передняя панель
- 9 Индикация дисплея передней панели; Дисплей передней панели
- 10 Задняя панель
- 14 Шаг 1. Установка системы; Устанавливайте систему в соответствии с рисунком ниже.; Начало работы; Размещение системы
- 15 Шаг 2. Подключение системы; Подключение кабелей динамиков к устройству; Подключение динамиков
- 16 • При наличии на телевизоре гнезда HDMI: подключения; Подключение телевизора; Подключение видео
- 17 Подключение видеокабеля
- 18 , можно подключить с помощью; Подключение других компонентов
- 20 Подключение антенны
- 21 Шаг 3. Подключение к сети; Настройка проводного соединения
- 23 • Подключение видеокабеля:
- 25 Шаг 6. Воспроизведение объемного звука; Способ установки зависит от функции.; Воспроизведение с помощью функции “BD/DVD”; На экране телевизора появится меню параметров.; Воспроизведение с помощью функции “HDMI1”, “HDMI2”, “TV” или “AUDIO”; На дисплее передней панели отобразится меню параметров.
- 26 Нажмите кнопку; О выводе динамиков с каждым типом объемного звучания
- 28 Воспроизведение
- 29 • Подключите систему к 3D-; Использование Blu-ray 3D
- 30 Совместимые модели iPod/iPhone
- 33 С помощью кнопок; Использование панели управления; Индикатор состояния сети
- 34 Доступные параметры; Общие параметры
- 37 Настройка звука
- 39 Нажимайте кнопку
- 40 Прослушивание радио; Автоматическая настройка; стереофоническом режиме.; Отключение радио; Нажмите; Тюнер
- 41 Нажмите кнопку OPTIONS.; Прием радиосигналов RDS
- 43 Прочие; Отключение питания системы; Воспроизведение одним нажатием; При нажатии кнопки; Управление Аудио Системой; • Если звук телевизора или других; Audio Return Channel; Прочие функции
- 44 Настройка динамиков
- 46 Проверка оставшегося времени; Нажмите кнопку SLEEP один раз.; Изменение оставшегося времени; Кнопки на корпусе устройства (кроме
- 47 Удерживая нажатой кнопку TV
- 48 Возврат к предыдущей странице; Дисплей Интернет-браузера
- 50 Настройка сети; Открытие дисплея настроек
- 51 система
- 53 Отсутствие безопасности
- 54 Настройки и регулировки
- 59 Можно выполнить настройки системы.
- 61 [Сброс настроек к заводским
- 62 Дополнительная информация
- 63 Замена деталей устройства; О цветах телевизора; О переноске системы; Обращение с дисками
- 65 Поиск и устранение неисправностей; Общие
- 66 Изображение
- 70 USB-подключение к беспроводной локальной сети
- 71 DualDisc; Примечания о дисках
- 73 Поддерживаемые аудиоформаты; Указанные ниже аудиоформаты поддерживаются этой системой.
- 77 Указатель












