Диктофоны Explay VR-A71 - инструкция пользователя по применению, эксплуатации и установке на русском языке. Мы надеемся, она поможет вам решить возникшие у вас вопросы при эксплуатации техники.
Если остались вопросы, задайте их в комментариях после инструкции.
"Загружаем инструкцию", означает, что нужно подождать пока файл загрузится и можно будет его читать онлайн. Некоторые инструкции очень большие и время их появления зависит от вашей скорости интернета.

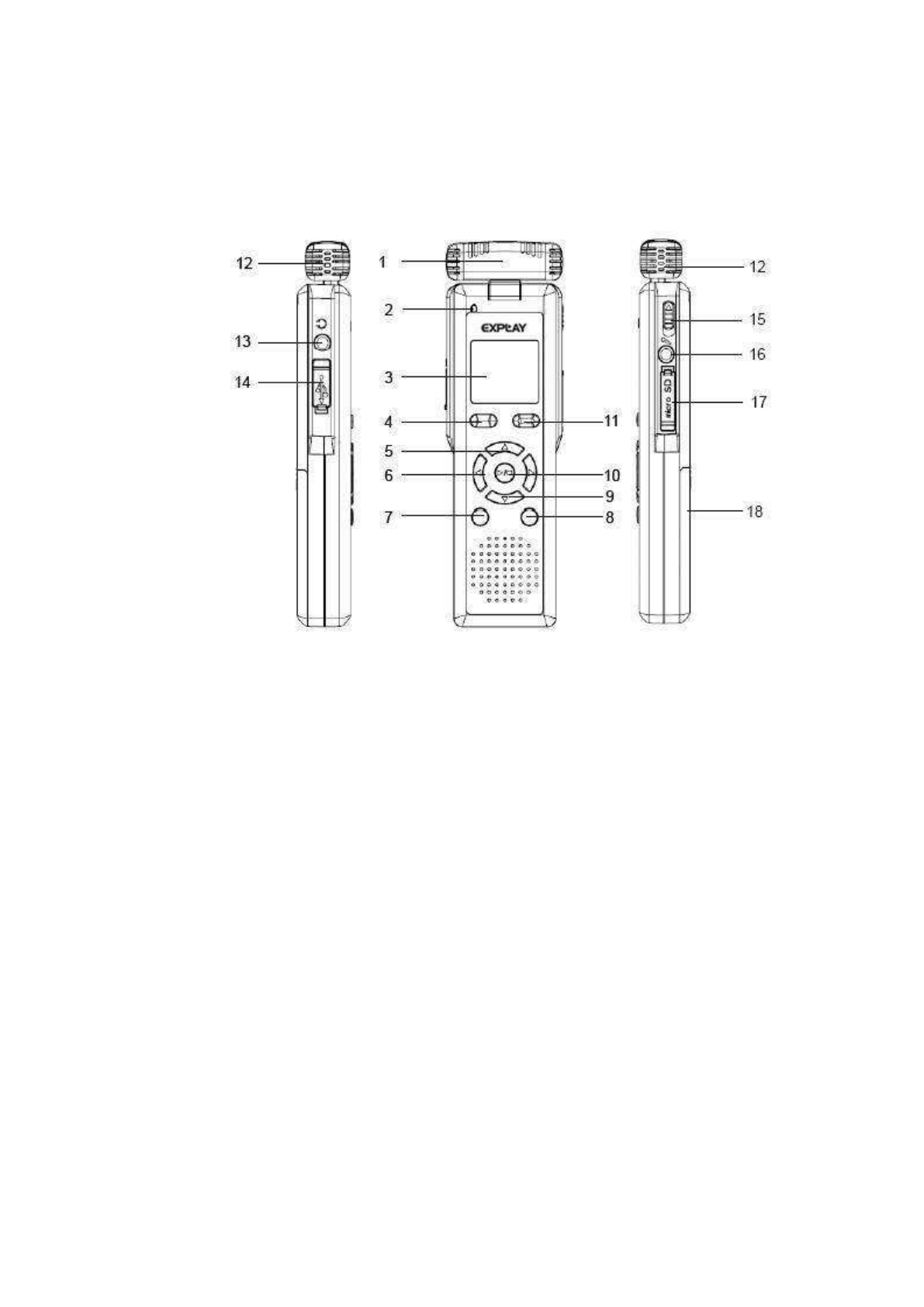
1.
т ое
о о
к о о
2.
д к то п
3.
Эк
4.
Кл
« е
»
5.
Кл
у ел е
о ко т / е
6.
Кл
« пе ёд/
д»
7.
Кл
пе екл
е
:
е
п
, о п о
еде е / п пк
(A/B/C/D)
8.
Кл
«п у »
9.
Кл
у е
е
о ко т /
10.
Кл
« о п о
е т / топ»
11.
т п
/о т о т п
12.
Д у к
л
т ое
к о о
13.
е до дл у
ко
14.
USB
ё
15.
Кл
лок о к
16.
е до дл е
е о
к о о
17.
лот дл к т
MicroSD
п
т
18.
К
к кку ул то