De Dietrich DPI7884XS - Инструкция по эксплуатации

De Dietrich DPI7884XS

Варочная панель De Dietrich DPI7884XS - инструкция пользователя по применению, эксплуатации и установке на русском языке. Мы надеемся, она поможет вам решить возникшие у вас вопросы при эксплуатации техники.

Если остались дополнительные вопросы — свяжитесь с нами через контактную форму.

1 Страница 1
2 Страница 2
3 Страница 3
4 Страница 4
5 Страница 5
6 Страница 6
7 Страница 7
8 Страница 8
9 Страница 9
10 Страница 10
11 Страница 11
12 Страница 12
Страница: / 12
Загрузка инструкции

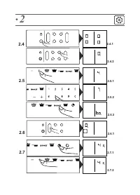
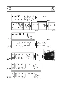
TABLE INDUCTION

INDUCTION HOB

PLACA DE INDUCCIÓN

PLACA DE INDUÇÃO

PŁYTA INDUKCYJNA

,1'8&7,(.22.3/$$7

,1'8.ý1Ë9$51È

DESKA

,1'8961ĕ/(71ĕ

T PLATNA

ǼȆǹīȍīǿȀǼȈǼȈȉǿǼȈ

FR

GUIDE D’UTILISATION

,//8675$7,216

EN

USER GUIDE

,//8675$7,216

ES

GUÍA DE UTILIZACIÓN

,/8675$&,21(6

PT

GUIA DE UTILIZAÇÃO

,/8675$d®(6

PL

INSTRUKCJA OBSŁUGI

,/8675$&-(

1/

+$1'/(,',1*,//8675$7,(6

&6

1È92'.328ä,7Ë2%5È=.<

6.

1È92'1$328ä,7,(2%5È=.<

Ǽȁ

ȅǻǾīǿǼȈȋȇǾȈǾȈǼǿȀȅȃǼȈ

"Загрузка инструкции" означает, что нужно подождать пока файл загрузится и можно будет его читать онлайн. Некоторые инструкции очень большие и время их появления зависит от вашей скорости интернета.

Характеристики

Другие модели - Варочные панели De Dietrich

Все варочные панели De Dietrich