Zanussi ZKT 663 LN/LX - инструкции и руководства
Варочная панель Zanussi ZKT 663 LN/LX - инструкции пользователя по применению, эксплуатации и установке на русском языке читайте онлайн в формате pdf
Инструкции:
Инструкция по эксплуатации Zanussi ZKT 663 LN/LX
1
2
3
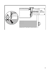
4
5
6
7
8
9
10
11
12
13
14
15
16
17
18
19
20
21
22
23
24
25
26
27
28
29
30
31
32
33
34
Zanussi Варочные панели Инструкции
-
Zanussi CKZ 642 KC
Инструкция по эксплуатации
-
Zanussi CKZ6432KM
Инструкция по эксплуатации
-
Zanussi CPZ 324 KC
Инструкция по эксплуатации
-
Zanussi CPZ 643 KM
Инструкция по эксплуатации
-
Zanussi CPZ 6431 KF
Инструкция по эксплуатации
-
Zanussi CPZ 6432 KF
Инструкция по эксплуатации
-
Zanussi CPZ 6466 KX
Инструкция по эксплуатации
-
Zanussi GPZ 262 HB/HW/HX
Инструкция по эксплуатации
-
Zanussi GPZ 262 SS
Инструкция по эксплуатации
-
Zanussi GPZ 263 LK
Инструкция по эксплуатации
-
Zanussi GPZ 263 SB/SN/SR/SS/SW
Инструкция по эксплуатации
-
Zanussi GPZ 363 LK
Инструкция по эксплуатации
-
Zanussi GPZ 363 SB/SS/SW
Инструкция по эксплуатации
-
Zanussi GPZ263SR
Инструкция по эксплуатации
-
Zanussi GPZ263SS
Инструкция по эксплуатации
-
Zanussi GPZ363SB
Инструкция по эксплуатации
-
Zanussi GPZ363SW
Инструкция по эксплуатации
-
Zanussi IPZ 3241 KC
Инструкция по эксплуатации
-
Zanussi IPZ 642 KC
Инструкция по эксплуатации
-
Zanussi IPZ 6443 KC
Инструкция по эксплуатации