Weissgauff Ita 60 PP BL - инструкции и руководства

model-name

Вытяжка Weissgauff Ita 60 PP BL - инструкции пользователя по применению, эксплуатации и установке на русском языке читайте онлайн в формате pdf

1 Page 1
2 Page 2
3 Page 3
4 Page 4
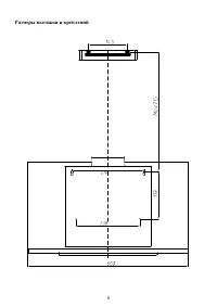
5 Page 5
6 Page 6
7 Page 7
8 Page 8
9 Page 9
10 Page 10
11 Page 11
12 Page 12
13 Page 13

Краткое содержание

Страница 2 - ознакомьтесь с местными правилами, касающимися; Предупреждение; перед подключением вытяжки, отключите подачу

2 ДЕКОРАТИВНАЯ ВЫТЯЖКА Уважаемый клиент, благодарим Вас за покупку нашего прибора. Пожалуйста, внимательно прочитайте эти инструкции для его оптимальной установки, использования и обслуживания. Установка вытяжки на стену (символ на рисунках) Предупреждение : ознакомьтесь с местными правилами, касающ...

Страница 3 - вытяжка может перестать работать во время

3 Меры предосторожности при использовании вытяжки Предупреждение : вытяжка может перестать работать во время электростатического разряда (например, молнии). Это не влечет за собой никакого риска повреждения. Выключите подачу электричества на прибор и через минуту снова подключите его. 1. Данное устр...

Страница 7 - Установка

7 Установка Если воздуховод соединен горизонтально, то требуется минимальный угол падения 1 см/м или наклон 2°. В противном случае конденсат попадет в двигатель вытяжки. Все инструкции, касающиеся воздухопроводности, не применимы для использования с режимом рециркуляции. Воздуховод Вытяжка Вытяжка с...

1 Page 1
2 Page 2
3 Page 3
4 Page 4
5 Page 5
6 Page 6
7 Page 7
8 Page 8
9 Page 9
10 Page 10
11 Page 11
12 Page 12
13 Page 13

Краткое содержание

Страница 2 - ознакомьтесь с местными правилами, касающимися; Предупреждение; перед подключением вытяжки, отключите подачу

2 ДЕКОРАТИВНАЯ ВЫТЯЖКА Уважаемый клиент, благодарим Вас за покупку нашего прибора. Пожалуйста, внимательно прочитайте эти инструкции для его оптимальной установки, использования и обслуживания. Установка вытяжки на стену (символ на рисунках) Предупреждение : ознакомьтесь с местными правилами, касающ...

Страница 3 - вытяжка может перестать работать во время

3 Меры предосторожности при использовании вытяжки Предупреждение : вытяжка может перестать работать во время электростатического разряда (например, молнии). Это не влечет за собой никакого риска повреждения. Выключите подачу электричества на прибор и через минуту снова подключите его. 1. Данное устр...

Страница 7 - Установка

7 Установка Если воздуховод соединен горизонтально, то требуется минимальный угол падения 1 см/м или наклон 2°. В противном случае конденсат попадет в двигатель вытяжки. Все инструкции, касающиеся воздухопроводности, не применимы для использования с режимом рециркуляции. Воздуховод Вытяжка Вытяжка с...

Weissgauff Вытяжки Инструкции