Страница 4 - ПРАВИЛА И УСЛОВИЯ БЕЗОПАСНОЙ ЭКСПЛУАТАЦИИ; РЕКОМЕНДАЦИИ ПО ТЕХНИКЕ БЕЗОПАСНОСТИ; БУДЬТЕ ОСТОРОЖНЫ! Опасность поражения электрическим током!
4 Встраиваемый электрический духовой шкаф EOA29*****, EOA291***** ПРАВИЛА И УСЛОВИЯ БЕЗОПАСНОЙ ЭКСПЛУАТАЦИИ Перед эксплуатацией внимательно изучите и соблюдайте настоящие инструкции по экс - плуатации и установке, а также все документы, прилагающиеся к прибору. Сохраните до - кументацию для дальнейш...
Страница 5 - УСТАНОВКА; БЕЗОПАСНОЕ ПОДСОЕДИНЕНИЕ К ЭЛЕКТРОСЕТИ
5 • Несоблюдение правил ухода за прибором или использование его в загрязненном виде сокращает срок службы прибора и может привести к несчастным случаям. • Данный прибор не предназначен для использования людьми (включая детей) с огра - ниченными физическими, сенсорными и умственными способностями, с ...
Страница 6 - При подключении к электросети:
6 • Проконсультируйтесь с квалифицированным электриком или мастером по ремонту, чтобы прибор был заземлен правильно. • Электрический вывод должен быть легко доступен, чтобы прибор можно было легко отключить от электросети в чрезвычайном случае. Иначе должна быть обеспечена воз - можность отключения ...
Страница 8 - Необходимые примечания для установки:
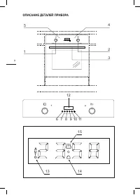
8 1 – ручка выбора режимов приготовления 2 – ручка выбора температуры 3 – ручка дверцы 4 – красный индикатор температуры 5 – желтый индикатор режимов 6 – кнопка обратного отсчета таймера 7 – кнопка продолжительности 8 – кнопка окончания приготовления 9 – кнопка ручной настройки 10/11 – кнопки плюс/м...
Страница 9 - СХЕМА ВСТРАИВАНИЯ
9 • Мебель, окружающая духовой шкаф должна быть устойчива к воздействию высоких температур. Рекомендуется, чтобы корпус мебели, в которую встраивается прибор, и клеевые соединения были бы устойчивы к высоким температурам, минимум – 70 о С, рекомендуемое - 95-100 о С. • Плита может быть установлена в...
Страница 10 - ИСПОЛЬЗОВАНИЕ ДУХОВОГО ШКАФА; ПЕРВИЧНОЕ ТЕХНИЧЕСКОЕ ОБСЛУЖИВАНИЕ И ЧИСТКА
10 Габариты прибора, мм Размеры встраивания, мм Высота 595 600 Ширина 595 560 Глубина 5 30 560 мин. ИСПОЛЬЗОВАНИЕ ДУХОВОГО ШКАФА Как только духовка установлена, необходимо удалить все заводские защитные материалы и снять пластиковую пленку с элементов духовки. При первом включении может появиться за...
Страница 11 - РЕЖИМ «AUTO» - УСТАНОВКА ПРОДОЛЖИТЕЛЬНОСТИ РАБОТЫ; УСТАНОВКА ВРЕМЕНИ ЗАВЕРШЕНИЯ РАБОТЫ ДУХОВКИ
11 димые временной интервал и по истечении данного времени раздастся звуковой сигнал окончания работы: - для установки таймера используйте кнопку (6): на дисплее отобразятся символы 00:00. - затем, нажимая «+» или «-» (кнопки 10 и 11 на панели управления), установите правиль - ный период времени. - ...
Страница 12 - ПРОГРАММИРОВАНИЕ ВРЕМЕНИ НАЧАЛА И ОКОНЧАНИЯ ПРИ-
12 - на дисплее отобразится индикатор режима (15). - установите необходимый режим приготовления с помощью ручки-селектора (1). - после этого будет возможно установить продолжительность приготовления: • нажмите кнопку окончания работы (8), на дисплее отобразится текущее время дня. Установите на диспл...
Страница 13 - РЕГУЛЯТОР ТЕМПЕРАТУРЫ:; РЕЖИМЫ РАБОТЫ ДУХОВОГО ШКАФА
13 РЕГУЛЯТОР ТЕМПЕРАТУРЫ: Для того чтобы использовать плиту, термостат должен быть отрегулирован на желаемую температуру. Ваш термостат можно регулировать в пределах 50-250 о С. Для того чтобы использовать плиту, поверните регулятор на желаемую температуру, в противном случае плита не будет работать...
Страница 14 - ТЕХНИЧЕСКОЕ ОБСЛУЖИВАНИЕ И ЧИСТКА
14 КАТАЛИТИЧЕСКИЕ ПАНЕЛИ: (опционально) – панели, покрытые специальным пористым покрытием, содержащим частицы катализа - тора, ускоряющего распад молекул жира на простейшие продукты — углекислый газ, воду и легкие органические остатки, легко удаляемого обычной влажной тканью. ИНДИКАТОРЫ ПРИГОТОВЛЕНИ...
Страница 17 - Экономия электроэнергии
1 7 Замена лампочки Для того чтобы заменить лампочку, отключите плиту от сети, выкрутите лампочку и замени - те на новую со следующими характеристиками: 25 Вт, 220-240В, 50Гц, цоколь G9 с темпера - турным сопротивлением 300°С или выше. Очистка паром • Наполните небольшую жаропрочную емкость водой (о...
Страница 18 - СОВЕТЫ ПО ПРИГОТОВЛЕНИЮ ПИЩИ; Приготовление пищи на двух полках; Выпечка; Приготовление пиццы
1 8 СОВЕТЫ ПО ПРИГОТОВЛЕНИЮ ПИЩИ Ваша духовка Weissgauff позволяет выбрать из разнообразных вариантов самый лучший способ приготовления того или иного блюда. Со временем вы научитесь наилучшим образом использовать разнообразные возможности плиты, следуя приведенным ниже указаниям. Приготовление пищи...
Страница 19 - Приготовление на гриле
1 9 Приготовление рыбы и мяса При приготовлении мяса, дичи и рыбы термостат следует устанавливать на температуру в интервале от 180 °С до 220 °С.При приготовлении мяса «с кровью», которое должно хорошо запечься снаружи, а внутри оставаться сочным и нежным, его сначала следует в течение короткого вре...
Страница 20 - КОМПЛЕКТАЦИЯ ПРОДУКЦИИ:
20 Утка 2.0 Нижний/ второй снизу 170-190 85-90 Гусь 3.0 Второй уровень снизу 140-160 110-130 Индейка 2.0 3.0 Второй уровень снизу Нижний/второй уровень снизу 180-200 160-180 110-130 150-180 КОМПЛЕКТАЦИЯ ПРОДУКЦИИ: Артикул Наименование Комплектация EOА291***** Независимый электрический духовой шкаф 6...