Thermex Combi IRP 200 V - инструкции и руководства

model-name

Водонагреватель Thermex Combi IRP 200 V - инструкции пользователя по применению, эксплуатации и установке на русском языке читайте онлайн в формате pdf

1 Page 1
2 Page 2
3 Page 3
4 Page 4
5 Page 5
6 Page 6
7 Page 7
8 Page 8
9 Page 9
10 Page 10
11 Page 11
12 Page 12
13 Page 13
14 Page 14
15 Page 15
16 Page 16

Краткое содержание

Страница 2 - hermex; Комплект поставки; Назначение

0,05 / 0,7 МПа 230/400 В~ , 50 Гц 6 кВт 3/4 " IPX4 0 + 3 ...+ 40 С 0 +18…+74 С ±5 0 С Давление в магистрали холодной воды, min / max Питающая электросеть – трехфазная (или однофазная), напряжение, частота Мощность трубчатого электронагревателя (ТЭНа) Диаметр резьбы патрубков подключения холодной...

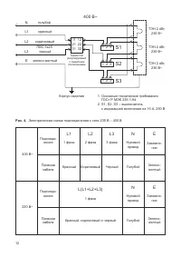
Страница 4 - Указание мер безопасности; только квалифицированным персоналом!; Принцип действия

Информация о месте нанесения и способе определения даты изготовления: Дата выпуска изделия закодирована в уникальном серийном номере, расположенном на идентификационной табличке (стикере), расположенной в нижней части на корпусе изделия. Серийный номер изделия состоит из тринадцати цифр. Третья и че...

Страница 8 - II

При подключении ЭВН в местах, не снабженных водопроводом, допускается подавать воду в ЭВН из вспомогательной емкости с использованием насосной станции, либо из емкости, размещённой на высоте не менее 5 метров от верхней точки ЭВН. Подключение к электросети Перед включением водонагревателя к электрич...

Thermex Водонагреватели Инструкции