Teka DPL 110 ISLA - инструкции и руководства
Вытяжка Teka DPL 110 ISLA - инструкции пользователя по применению, эксплуатации и установке на русском языке читайте онлайн в формате pdf
Инструкции:
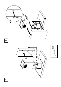
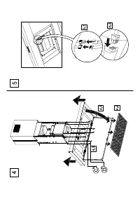
Инструкция по эксплуатации Teka DPL 110 ISLA
1
2
3
4
5
6
7
8
9
10
11
12
Teka Вытяжки Инструкции
-
Teka Built-in hood TL 6420
Инструкция по эксплуатации
-
Teka CC-40
Инструкция по эксплуатации
-
Teka CNL 6400
Инструкция по эксплуатации
-
Teka CNL 6400 BK
Инструкция по эксплуатации
-
Teka CNL 6400 WH
Инструкция по эксплуатации
-
Teka CNL 6815 PLUS
Инструкция по эксплуатации
-
Teka CNL1-3000
Инструкция по эксплуатации
-
Teka CNL1-9000
Инструкция по эксплуатации
-
Teka DEP 60 EHP
Инструкция по эксплуатации
-
Teka DG3 60
Инструкция по эксплуатации
-
Teka DG3 90
Инструкция по эксплуатации
-
Teka DG3 ISLA 980
Инструкция по эксплуатации
-
Teka DGE 60
Инструкция по эксплуатации
-
Teka DGE 90
Инструкция по эксплуатации
-
Teka DH2 60
Инструкция по эксплуатации
-
Teka DH2 90
Инструкция по эксплуатации
-
Teka DJE 60
Инструкция по эксплуатации
-
Teka DJE 90
Инструкция по эксплуатации
-
Teka DLH 686 T
Инструкция по эксплуатации
-
Teka DLV 985
Инструкция по эксплуатации