Tefal RK816E32 - инструкции и руководства
Мультиварка Tefal RK816E32 - инструкции пользователя по применению, эксплуатации и установке на русском языке читайте онлайн в формате pdf
Инструкции:
Инструкция по эксплуатации Tefal RK816E32
Краткое содержание
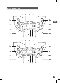
1 ПАНЕЛЬ УПРАВЛЕНИЯ ОПИСАНИЕ 1 Крышка 2 Внутренняя съемная крышка 3 Чаша мультиварки 4 Кнопка открывания крышки 5 Ручка 6 Гнездо шнура питания 7 Ложка для риса 8 Ложка для супа 9 Мерный стакан 10 Паровая корзина a 14 f k o l m n g i j h b c d e 13a 13c 13h 13d 13e 13b 13f 13g a 14 f k o l m n g i j ...
2 RU ПЕРЕД ПЕРВЫМ ИСПОЛЬЗОВАНИЕМ Распакуйте прибор • Достаньте прибор из упаковки и распакуйте все аксессуары и печатные документы. • Откройте крышку, нажав на кнопку открывания, расположенную на корпусе – рис.1 . Внимательно прочтите инструкции и следуйте методике работы. Очистка прибора • Вытащите...
3 УКАЗАНИЯ ПО УСТРОЙСТВУ И ВСЕМ ФУНКЦИЯМ • Тщательно протрите наружную часть чаши (особенно основание). Убедитесь в отсутствии остатков пищи или жидкости снизу чаши и на нагревательном элементе – рис.5 . • Поместите чашу в прибор, убедившись, что она установлена правильно – рис.6 . • Убедитесь в над...
4 RU ТАБЛИЦА ПРОГРАММ ПРИГОТОВЛЕНИЯ ПИЩИ Ф ункци я по дд ер ж ани я т еп ла дос тупна на Р учном режиме то льк о в том с лучае, ес ли она ес ть в режиме, на основе к от орой выс тав ля лись с обс твенные нас тройки. Например, ес ли мо дифик ации произво ди лись на основе режима «Йог ур т», гд е ф ун...
5 КЛАВИША МЕНЮ • В состоянии ожидания прибора нажмите на клавишу «Menu» [Меню], чтобы выбрать следующие функции: Запекание Приготовление на пару Тушение Образование корочки/ жарка Разморозка Детское питание/Бобовые* Каша Йогурт Суп/Кипячение Десерт Рис/Крупы Плов/ Ризотто Паста/Пельмени* Тесто Подог...
6 RU • Для выбора функции «Steam» [Пароварка], нажмите на клавишу «Menu» [Меню]. На экране отобразится заданное по умолчанию время приготовления и подсветка кнопки «Start» [Запуск] начнет мерцать красным. Затем нажмите на клавиши «<» или «>», чтобы выбрать тип продуктов: овощи, рыба, птица или...
7 • Для выбора функции «Crust Fry» [Жарка], нажмите на клавишу «Menu» [Меню]. На экране отобразится заданное по умолчанию время приготовления и подсветка кнопки «Start» [Запуск] начнет мерцать красным. Затем нажмите на клавиши «<» или «>», чтобы выбрать тип продуктов: овощи, рыба, птица или мя...
8 RU ФУНКЦИЯ РАЗМОРОЗКА • Нажмите кнопку «Menu» [Меню], чтобы выбрать функцию «Defrost» [Разморозка]. На экране появится время разморозки по умолчанию, индикатор кнопки «Start» [Запуск] начнет мигать красным. Затем нажимайте кнопку «<» или «>», чтобы выбрать тип продукта: овощи, рыба, птица ил...
10 RU ФУНКЦИЯ ПРИГОТОВЛЕНИЯ КАШИ • Для выбора функции «Porridge» [Каша] нажмите на клавишу «Menu» [Меню]. На экране отобразится заданное по умолчанию время приготовления и подсветка кнопки «Start» [Запуск] начнет мерцать красным. • Нажмите на клавишу «Температура / Таймер», чтобы активировать функци...
11 ВЫБОР ИНГРЕДИЕНТОВ ДЛЯ ЙОГУРТАМолоко Какое молоко следует использовать? Все наши рецепты (за исключением отдельно обозначенных случаев) готовятся с применением коровьего молока. Вы можете использовать растительное молоко, например соевое, а также овечье или козье, но, в этом случае, плотность йог...
12 RU • Из одного из Ваших недавно приготовленных йогуртов – он должен быть натуральным и приготовленным недавно. Это называется культивирование. После пяти операций культивирования использованный йогурт теряет активные ферменты и, следовательно, его структура может стать менее плотной. Затем необхо...
13 ФУНКЦИЯ ПРИГОТОВЛЕНИЯ ДЕСЕРТА • Для выбора функции «Dessert» [Десерт], нажмите на клавишу «Menu» [Меню]. На экране отобразится заданное по умолчанию время приготовления, и подсветка кнопки «Start» [Запуск] начнет мерцать красным. • Нажмите на клавишу «Temperature / Timer» [Температура / Таймер], ...
14 RU ФУНКЦИЯ ПРИГОТОВЛЕНИЯ ПЛОВА/РИЗОТТО • Для выбора функции «Pilaf/Risotto» [Плов/Ризотто], нажмите на клавишу «Menu» [Меню]. На экране отобразится « », подсветка кнопки «Start» [Запуск] начнет мерцать, нажмите на кнопку «Start» [Запуск]. Мультиварка перейдет в режим «Pilaf/Risotto» [Плов/ Ризотт...
15 ФУНКЦИЯ ПРИГОТОВЛЕНИЯ ПАСТЫ* • Для приготовления пасты, важно дождаться, когда вода достигнет нужной температуры, прежде чем добавлять пасту. • Для выбора функции «Pasta*» [Паста*], нажмите на клавишу «Menu» [Меню]. На экране отобразится заданное по умолчанию время приготовления, и подсветка кноп...
16 RU ФУНКЦИЯ ПЕЛЬМЕНИ* ФУНКЦИЯ РАССТОЙКИ ТЕСТА • При приготовлении пельменей важно дождаться, пока вода достигнет правильной температуры перед добавлением в нее пельменей. • Для выбора функции «Dumplings*» [Пельмени*], нажмите на клавишу «Menu» [Меню]. На экране отобразится заданное по умолчанию вр...
17 ФУНКЦИЯ ПОДОГРЕВА • Этот режим предназначен для подогрева уже приготовленной пищи. • Для выбора функции «Reheat» [Подогрев], нажмите на клавишу «Menu» [Меню]. На экране отобразится заданное по умолчанию время приготовления и подсветка кнопки «Start» [Запуск] начнет мерцать красным. • Нажмите на к...
18 RU ФУНКЦИЯ ПОДДЕРЖАНИЕ ТЕПЛА/ОТМЕНА У этой клавиши - 2 разных функции: Поддержание тепла и Отмена. 1. Функция поддержания тепла: 1.1 Ручная функция поддержания тепла: Вы можете нажать на клавишу «Keep warm/Cancel» [Поддержание тепла/Отмена] вручную, включится индикатор функции «Keep warm/ Cancel»...
22 RU ОЧИСТКА И УХОД • Перед проведением чистки и технического обслуживания, убедитесь, что мультиварка отключена от сети и полностью остыла. • Настоятельно рекомендуется очищать прибор после каждого использования при помощи губки – рис.12 . • Чашу, внутренняя съемную крышку, стакан и ложки для риса...
23 • Не используйте воду для чистки корпуса прибора внутри, поскольку это может повредить датчик нагрева. Описание неисправности Причины Решения Лампочка любого индикатора не горит и нагрев не осуществляется. Прибор не подключен к сети питания. Проверьте, включен ли шнур питания в розетку и в сеть. ...
25 ЗАЩИТА ОКРУЖАЮЩЕЙ СРЕДЫ Помогите защитить окружающую среду! Ваш прибор содержит материалы, пригодные для переработки и вторичного использования. Отнесите его в местный гражданский пункт сбора отходов. Примечание: Если внутренняя чаша деформирована, не используйте ее и замените на новую в авторизо...
Tefal Мультиварки Инструкции
-
Tefal CY601832 Home Chef Smart Multicooker
Инструкция по эксплуатации
-
Tefal CY621
Инструкция по эксплуатации
-
Tefal CY621D34
Инструкция по эксплуатации
-
Tefal CY625D32
Инструкция по эксплуатации
-
Tefal CY625F32
Инструкция по эксплуатации
-
Tefal CY753832 TURBO CUISINE
Инструкция по эксплуатации
-
Tefal CY754130
Инструкция по эксплуатации
-
Tefal CY754830
Инструкция по эксплуатации
-
Tefal Effectual RK745832
Инструкция по эксплуатации
-
Tefal Essential RK321A32
Инструкция по эксплуатации
-
Tefal ExpertCook RK802B32
Инструкция по эксплуатации
-
Tefal Fuzzy Logic RK807D32
Инструкция по эксплуатации
-
Tefal Fuzzy Spherical RK745132
Инструкция по эксплуатации
-
Tefal FW201815
Инструкция по эксплуатации
-
Tefal Mini RK601132
Инструкция по эксплуатации
-
Tefal RK321A32
Инструкция по эксплуатации
-
Tefal RK321A32 Essential Cook
Инструкция по эксплуатации
-
Tefal RK321A34
Инструкция по эксплуатации
-
Tefal RK601132
Инструкция по эксплуатации
-
Tefal RK601132 Mini
Инструкция по эксплуатации