Страница 2 - СОДЕРЖАНИЕ
СОДЕРЖАНИЕ Уважаемый покупатель! Благодарим за приобретение автомобильного ресивера SUPRA. Внимательно ознакомьтесь с данным ру-ководством перед установкой и началом работы с аппаратом и сохраните его для обращения к нему в дальнейшем. Меры предосторожности .............................................
Страница 3 - МЕРЫ ПРЕДОСТОРОЖНОСТИ
МЕРЫ ПРЕДОСТОРОЖНОСТИ Данное устройство рассчитано на электросистему автомобиля с напряжением 12 В постоянного тока с минусом на корпусе, аппарат не предназначен для подключения к источнику питания +24 В (напри-мер, в автобусе или грузовике). Воспроизведение на высокой громкости в течение длительног...
Страница 4 - ПОРЯДОК УСТАНОВКИ И ИЗВЛЕЧЕНИЯ ПРОИГРЫВАТЕЛЯ
Меры предосторожности при установке Устанавливайте устройство так, чтобы оно не ме-шало водителю управлять автомобилем, а также не могло нанести травму пассажирам в случае резкой остановки автомобиля. Отключите «-» клемму аккумулятора перед на-чалом установки для снижения вероятности по-вреждения ап...
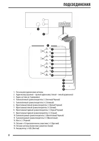
Страница 7 - ПОДСОЕДИНЕНИЯ
ПОДСОЕДИНЕНИЯ ВНИМАНИЕ: Если подсоединения выполнены неправильно, • это может вызвать повреждение изделия, в таком случае прибор не подлежит ремонту по гарантии. Выполняйте присоединения в точном соответ- • ствии со схемой присоединений. В случае воз- никновения сомнений в правильности присое- динен...
Страница 9 - ПЕРЕДНЯЯ ПАНЕЛЬ
ПЕРЕДНЯЯ ПАНЕЛЬ 9 Кнопки передней панели 1. MODE Кнопка выбора режима работы аппарата 2. BAND Кнопка переключения диапазонов 3. Цифровая кнопка 14. P /DIR- Кнопка поиска радиостанций вниз по диапазону / перехода к предыдущей звуковой дорожке / перехода в предыдущую папку 5. SEL/PWR Кнопка включения/...
Страница 10 - ОСНОВНЫЕ ОПЕРАЦИИ
ОСНОВНЫЕ ОПЕРАЦИИ Включение и выключение проигрывателя Нажмите кнопку PWR (5), чтобы включить устрой- ство. Если прибор включен, нажмите и удерживай-те кнопку PWR (5), чтобы выключить его. Регулировка громкости/настройка звука Последовательно нажимайте кнопку SEL (5), чтобы выбрать параметр настройк...
Страница 11 - УПРАВЛЕНИЕ РАДИОПРИЕМНИКОМ
УПРАВЛЕНИЕ РАДИОПРИЕМНИКОМ Выбор режима радиоприемника Последовательно нажимайте кнопку MODE (1), что- бы выбрать режим радиоприемника, при этом на дисплее отобразятся частотный радио диапазон и частота вещания. Выбор частотного диапазона В режиме радиоприемника последовательно нажи-майте кнопку BAN...
Страница 12 - УПРАВЛЕНИЕ ВОСПРОИЗВЕДЕНИЕМ
УПРАВЛЕНИЕ ВОСПРОИЗВЕДЕНИЕМ Управление вОспрОизведением с УстрОйств USB Переход в режим воспроизведения с устройств USB Разъем для подключения устройств USB (9) распо-ложен на передней панели устройства. Подключите накопитель USB к этому разъему.После подключения устройства USB ресивер авто-матическ...
Страница 14 - ВОЗМОЖНЫЕ НЕПОЛАДКИ И СПОСОБЫ ИХ УСТРАНЕНИЯ
ВОЗМОЖНЫЕ НЕПОЛАДКИ И СПОСОБЫ ИХ УСТРАНЕНИЯ 14 Инициализация системы Для инициализации системы нажмите кнопку RESET (18) шариковой ручкой или другим заостренным ме- таллическим предметом. Инициализацию системы необходимо выполнить в следующих случаях:– при первом включении после выполнения всех подс...
Страница 15 - БЕЗОПАСНАЯ УТИЛИЗАЦИЯ
БЕЗОПАСНАЯ УТИЛИЗАЦИЯ Ваше устройство спроекти-ровано и изготовлено из высококачественных мате-риалов и компонентов, ко-торые можно утилизировать и использовать повторно.Если товар имеет символ с зачеркнутым мусорным ящиком на колесах, это означает, что товар соответствует Европейской ди-рективе 200...
Страница 16 - ТЕХНИЧЕСКИЕ ХАРАКТЕРИСТИКИ
16 ТЕХНИЧЕСКИЕ ХАРАКТЕРИСТИКИ Общие характеристики Напряжение питания: постоянный ток +12 B (на корпусе «–»)Габаритные размеры: 178 (Ш) х 107 (Г) х 50 (В) ммРегулировка тембра нижних частот ±10 дБ при 100 ГцРегулировка тембра верхних частот ±10 дБ при 10 ГцМаксимальная выходная мощность: 4 х 40 ВтПо...
Страница 17 - СПИСОК СЕРВИСНЫХ ЦЕНТРОВ
СПИСОК СЕРВИСНЫХ ЦЕНТРОВ Город Название СЦ Обслуживаемые бренды Телефон (приемка) Адрес Абакан Экран CAR-audio, Бытовая тех, Hi-Fi тех. (3902) 23-39-27 Пр-т Дружбы Народов, д. 29 Арзамас Техносервис CAR-audio, Бытовая тех, Hi-Fi тех. (83147) 3-07-40 7-73-82 ул. 9 Мая, д. 4 Армавир Форет CAR-audio, Б...