Страница 3 - Twage A9; Содержание
3 Twage A9 Содержание Инструкция по эксплуатации автосигнализации Компоненты , входящие в комплект автосигнализации .................................... 4 Технические характеристики автосигнализации ............................................... 4 Возможности автосигнализации .........................
Страница 5 - Возможности
5 Twage A9 Возможности автосигнализации Охраняемые зоны автомобиля и способы их защиты · Двигатель – от запуска ( реле блокировки ) · Двери , капот , багажник – от открывания ( кнопочные выключатели ) · Стояночный тормоз – от выключения ( кнопочный выключатель ) · Кузов , колеса , окна – от толчков ...
Страница 7 - Брелки; StarLine Twage
7 Twage A9 Брелки управления Автосигнализация выполняет заложенные в нее функции либо автоматически , либо по сигналам брелка при нажатии кнопок . Часть предусмотренных функций и н е к о т о р ы е п а р а м е т р ы р а б о т ы с и с т е м ы м о г у т и з м е н я т ь с я п у т е м программирования . ...
Страница 8 - Назначение
8 Инструкция по эксплуатации и установке Кнопка 1 • Программируемая команда (0,5 сек ) • Дистанционный запуск и остановка двигателя (3 сек ) • Включение режима охраны при работающем двигателе (3 сек ) Кнопка 2 • Команда , соответствующая текущему положению курсора на дисплее брелка (0,5 сек ) • Отпи...
Страница 9 - CR
9 Twage A9 Назначение кнопок дополнительного брелка Кнопка 1 • Включение и выключение режима охраны (0,5 сек ) • Управление каналом № 3 (3 сек ) Кнопка 2 • Запуск и остановка двигателя (0,5 сек ) • Продление времени работы двигателя (3 сек ) • Включение режима охраны при работающем двигателе (3 сек ...
Страница 11 - Valet
11 Twage A9 Иконки с цифровым обозначением – индикация состояния сигнализации и автомобиля 1. Индикация разряженной батареи брелка 2. Активизация дополнительного канала 2 3. Режим автозапуска по температуре 4. Двигатель запущен 5. Багажник открыт 6. Двери открыты 7. Режим оповещения вибрацией 8. Слу...
Страница 12 - П р и м е ч а н и е
12 Инструкция по эксплуатации и установке Программирование кнопки 1 основного брелка Назначение кнопки 1 основного брелка программируется и может изменяться самим владельцем автомобиля неограниченное число раз . Для удобства пользования сигнализацией рекомендуется запрограммировать эту кнопку для вк...
Страница 13 - CHECK; Установка; ON
13 Twage A9 Автоматический возврат положения курсора на команду CHECK Для удобства пользования брелком и исключения случайного включения режимов и функций сигнализации через 10 секунд после последнего нажатия кнопок брелка происходит автоматический возврат текущего положения курсора на команду CHECK...
Страница 14 - Быстрая; Выбор
14 Инструкция по эксплуатации и установке Для выхода из режима установки будильника нажмите и удерживайте кнопку 3 брелка до появления 1 короткого звукового сигнала или дождитесь автоматического выхода . Включенный режим будильника на дисплее брелка индицируется иконкой . При срабатывании будильника...
Страница 15 - MUTE; Режим; Примечание
15 Twage A9 При включении режима оповещения вибрацией последуют 2 вибросигнала , на дисплее появится индикатор MUTE . При включении режима звукового оповещения последует мелодичный сигнал , индикатор MUTE исчезнет . П р и м е ч а н и е . Далее инструкция по эксплуатации сигнализации написана с учето...
Страница 16 - В н и м а н и е
16 Инструкция по эксплуатации и установке Включение режима охраны со звуковыми сигналами Перед включением режима охраны убедитесь , что зажигание выключено , двери , капот , багажник надежно закрыты , стояночный тормоз включен . Для включения режима охраны нажмите кнопку 1 брелка ( кнопка 1 должна б...
Страница 17 - Внимание
17 Twage A9 Включение режима охраны при работающем двигателе В сигнализации предусмотрена возможность включения режима охраны при работающем двигателе . Это может быть необходимо при кратковременной остановке . Максимальное время , в течение которого двигатель будет работать , определяется запрограм...
Страница 18 - AUTO ARM
18 Инструкция по эксплуатации и установке Автоматическое включение режима охраны ( программируемая функция ) Если функция автоматического включения режима охраны запрограммирована , то после выключения зажигания и закрытия последней двери последуют 1 сигнал сирены и 1 вспышка габаритов . Через 10 се...
Страница 23 - Защитные; Сигналы
23 Twage A9 Причина тревоги Иконка на дисплее Длительность одного цикла тревоги Макс . кол - во циклов при постоянно срабатывающем датчике Макс . кол - во циклов при периодически срабатывающем датчике 1 уровень датчика удара 3 сигнала 6 вспышек 8 подряд 8 2 уровень датчика удара 20 сек . звук 20 сек...
Страница 27 - Сервисные
27 Twage A9 Сервисные функции Дистанционное отключение и включение датчика удара В с и г н а л и з а ц и и п р е д у с м о т р е н а в о з м о ж н о с т ь дистанционного отключения / включения датчика удара по уровням неограниченное количество раз в течении одного цикла охраны . П р и н е о б х о д ...
Страница 31 - Вариант
31 Twage A9 Управление дополнительным каналом № 1 ( дистанционное отпирание багажника ) Канал № 1 ( желто - черный провод ) может быть активизирован независимо от состояния системы и использован для дистанционного отпирания багажника . Если канал активизирован при включенном режиме охраны , то зоны ...
Страница 34 - Светодиодная
34 Инструкция по эксплуатации и установке Режим работы сигнализации Тип мигания светодиодного индикатора Двигатель запущен дистанционно Горит постоянно Режим турботаймера включен Горит постоянно Режим иммобилизатора включен Горит постоянно Режим охраны выключен Не горит Режим охраны включен Медленно...
Страница 35 - Запуск
35 Twage A9 Запуск двигателя Для реализации функции дистанционного и автоматического запуска двигателя на этапе установки сигнализации должны быть запрограммированы : Тип коробки переключения передач автомобиля ( КПП ) - автоматическая или ручная . При ручной КПП необходимо разрезать проволочную пет...
Страница 36 - Дистанционный
36 Инструкция по эксплуатации и установке После успешного проведения вышеописанной процедуры автомобиль будет подготовлен к запуску двигателя . Внимание ! Если после выключения зажигания по п .3, происходит резкое изменение холостых оборотов двигателя или двигатель глохнет , рекомендуется запрограмм...
Страница 37 - Ежедневный
37 Twage A9 4. Когда время прогрева закончится , и двигатель будет остановлен , на дисплее брелка отобразится надпись r00, иконка исчезнет . За один цикл запуска двигателя система может предпринять 4 попытки запуска . Если после 4 попыток двигатель не запустится , то на дисплее отобразится надпись ,...
Страница 39 - Пример; Дистанционное
39 Twage A9 Пример . Текущее время на брелке 7:18 PM. Установленное время будильника 7:20 PM. Запуск по будильнику произойдет ровно через 10 минут . После проверки текущего времени и установки будильника установите курсор на иконку START и нажмите кнопку 2 брелка . Последуют 1 сигнал сирены и 1 вспы...
Страница 41 - Запись
41 Twage A9 Запись кодов брелков Всего в память сигнализации можно записать 4 брелка . Запись кодов брелков производится при выключенном режиме охраны в следующем порядке : 1. Включите зажигание . 2. Нажмите и удерживайте сервисную кнопку Valet до появления 4 сигналов сирены . 3. Для записи основног...
Страница 45 - Рекомендации
45 Twage A9 Рекомендации по размещению и монтажу компонентов Система StarLine Twage может быть установлена на автомобили с напряжением аккумулятора 12 В и отрицательным полюсом на корпусе . Центральный блок разместите в салоне в скрытом месте , предпочтительнее под приборной панелью – в этом случае ...
Страница 47 - ACC
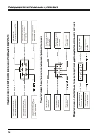
47 Twage A9 Подключение датчика температуры двигателя Датчик температуры двигателя подключается к центральному блоку с помощью 2- проводного кабеля . Один из проводов кабеля подключите к оранжево - серому проводу ( входу кнопочного выключателя капота ) 18- контактного разъема центрального блока , а ...
Страница 51 - StarLine
51 Twage A9 Подключение внешней цепи блокировки двигателя c использованием универсального комплекта беспроводной блокировки StarLine Данный способ блокировки двигателя существенно повышает противоугонные свойства сигнализации . Для управления модулем , входящим в универсальный комплект беспроводной ...
Страница 52 - салонного
52 Инструкция по эксплуатации и установке синий провод ( выход доп . канала 4) сине - черный провод ( вход кнопок дверей ) 86 85 30 87 а 87 +12 В концевые выключатели в дверях +12 В лампа салонного света Сигнализация имеет выход , который может быть использован для подключения к салонному освещению ...
Страница 53 - Подключение
53 Twage A9 Подключение к системе центрального запирания Сигнализация StarLine Twage имеет встроенные реле управления центральным замком . Контакты реле выведены на 6- контактный разъем . Нагрузочная способность встроенных реле 15 А . Длительность управляющих импульсов программируется ( функция 9). ...
Страница 55 - Схемы
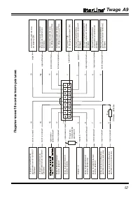
55 Twage A9 Схемы подключения сервисная кнопка Valet c ветодиодный индикатор кнопка включения режима антиограбления Д Д двухуровневый датчик удара модуль приемопередатчика с кнопкой вызова и датчиком температуры CALL 18- контактный разъем 6- контактный разъем ЦЗ 6- контактный разъем автозапуска S ta...
Страница 59 - Гарантийные; Условия
59 Twage A9 Гарантийные обязательства Гарантийное обслуживание данного вида оборудования осуществляется предприятием , осуществляющим его продажу с учетом условий указанных ниже . Качество установки оборудования подтверждается соответствующими гарантийными документами фирмы - установщика . Условия г...