Russell Hobbs 20760-56 - инструкции и руководства
Чайник Russell Hobbs 20760-56 - инструкции пользователя по применению, эксплуатации и установке на русском языке читайте онлайн в формате pdf
Инструкции:
Инструкция по эксплуатации Russell Hobbs 20760-56
1
2
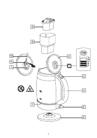
3
4
5
6
7
8
9
10
11
12
13
14
15
16
17
18
19
20
21
22
23
24
25
26
27
28
29
30
31
32
33
34
35
36
37
38
39
40
41
42
43
44
45
46
47
48
49
50
51
52
53
54
55
56
57
58
59
60
61
62
63
64
65
66
67
68
69
70
71
72
73
74
75
76
Russell Hobbs Чайники Инструкции
-
Russell Hobbs 20412-70
Инструкция по эксплуатации
-
Russell Hobbs 20415-70
Инструкция по эксплуатации
-
Russell Hobbs 20417-70
Инструкция по эксплуатации
-
Russell Hobbs 20460-70
Инструкция по эксплуатации
-
Russell Hobbs 21040-70
Инструкция по эксплуатации
-
Russell Hobbs 21150-70
Инструкция по эксплуатации
-
Russell Hobbs 21270-70
Инструкция по эксплуатации
-
Russell Hobbs 21274-70
Инструкция по эксплуатации
-
Russell Hobbs 21281-70
Инструкция по эксплуатации
-
Russell Hobbs 21885-70
Инструкция по эксплуатации
-
Russell Hobbs 21963-70
Инструкция по эксплуатации
-
Russell Hobbs 23840-70
Инструкция по эксплуатации
-
Russell Hobbs 23912-70
Инструкция по эксплуатации
-
Russell Hobbs 23930-70
Инструкция по эксплуатации
-
Russell Hobbs 24190-70
Инструкция по эксплуатации
-
Russell Hobbs 24191-70
Инструкция по эксплуатации
-
Russell Hobbs 24360-70
Инструкция по эксплуатации
-
Russell Hobbs 24363-70
Инструкция по эксплуатации
-
Russell Hobbs 24402-70
Инструкция по эксплуатации
-
Russell Hobbs 24404-70
Инструкция по эксплуатации