Roda ILW 100 W УТ000008250 - инструкции и руководства

model-name

Водонагреватель Roda ILW 100 W УТ000008250 - инструкции пользователя по применению, эксплуатации и установке на русском языке читайте онлайн в формате pdf

1 Page 1
2 Page 2
3 Page 3
4 Page 4
5 Page 5
6 Page 6
7 Page 7

Краткое содержание

Страница 3 - обеспечивает хорошее

3 Предохранительный клапан не относится к поставке. На месте установки необходимо обеспечивать соответствующую водопроводную и канализационную сеть. Воду, вытекающую из предохранительного клапана, необходимо вывести в канализации. Отвод вытекающей воды не нужен только тогда, когда в систему встраива...

Страница 5 - A Вход первичной системы

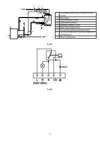
5 Список патрубков: 1. Бытовая горячая вода G3/4 2. Бытовая горячая вода G3/4 3. Циркуляционный патрубок G3/4 4. Проходящая отопительная вода G1 5. Возвратная отопительная вода G1 6. Патрубок радиатора Rp6/4 2. рис. E 8 5 6 4 F B A D 7 3 C 1 2 9 G 6 8 5 9 3. рис. Тип H A Поверхность змеевика (м 2 ) ...

Страница 7 - Hajdusagi Ipari Zrt.

7 Произведено для компании Germany Адрес производственных мощностей: HAJDU Hajdusagi Ipari Zrt. HUNGARY-4243 Teglas, Kulterulet 0135/9. hrsz.

Roda Водонагреватели Инструкции