Страница 6 - возможности, картонной коробкой и упаковочным материалом.; Оглавление
6 Портативный пылесос бытовой POLARIS Модель PVCS 0725 РУКОВОДСТВО ПО ЭКСПЛУАТАЦИИ Благодарим Вас за выбор продукции, выпускаемой под торговой маркой POLARIS. Наши изделия разработаны в соответствии с высокими требованиями качества, функциональности и дизайна. Мы уверены, что Вы будете довольны прио...
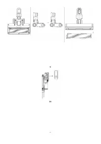
Страница 8 - Использование аксессуаров.; необходимый; ЭКСПЛУАТАЦИЯ
8 Убедитесь в том, что все комплектующие прибора не повреждены. Сборка пылесоса: Внимание! Узлы пылесоса изготовлены из пластика и тщательно подогнаны друг к другу. Во избежание повреждения фиксаторов и посадочных мест не применяйте силу при сборке. Следите за тем, чтобы детали устанавливались в...
Страница 11 - ХРАНЕНИЕ; Убедитесь в том, что прибор отключен от сети.; ТРАНСПОРТИРОВКА; Правила реализации не установлены.
11 1. Выключите прибор. Адаптер должен быть отключен от сети и отсоединен от прибора. 2. Отсоедините электрощётку от трубы, нажав на кнопку фиксатора. 3. При небольшом количестве волос и ниток, намотавшихся на щетинный валик, их можно срезать ножом без снятия щетинного валика с корпуса щётки. Для эт...
Страница 12 - ТРЕБОВАНИЯ ПО УТИЛИЗАЦИИ
12 ТРЕБОВАНИЯ ПО УТИЛИЗАЦИИ По окончании срока эксплуатации электроприбора не выбрасывайте его вместе с обычными бытовыми отходами, а передайте в официальный пункт сбора на утилизацию. Таким образом, Вы поможете сохранить окружающую среду. Отходы, образующиеся при утилизации изделий, подлежат обязат...
Страница 13 - СПЕЦИАЛЬНЫЕ УКАЗАНИЯ ПО БЕЗОПАСНОСТИ ПРИ РАБОТЕ С ПЫЛЕСОСОМ
13 Неожиданная остановка электрощётки во время работы прибора Электрощётка засорилась волосами, нитками, шерстью, и т.п. мусором. Произведите очистку щетинного валика электрощётки. При отсутствии вращения очищенного валика обратитесь в СЦ. Внимание! Если с помощью описанных выше шагов Вы не можете у...
Страница 14 - Не используйте прибор, если вы не уверены в его работоспособности.; Не разбирайте адаптер!; Не производите зарядку аккумулятора до его полного разряда.
14 использование прибора в коммерческих целях может привести к его перегрузке, в результате чего он может быть поврежден или может нанести вред здоровью людей. Прибор должен быть использован только по назначению в соответствии с данным Руководством. Каждый раз перед включением прибора осмотрите ...
Страница 15 - ТЕХНИЧЕСКИЕ ХАРАКТЕРИСТИКИ; Режим работы; ИНФОРМАЦИЯ О СЕРТИФИКАЦИИ; Произведено в Китае
15 ТЕХНИЧЕСКИЕ ХАРАКТЕРИСТИКИ PVCS 0725 – пылесос бытовой электрический торговой марки POLARIS Объем пылесборочного контейнера: 0,5 л Источник питания: аккумуляторная батарея Li-Ion 2200 мАч 22,2 В Время зарядки АКБ: при первом использовании 8-10 ч, затем 4-4,5 ч Время работы от АКБ с электрощеткой:...
Страница 16 - ГАРАНТИЙНОЕ ОБЯЗАТЕЛЬСТВО
16 На заводе: №38 Эйгехао Роуд, округ Сяншен, Сучжоу, 215134, Сучжоу Провак Текнолоджи Ко., Лтд (№38 Aigehao Road, Xiangcheng District, Suzhou, 215134, China, S uzhou Provac Technology Co., Ltd ) Китай ГАРАНТИЙНОЕ ОБЯЗАТЕЛЬСТВО Изделие: Пылесос бытовой электрический Модель: PVCS 0725 Настоящая гаран...