Страница 2 - Оглавление; Общая информация; Прибор предназначен исключительно для использования в быту.
2 Конвекционный обогреватель POLARIS Модель: PCH 1050, PCH 1551, PCH 2052 Руководство по эксплуатации Благодарим Вас за выбор продукции, выпускаемой под торговой маркой POLARIS. Наши изделия разработаны в соответствии с высокими требованиями качества, функциональности и дизайна. Мы уверены, что Вы б...
Страница 3 - Ни в коем случае не погружайте прибор в воду или другие жидкости.; Специальные указания по безопасности данного прибора; метра от передней решётки, задней и боковых сторон.
3 Ни в коем случае не погружайте прибор в воду или другие жидкости. Для дополнительной защиты целесообразно установить устройство защитного отключения (УЗО). Обратитесь за советом к квалифицированному специалисту. Включайте прибор только в источник переменного тока (~). Перед включением убедит...
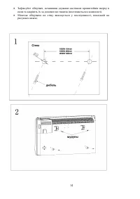
Страница 5 - Монтаж и установка обогревателя; нет электрической проводки
5 Руководство пользователя – 1 шт. Список сервисных центров – 1шт. Гарантийный талон – 1 шт. Упаковка (полиэтиленовый пакет + коробка) 7. Монтаж и установка обогревателя Настенный монтаж: Внимание! Перед тем как сверлить отверстия в стене, убедитесь, что в этом месте нет электрической проводки О...
Страница 6 - Напольная установка:; Переверните обогреватель.
6 Напольная установка: 1. Переверните обогреватель. 2. Совместите отверстия на перекладинах колес с отверстиями, расположенными на нижней части корпуса обогревателя. 3. Закрепите перекладины колес с помощью винтов, входящих в комплект. 4. Переверните прибор и установите обогреватель на ровной твердо...
Страница 7 - Эксплуатация прибора; Функции защиты; Чистка и уход
7 8. Эксплуатация прибора Вставьте вилку в розетку. Убедитесь, что вилка плотно вставлена в розетку. Для быстрого обогрева помещения установите термостат на высокий уровень обогрева, повернув его по часовой стрелке до упора. При достижении нужной температуры установите более низкие параметры для...
Страница 9 - Класс защиты – I; Информация о сертификации; года со дня покупки
9 Класс защиты – I Примечание: Вследствие постоянного процесса внесения изменений и улучшений, между инструкцией и изделием могут наблюдаться некоторые различия. Производитель надеется, что пользователь обратит на это внимание. 14. Информация о сертификации Прибор сертифицирован на соответствие норм...
Страница 10 - иных деталей с ограниченным сроком использования
10 15. ГАРАНТИЙНОЕ ОБЯЗАТЕЛЬСТВО Изделие: Конвекционный обогреватель Модели: PCH 1050, PCH 1551, PCH 2052 Настоящая гарантия предоставляется изготовителем в дополнение к правам потребителя, установленным действующим законодательством, и ни в коей мере не ограничивает их. Настоящая гарантия действует...