Patriot PT 41LM - инструкции и руководства

Газонокосилка Patriot PT 41LM - инструкции пользователя по применению, эксплуатации и установке на русском языке читайте онлайн в формате pdf

1 Page 1
2 Page 2
3 Page 3
4 Page 4
5 Page 5
6 Page 6
7 Page 7
8 Page 8

Краткое содержание

Страница 2 - АРТИКУЛ

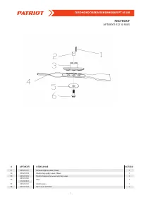
– 2 – ГАЗОНОКОСИЛКА БЕНЗИНОВАЯ РТ 41 LM РИСУНОК A АРТИКУЛ: 512 10 9005 # АРТИКУЛ ОПИСАНИЕ КОЛ-ВО A1 20340040000 Накладка на рукоятку 1 A2 70500040000 Верхняя рукоятка 1 A3 70540052000 Рычаг остановки двигателя 1 A4 20350010000 Ограничитель ручки 2 A5 70230090000 Направляющая шнура запуска 1 A6 60130...

Страница 3 - ГАЗОНОКОСИЛКА БЕНЗИНОВАЯ РТ 41 LM; РИСУНОК B

– 3 – ГАЗОНОКОСИЛКА БЕНЗИНОВАЯ РТ 41 LM # АРТИКУЛ ОПИСАНИЕ КОЛ-ВО B1 19970070000 Двигатель в сборе 1 B2 70740600000 Основной корпус 1 B3 20400070000 Корпус пластиковый под выброс травы 1 B4 20170010000 Заслонка 1 B5 60170290000 Винт ST6.3X14 8 B6 70290050000 Кронштейн заднего правого привода 1 B7 70...

Страница 5 - РИСУНОК D

– 5 – ГАЗОНОКОСИЛКА БЕНЗИНОВАЯ РТ 41 LM # АРТИКУЛ ОПИСАНИЕ КОЛ-ВО D1 70850600000 Вал колес (задний) 1 D2 70870010000 Рычаг регулировки высоты 1 D3 005510128 Рукоятка рычага регулировки высоты 1 D4 60060520000 Болт М6х12 2 D5 60200030000 Шайба 13х20х2 4 D6 005510129 Втулка (подшипник) заднего колеса ...

Patriot Газонокосилки Инструкции