Niagara NG-4301-08 - инструкции и руководства
Душевая кабина Niagara NG-4301-08 - инструкции пользователя по применению, эксплуатации и установке на русском языке читайте онлайн в формате pdf
Инструкции:
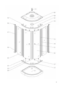
Инструкция по эксплуатации Niagara NG-4301-08
1
2
3
4
5
6
7
8
9
10
11
12
13
14
15
16
17
Niagara Душевые кабины Инструкции
-
Niagara NG-8308-14
Инструкция по эксплуатации
-
Niagara NG-5301-14
Инструкция по эксплуатации
-
Niagara NG-3304-14
Инструкция по эксплуатации
-
Niagara NG-7507-14
Инструкция по эксплуатации
-
Niagara NG-7309-14
Инструкция по эксплуатации
-
Niagara NG-7310-14R
Инструкция по эксплуатации
-
Niagara NG-7714G
Инструкция по эксплуатации
-
Niagara NG-2308-14G
Инструкция по эксплуатации
-
Niagara NG-2309-14G
Инструкция по эксплуатации
-
Niagara NG-3302-14G
Инструкция по эксплуатации
-
Niagara NG-3301-14G
Инструкция по эксплуатации
-
Niagara NG-3502-14G
Инструкция по эксплуатации
-
Niagara NG-3501-14G
Инструкция по эксплуатации
-
Niagara NG-214-01LN
Инструкция по эксплуатации
-
Niagara NG-7717G
Инструкция по эксплуатации
-
Niagara NG-901-01
Инструкция по эксплуатации
-
Niagara NG-902-01
Инструкция по эксплуатации
-
Niagara NG-5150-01
Инструкция по эксплуатации
-
Niagara NG-5170-01
Инструкция по эксплуатации
-
Niagara NG-3502-14
Инструкция по эксплуатации