MSI Mag Artymis 242C - инструкции и руководства
Монитор MSI Mag Artymis 242C - инструкции пользователя по применению, эксплуатации и установке на русском языке читайте онлайн в формате pdf
Инструкции:
Инструкция по эксплуатации MSI Mag Artymis 242C
1
2
3
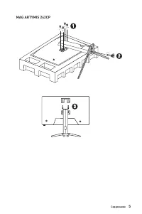
4
5
6
7
8
9
10
11
12
13
14
15
16
17
18
19
20
21
22
23
24
25
26
27
28
29
30
31
32
MSI Мониторы Инструкции
-
MSI 9S6-3PA1CT-055
Инструкция по эксплуатации
-
MSI Artymis 273CQR-QD (9S6-3CC05T-014)
Инструкция по эксплуатации
-
MSI Artymis 273CQRX-QD (9S6-3CB95T-001)
Инструкция по эксплуатации
-
MSI ARTYMIS 343CQR
Инструкция по эксплуатации
-
MSI CURVED Optix341CQR
Инструкция по эксплуатации
-
MSI G2412
Инструкция по эксплуатации
-
MSI G2412 (9S6-3BA41T-066)
Инструкция по эксплуатации
-
MSI G24C4
Инструкция по эксплуатации
-
MSI G2712
Инструкция по эксплуатации
-
MSI G273
Инструкция по эксплуатации
-
MSI G27C5
Инструкция по эксплуатации
-
MSI G27C6
Инструкция по эксплуатации
-
MSI G27CQ4P
Инструкция по эксплуатации
-
MSI G321CQP
Инструкция по эксплуатации
-
MSI G321CU (9S6-3DC51A-001)
Инструкция по эксплуатации
-
MSI G32CQ4
Инструкция по эксплуатации
-
MSI G32CQ4 E2
Инструкция по эксплуатации
-
MSI MAG251RX
Инструкция по эксплуатации
-
MSI MAG272CQR
Инструкция по эксплуатации
-
MSI MAG274QRF
Инструкция по эксплуатации