Mongoose AMG-700plus - инструкции и руководства
Автосигнализация Mongoose AMG-700plus - инструкции пользователя по применению, эксплуатации и установке на русском языке читайте онлайн в формате pdf
Инструкции:
Инструкция по эксплуатации Mongoose AMG-700plus
1
2
3
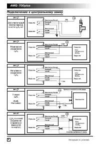
4
5
6
7
8
Mongoose Автосигнализации Инструкции
-
Mongoose AMG-850C
Инструкция по эксплуатации
-
Mongoose EMS 1.7R
Инструкция по эксплуатации
-
Mongoose EMS 1.9R
Инструкция по эксплуатации
-
Mongoose Smart Screen
Инструкция по эксплуатации
-
Mongoose Immobilizer
Инструкция по эксплуатации
-
Mongoose Expert 800
Инструкция по эксплуатации
-
Mongoose EMS 7.0
Инструкция по эксплуатации
-
Mongoose DX-3DS
Инструкция по эксплуатации
-
Mongoose DX-1Zone
Инструкция по эксплуатации
-
Mongoose Duplex 3D
Инструкция по эксплуатации
-
Mongoose Duplex 2.2
Инструкция по эксплуатации
-
Mongoose Duplex
Инструкция по эксплуатации
-
Mongoose Cyborg Start
Инструкция по эксплуатации
-
Mongoose Cyborg
Инструкция по эксплуатации
-
Mongoose Base 50
Инструкция по эксплуатации
-
Mongoose Base 30
Инструкция по эксплуатации
-
Mongoose Base 275
Инструкция по эксплуатации
-
Mongoose Base 20
Инструкция по эксплуатации
-
Mongoose AMG-800 B
Инструкция по эксплуатации
-
Mongoose AMG-770
Инструкция по эксплуатации