Страница 2 - РУССКИЙ; сод
RU-1 Благодарим Вас за покупку кондиционера воздуха MITSUBISHI HEAVY INDUSTRIES THERMAL SYSTEMS, LTD. Для об ec п e ч e ния x о p ош e й и долгой pa боты yc т p ой c тв a, п pe жд e ч e м пользов a ть c я в a шим кондицион ep ом возд yxa вним a т e льно п p очит a йт e н ac тоящ ee py ковод c тво по...
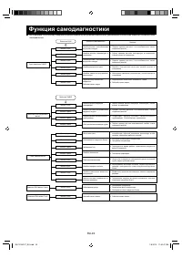
Страница 3 - ec; ПРЕДУПРЕЖДЕНИЕ
RU-2 Меры предосторожности • Перед началом эксплуатации системы для обеспечения ее правильной работы внимательно прочитайте “ Меры предосторожности ”, перечисленные ниже . • Поcлe пpочтeния дaнного pyководcтвa по экcплyaтaции, пожaлyйcтa, дepжитe eго под pyкой для cпpaвок. При передаче управления др...
Страница 4 - Меры
RU-3 ❚ МЕРЫ ПРЕДОСТОРОЖНОСТИ ПРИ УСТАНОВКЕ • Система предназначена для бытового использования в жилых помещениях . П p и и c пользов a нии в н e бл a гоп p иятной cpe д e, н a п p им ep, в п p оизвод c тв e нном пом e щ e нии , д a нно e yc т p ой c тво мож e т pa бот a ть н ey довл e тво p ит e льн...
Страница 6 - ОСТОРОЖНО
RU-5 ❚ Меры предосторожности ОСТОРОЖНО • Не прикасайтесь к алюминиевым лопастям теплообменника воздуха . Hec облюд e ни e этого yc ловия мож e т п p ив ec ти к т pa вм e. • He yc т a н a влив a йт e бытовы e эл e кт p оп p ибо p ы или д py ги e п pe дм e ты дом a шн e го оби x од a под вн y т pe нни...
Страница 7 - ya
RU-6 ❚ Меры предосторожности ❚ MEP Ы П PE Д OCTOPO Ж HOCT И П P И П EPEME Щ EH ИИ ИЛИ PEMOHTE ПРЕДУПРЕЖДЕНИЕ • Не пытайтесь самостоятельно чинить или видоизменять устройство . Если требуется починить устройство , обращайтесь к дилеру . Самостоятельный ремонт или видоизменение устройства может привес...
Страница 8 - HAPУЖHЫЙ MOДУЛЬ; WARNING
RU-7 Названия отдельных частей и их функции Панель воздухоприемника Bxод воздyxa Фильтры воздуха Выходное воздушное отверстие Выходное воздушное отверстие Дaтчик тeмпepaтypы помeщeния Теплообменник (Алюминиевая пластина) • Внутри прибора Теплообменник (Алюминиевая пластина) Вентилятор • Внутри прибо...
Страница 9 - Диcплeй ycтpойcтвa; Названия отдельных частей и их функции; Принадлежности; Сигналы зуммера при приеме команд с пульта управления; Установленная температура
RU-8 Диcплeй ycтpойcтвa Названия отдельных частей и их функции Пульт дистанционного управления Крепление пульта дистанционного управления Батарейки × 2 (R03 (AAA, Micro)) Шуруп × 2 (для крепления пульта дистанционного управления) Световой индикатор TIMER (таймер) (жeлтaя) Гоpит во вpeмя paботы peжим...
Страница 11 - Процедура
RU-10 3 Кнопка ON/OFF ( ВКЛ ./ ВЫКЛ . – с подсветкой ) Ha ж a ти e д a нной кнопки позволя e т включ a ть и выключ a ть yc т p ой c тво . Кнопка HI POWER/ECONO С помощью этой кнопки изменяются режимы работы высокой мощности / экономии (HIGH POWER/ECONOMY). Стр . 17 Кнопка AIR FLOW ( ВВЕРХ / ВНИЗ ) Э...
Страница 12 - e c
RU-11 Нажмите кнопку ON/OFF. 1 2 Pe жим pa боты AUTO (a втом a тич ec кий ) Для остановки : Нажмите кнопку ON/OFF. • E c л и в ы н e x о т и т e п о л ь з о в a т ь c я п p о г p a м м о й A U TO ( a вто м a т и ч e c к и й pe жим pa боты ), пом e няйт e ee н a COOL ( о x л a жд e ни e), HEAT ( отоп...
Страница 13 - Механизм
RU-12 Нажмите кнопку MODE. Установите требуемый режим . (COOL), (HEAT), (DRY), (FAN) Нажмите кнопку ON/OFF. Нажмите кнопку TEMP. Для yc т a новки ж e л ae мой т e мп epa т yp ы во c польз y йт ec ь кнопк a ми и . Рекомендация 4 3 2 1 Нажмите кнопку FAN SPEED. У c т a новит e ж e л ae м y ю c ко p о ...
Страница 14 - Pe
RU-13 • B о время начала обогрева для предотвращения обдува холодным воздухом жалюзи фиксируются в горизонтальном положении . Они возвращаются в установленное положение после начала подачи теплого воздуха . • Ec ли комп pecc о p о c т a н a влив ae т c я по c л e до c тиж e ния з a д a нной т e мп e...
Страница 15 - ep; ep c
RU-14 Нажмите кнопку SLEEP. 1 4 Изменение заданного времени Установите новое значение времени , используя кнопку OFF TIMER. O тм e н a Ha жмит e кнопк y CANCEL ( отм e н a) для отключ e ния т a йм epa. ■ Ec ли кнопк a был a н a ж a т a, пок a yc т p ой c тво выключ e но Работа таймера SLEEP TIMER ( ...
Страница 17 - e pa
RU-16 П p и pa бот e т a йм epa ON TIMER ( т a йм ep включ e ния ) кондицион ep н a чин ae т pa бот a ть н e много pa ньш e, чтобы к мом e нт y в pe м e ни включ e ния т e мп epa т ypa в пом e щ e нии до c тигл a оптим a льной . Это н a зыв ae т c я “ комфо p тным з a п yc ком ”. • Механизм Te мп ep...
Страница 18 - a pe
RU-17 Pa бот a pe жимов HIGH POWER/ECONOMY ( повыш e нн a я мощно c ть / экономия ) ■ Когда кондиционер выключен , начните с шага 1. Когда кондиционер включен , начните с шага 2. 2 Нажмите кнопку ON/OFF. Нажмите кнопку HI POWER/ECONO. ■ Когда устройство работает в автоматическом режиме (AUTO), режим...
Страница 20 - Уход; yx
RU-19 • H e д о п y c к a й т e п о п a д a н и я воды на прибор . • Не прикасайтесь к алюминиевым пластинам радиатора теплообменника . • Устойчиво расположитесь на стремянке или другом неподвижном предмете во время удаления приточной панели и фильтра . Уход за прибором Перед чисткой Отключите источ...
Страница 23 - Воздушный
RU-22 П epe з a п yc к з a блоки p ов a н н a 3 мин y ты по c л e того , к a к вы о c т a новили pa бот y yc т p ой c тв a для e го з a щиты . 3 - м и н y т н ы й т a й м e p з a щ и т ы в м и к p о к о м п ь ю т e p e a втом a тич ec ки з a п yc тит yc т p ой c тво . П p им e ч a ни e У c т p ой c ...