МЕГЕОН 02005 - инструкции и руководства
Измерительный прибор МЕГЕОН 02005 - инструкции пользователя по применению, эксплуатации и установке на русском языке читайте онлайн в формате pdf
Инструкции:
Инструкция по эксплуатации МЕГЕОН 02005
1
2
3
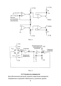
4
5
6
7
8
9
10
11
12
13
14
МЕГЕОН Измерительные приборы Инструкции
-
МЕГЕОН 98060
Инструкция по эксплуатации
-
МЕГЕОН 98025
Инструкция по эксплуатации
-
МЕГЕОН 92132
Инструкция по эксплуатации
-
МЕГЕОН 92131
Инструкция по эксплуатации
-
МЕГЕОН 92130
Инструкция по эксплуатации
-
МЕГЕОН 92020
Инструкция по эксплуатации
-
МЕГЕОН 71016
Инструкция по эксплуатации
-
МЕГЕОН 71010
Инструкция по эксплуатации
-
МЕГЕОН 71003
Инструкция по эксплуатации
-
МЕГЕОН 71001
Инструкция по эксплуатации
-
МЕГЕОН 70001
Инструкция по эксплуатации
-
МЕГЕОН 55911
Инструкция по эксплуатации
-
МЕГЕОН 51010
Инструкция по эксплуатации
-
МЕГЕОН 45003
Инструкция по эксплуатации
-
МЕГЕОН 43500
Инструкция по эксплуатации
-
МЕГЕОН 43300
Инструкция по эксплуатации
-
МЕГЕОН 43200
Инструкция по эксплуатации
-
МЕГЕОН 431000
Инструкция по эксплуатации
-
МЕГЕОН 43100
Инструкция по эксплуатации
-
МЕГЕОН 43050
Инструкция по эксплуатации