LEX EDP 092 MG IX - инструкции и руководства
Печь LEX EDP 092 MG IX - инструкции пользователя по применению, эксплуатации и установке на русском языке читайте онлайн в формате pdf
Инструкции:
Инструкция по эксплуатации LEX EDP 092 MG IX
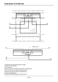
1
2
3
4
5
6
7
8
9
10
11
12
13
14
15
16
17
18
19
20
21
22
23
24
25
26
27
28
29
LEX Печи Инструкции
-
LEX EDM 070 C BL/IV
Инструкция по эксплуатации
-
LEX EDM 072 C IV
Инструкция по эксплуатации
-
LEX EDM 073 C IV
Инструкция по эксплуатации
-
LEX EDM 4540 bl
Инструкция по эксплуатации
-
LEX EDM 4540 BL/IX
Инструкция по эксплуатации
-
LEX EDM 4540 IX
Инструкция по эксплуатации
-
LEX EDM 6070 C BL
Инструкция по эксплуатации
-
LEX EDM 6070 C BL/IV/WH
Инструкция по эксплуатации
-
LEX EDM 6070C WH
Инструкция по эксплуатации
-
LEX EDM 6072 C IV
Инструкция по эксплуатации
-
LEX EDM 6072 C Iv Light
Инструкция по эксплуатации
-
LEX EDM 6073 C IV
Инструкция по эксплуатации
-
LEX EDM 6075 C IV
Инструкция по эксплуатации
-
LEX EDM 050 IX
Инструкция по эксплуатации
-
LEX EDM 070 BL
Инструкция по эксплуатации
-
LEX EDP 4590 BL Matt Edition
Инструкция по эксплуатации
-
LEX EDP 4571 BL
Инструкция по эксплуатации
-
LEX EDP 092 BL
Инструкция по эксплуатации
-
LEX EDP 092 IX
Инструкция по эксплуатации
-
LEX EDP 093 IX
Инструкция по эксплуатации