Страница 4 - Содержание; Важная информация по технике безопасности
i Содержание Содержание Важная информация по технике безопасности Использование компьютерного оборудования ................... 1 Вид компьютера спереди ........................................................................2 Вид компьютера слева и справа ...............................................
Страница 5 - ii
ii Содержание Диагностика и проверка настроек ....................................... 23 Поиск и устранение неполадок отображения ......................................24 Диагностика проблем, связанных со звуком .......................................25 Диагностика проблем, связанных с программным о...
Страница 6 - Использование
Эта глава состоит из следующих разделов: Обзор аппаратной части компьютера Подключение компьютера Примечание. В зависимости от модели и конфигурации компьютера его компоненты могут отличаться от описанных в этой главе. Руководство пользователя 1 Использование компьютерного оборудования
Страница 7 - Вид компьютера спереди
2 Руководство пользователя Вид компьютера спереди Внимание! Не закрывайте вентиляционные отверстия компьютера. Если вентиляционные отверстия закрыты, то перегрев может вывести компьютер из строя. 1 2 3 7 6 5 4 8 9 10 C340 / C345 / C440 / C445 / C540 Встроенный микрофон Встроенная камера Индикатор же...
Страница 9 - Вид компьютера слева и справа
4 Руководство пользователя Вид компьютера слева и справа Внимание! Не закрывайте вентиляционные отверстия компьютера. Если вентиляционные отверстия закрыты, то перегрев может вывести компьютер из строя. 1 2 3 6 5 4 7 8 USB-разъем Разъем наушников Разъем микрофона USB-разъем Устройство чтения карт па...
Страница 10 - Вид компьютера сзади
5 Руководство пользователя Вид компьютера сзади 7 8 1 2 6 5 4 3 C340 / C345 / C440 / C445 / C540 : C355 / C455 : Разъем ТВ-тюнера (только в некоторых моделях) Разъем питания Разъем Ethernet USB-разъем USB-разъем Разъем HDMI-out (только в некоторых моделях) Гнездо кабеля безопасности Вентиляционные о...
Страница 11 - Установка подставки компьютера
6 Руководство пользователя Установка подставки компьютера 1. Приподнимите подставку. 2. Совместите подставку с крепежными отверстиями в держателе подставки и установите подставку на место. 1 2 3. Вытащите винт и закрепите подставку на держателе с помощью винта. 3 4. Прижмите винт.
Страница 13 - Основные инструкции к разъемам
8 Руководство пользователя Основные инструкции к разъемам Примечание. Возможно, ваш компьютер снабжен не всеми описанными в этом разделе разъемами. Разъем Описание Микрофон Подключите микрофон к этому разъему компьютера, если вы хотите записывать звук или работать с программой распознавания речи. На...
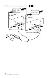
Страница 14 - Подключение компьютера; Подключение шнура питания
9 Руководство пользователя Подключение компьютера Подключение шнура питания Подключите шнур питания к розетке. Рекомендуется использовать заземленное подключение или сетевой фильтр. C340 / C345 / C440 / C445 / C540 : C355 / C455 :
Страница 16 - Подключение к Интернету
11 Руководство пользователя Подключение к Интернету Для подключения к Интернету необходим договор с поставщиком Интернет-услуг и специальное оборудование.Предложения поставщиков Интернет-услуг отличаются в зависимости от страны. Обратитесь к поставщику Интернет-услуг для получения информации о досту...
Страница 18 - Использование Windows 8.1
Использование Windows 8.1 Эта глава состоит из следующих разделов: Переключение основных интерфейсов Windows 8.1 Панель чудо-кнопок Выключение компьютера Переключение между приложениями Закрытие приложений Открытие других системных программ Справка и поддержка Внимание! Операционная си...
Страница 19 - Выключение компьютера
14 Руководство пользователя Переключение основных интерфейсов Windows 8.1 Windows 8.1 имеет два основных пользовательских интерфейса: экран Пуск и рабочий стол Windows.Чтобы переключиться с экрана Пуск на рабочий стол Windows, выполните следующее:• Выберите значок рабочего стола Windows в окне Пуск....
Страница 20 - Переключение между приложениями; Открытие других системных программ; Справка и поддержка
15 Руководство пользователя Переключение между приложениями Иногда требуется вернуться к приложению, которое только что использовалось, либо переключиться между открытыми приложениями.Переключение между приложениями:Наведите курсор в левый верхний угол экрана и нажмите для отображения следующего при...
Страница 23 - Замечание о служебном разделе:; OneKey Recovery
18 Руководство пользователя Замечание о служебном разделе: Файлы и данные, используемые Rescue System, хранятся в служебном разделе. Если удалить этот раздел, использовать Rescue System будет невозможно. Дополнительную информацию см. в последующих инструкциях: Выберите чудо-кнопку Поиск , Приложения...
Страница 24 - Установка драйверов и приложений; Метод 1: автоматическая установка
19 Руководство пользователя Установка драйверов и приложений Функция Установка драйверов и приложений системы Rescue System — это удобный способ для повторной установки всех приложений Lenovo и драйверов, которые поставляются с компьютером Lenovo. Метод 1: автоматическая установка Несколько раз нажм...
Страница 27 - Служба поддержки Lenovo; Регистрация; Обслуживание и гарантия
22 Руководство пользователя Служба поддержки Lenovo Программа Служба поддержки Lenovo позволяет вам зарегистрировать компьютер в компании Lenovo, загружать и просматривать руководства пользователя для компьютера, получать информацию о гарантии и просматривать справочную информацию. Чтобы открыть дан...
Страница 29 - Разрешение проблем
24 Руководство пользователя Разрешение проблем Приведенные ниже советы помогут вам выполнить диагностику компьютера: • Если вы добавили или удалили компонент перед тем, как возникла проблема, то еще раз просмотрите инструкции по установке и убедитесь, что вы правильно установили компонент. • Если не...
Страница 30 - Диагностика проблем, связанных со звуком
25 Руководство пользователя 3. Щелкните правой кнопкой мыши в любом месте рабочего стола (кроме значка), и выберите во всплывающем меню параметр Разрешение экрана . Проблема: рябь на экране. Диагностика и устранение причины: 1. Убедитесь, что на расстоянии менее одного метра от компьютера нет следую...
Страница 34 - BIOS setup utility
29 Руководство пользователя BIOS setup utility Что такое BIOS setup utility? BIOS setup utility является программным обеспечением, основанным на ПЗУ. Оно передает основную информацию о компьютере и предоставляет параметры для настройки устройств загрузки, системы безопасности, режима оборудования и ...
Страница 35 - Задачи ежедневного обслуживания
30 Руководство пользователя Задачи ежедневного обслуживания Очистка компонентов компьютера Большинство компонентов компьютера содержит сложные интегрированные печатные платы, поэтому очень важно регулярно очищать компьютер, чтобы избежать образования пыли. Для очистки компонентов вам понадобятся: пы...
Страница 37 - Введение
32 Руководство пользователя Введение Это руководство предназначено для заказчиков, которые хотят заменить Customer Replaceable Units - CRU (Узлы, подлежащие замене силами заказчика), а также для квалифицированных специалистов, которые заменяют Field Replaceable Units - FRU (отдельно заменяемые модул...
Страница 38 - Дополнительные информационные ресурсы
33 Руководство пользователя Дополнительные информационные ресурсы Если у вас есть доступ в Интернет, то новейшую информацию о вашем компьютере можно получить в Интернете. Вы можете получить следующие сведения:• Информация по удалению и установке CRU• Публикации• Информация по диагностике• Информация...
Страница 40 - Замена аппаратной части; Общая информация; Что нужно сделать перед тем, как разбирать компьютер; Снятие подставки
35 Руководство пользователя Замена аппаратной части Внимание! Не снимайте кожух компьютера и не пытайтесь ремонтировать компьютер, если вы не прочитали раздел « Важная информация по технике безопасности » в публикации Руководство по технике безопасности и гарантии , которое прилагается к компьютеру,...
Страница 41 - Снятие нижней панели
36 Руководство пользователя 2. Выньте из розеток вилки всех шнуров питания.3. Отсоедините от компьютера все кабели. В том числе отсоедините шнуры питания, кабели ввода/вывода и все остальные кабели, подсоединенные к компьютеру. См. разделы « Вид слева и справа » и « Вид сзади » для поиска различных ...
Страница 43 - Замена модуля памяти
38 Руководство пользователя Замена модуля памяти Внимание! Выключите компьютер и дайте ему остыть (3 - 5 мин) перед тем, как снять кожух. Примечание. При выполнении этой операции удобнее положить компьютер экраном вниз на мягкую ровную поверхность. Lenovo рекомендует подложить под экран одеяло, поло...
Страница 44 - Замена жесткого диска
39 Руководство пользователя 7. Чтобы установить модуль памяти, выполните следующие действия. Совместите новый модуль памяти с гнездом, вставьте модуль в гнездо и нажмите на верхнюю часть модуля памяти. Модуль памяти должен быть зафиксирован защелками. 8. Установите нижнюю панель и подставку на место...
Страница 46 - Замена дисковода оптических дисков
41 Руководство пользователя Замена дисковода оптических дисков Внимание! Выключите компьютер и дайте ему остыть (3 - 5 мин) перед тем, как снять кожух. Примечание. При выполнении этой операции удобнее положить компьютер экраном вниз на мягкую ровную поверхность. Lenovo рекомендует подложить под экра...
Страница 48 - Замена адаптера
43 Руководство пользователя 10. Установка нового дисковода оптических дисков: a. Совместите новый дисковод оптических дисков с крышкой и прижмите крышку. б. Установите новый дисковод оптических дисков в отсек. 11. Установите нижнюю панель и подставку на место. Замена адаптера Внимание! Выключите ком...
Страница 50 - Замена клавиатуры и мыши
45 Руководство пользователя Замена клавиатуры и мыши Примечание. Клавиатуру можно подключить к разъему USB на боковой или задней части компьютера. Чтобы заменить клавиатуру, выполните следующие действия: 1. Извлеките из дисководов носители (дискеты, компакт-диски и карты памяти), выключите все подсо...
Страница 52 - Заявление
47 Руководство пользователя Приложение. Заявление Благодарим вас за использование продуктов Lenovo.Прежде чем устанавливать и использовать продукт, внимательно прочитайте все публикации, поставляемые с компьютером. Компания Lenovo не несет ответственности за любые потери или убытки, если они не были...
Страница 53 - Торговые марки
48 Руководство пользователя Торговые марки Lenovo и логотип Lenovo, IdeaCentre и логотип IdeaCentre являются торговыми марками Lenovo в США и других странах.Microsoft, Windows и Windows Vista - товарные знаки группы компаний Microsoft.Intel Inside является торговой маркой корпорации Intel в США и др...
Страница 54 - Заявление Energy Star
49 Руководство пользователя Заявление Energy Star ENERGY STAR ® является совместной программой Агентства защиты окружающей среды США и Департамента энергетики США, направленной на повышение экономичности и защиту окружающей среды за счет использования энергосберегающей продукции и технологий.Lenovo ...
Страница 55 - Включение режима совместимости ErP
50 Руководство пользователя Средства управления энергопотреблением ENERGY STAR по операционной системе. Microsoft Windows Vista, Windows 7, Windows 8 и Windows 8.1 План электропитания: сбалансированный• Отключать дисплей: через 10 минут• Переводить компьютер в спящий режим: через 25 минут• Расширенн...