Страница 2 - RUS Инструкция по применению; Данный прибор изготовлен в феврале 2010 года.
RUS Инструкция по применению Дата изготовления прибора содержится в его серийном номере.Серийный номер прибора указан на внутренней этикетке, которая размещена на вытяжке. Расшифровка серийного номера. Данный прибор изготовлен в феврале 2010 года. Пример серийного номера:
Страница 3 - ВЫТЯЖКИ КУХОННЫЕ; Уважаемый покупатель!; сертифицировано СЕ, T
RUS Инструкция по применению ВЫТЯЖКИ КУХОННЫЕ 1 Уважаемый покупатель! Мы благодарны Вам за то, что Вы выбрали продукцию «KRONAsteel». Мы постарались сделать все, чтобы вы остались довольны нашим изделием. Ваше мнение о нашем продукте очень важно для нас. Мы будем признательны, если Вы пришлете свои ...
Страница 4 - LED
RUS Инструкция по применению ВЫТЯЖКИ КУХОННЫЕ 2 RUS Инструкция по применению КОМПЛЕКТАЦИЯ В комплек т поставки входят:1. Корпус вытяжки – 1 шт.2. Декоративный короб – 2 шт.3. Переходной фланец с антивозвратным к лапаном – 1 шт.4. Планка д ля крепления декоративного короба к стене – 1 шт.5. Упаковка ...
Страница 6 - МЕРЫ БЕЗОПАСНОСТИ
RUS Инструкция по применению ВЫТЯЖКИ КУХОННЫЕ 4 RUS Инструкция по применению МЕРЫ БЕЗОПАСНОСТИ Вытяжка подключается к электросети напряжением 220-240 В~, 50 Гц. Во избежание поражения электриче- ским током вытяжка должна включаться в розетку с заземлением. Данное изделие относится к классу 1 защиты ...
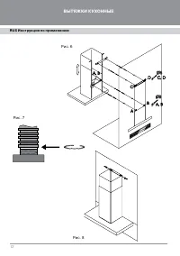
Страница 7 - ОПИСАНИЕ ВЫТЯЖКИ; Наружная часть вытяжки состоит из
RUS Инструкция по применению RUS Инструкция по применению ВЫТЯЖКИ КУХОННЫЕ 5 ОПИСАНИЕ ВЫТЯЖКИ Наружная часть вытяжки состоит из сле дующих составных частей (см. рис. 1):1. Внутренний декоративный короб вытяжки. 2. Внешний декоративный короб вы- тяжки. 3. Пульт управления вытяжкой.4. Освещение.5. Отк...
Страница 8 - УПРАВЛЕНИЕ ВЫТЯЖКОЙ
RUS Инструкция по применению ВЫТЯЖКИ КУХОННЫЕ 6 УПРАВЛЕНИЕ ВЫТЯЖКОЙ Ваша вытяжка имеет 5 скоростей вентиляции. В зависимости от того, на сколько велики испарения при готовке и жарке, Вы можете выбрать наиболее подходящую скорость вентиляции. Для более полной очистки воздуха включайте плиту и вытяжку...
Страница 9 - БРЕНД No1 ПО ПРОДАЖЕ ВЫТЯЖЕК В РОССИИ; Включение; INTELLECT
RUS Инструкция по применению БРЕНД №1 ПО ПРОДАЖЕ ВЫТЯЖЕК В РОССИИ Ваша вытяжка оснащена системой автовключения и регулировки скоростей в зависимости от интенсивно-сти приготовления пищи INTELLECT START! Для чего это нужно? Благодаря системе Intellect Start вытяжка работает самостоятельно, реагируя н...
Страница 10 - ИНСТРУКЦИЯ ПО ПОЛЬЗОВАНИЮ; Кухонная вытяжка предназначена для; Рекомендуем использовать вы-
RUS Инструкция по применению ВЫТЯЖКИ КУХОННЫЕ 8 RUS Инструкция по применению ИНСТРУКЦИЯ ПО ПОЛЬЗОВАНИЮ ВЫТЯЖКОЙ Кухонная вытяжка предназначена для удаления запахов с кухни. Кухонная вытяжка, в зависимости от ее установки, может работать в двух ре-жимах:- режим отвода воздуха в вентиляци-онную шахту;...
Страница 11 - ОБСЛУЖИВАНИЕ И УХОД; Д ля внешней очистки окрашенных; Не устанавливайте фильтр в вы-; Установка фильтра производится в
RUS Инструкция по применению RUS Инструкция по применению ВЫТЯЖКИ КУХОННЫЕ 9 ОБСЛУЖИВАНИЕ И УХОД ЗА ВЫТЯЖКОЙ Перед тем, как приступить к лю- бой операции по очистке или ре-монту вытяжки выключите напря-жение электросети. Д ля внешней очистки окрашенных вытяжек используйте вла жную ткань, смоченную в...
Страница 12 - Для этого следует разместить корпус
RUS Инструкция по применению ВЫТЯЖКИ КУХОННЫЕ 10 RUS Инструкция по применению ИНСТРУКЦИЯ ПО УСТАНОВКЕ ВЫТЯЖКИ Только специалист имеет право устанавливать и подключать вытяж-ку к электросети. Нельзя начинать монтаж вытяж- ки и снимать защитную пленку с вытяжки из нержавеющей стали, пока Вы не убедите...
Страница 13 - Подключение к электросети.; Вытяжка подключается к электросети; Категорически запрещается об-; С целью дополнительной защиты вы-; Вытяжка установлена.
RUS Инструкция по применению RUS Инструкция по применению ВЫТЯЖКИ КУХОННЫЕ 11 шахту, необходимо один конец гибко-го воздуховода (в комплект не входит) одеть на переходной фланец, предвари-тельно промазав место стыков гермети-ком, и закрепить его с помощью хомута (приобретается отдельно) (см. рис. 7)...
Страница 15 - ВОЗМОЖНЫЕ
RUS Инструкция по применению RUS Инструкция по применению ВЫТЯЖКИ КУХОННЫЕ 13 ВОЗМОЖНЫЕ НЕИСПРАВНОСТИ ВЫТЯЖКИ И СПОСОбЫ ИХ УСТРАНЕНИЯ П р о ве р и ть э л е кт р и че ск и е с о е д и н е н и я П р о ве р и ть в кл ю че н л и м о то р П р о ве р и ть в ы кл ю ча те л ь л а м п ы ( д о л ж е н б ы ть ...
Страница 16 - УТИЛИЗАЦИЯ
RUS Инструкция по применению ВЫТЯЖКИ КУХОННЫЕ 14 УТИЛИЗАЦИЯ ОТСЛУ ЖИВШЕГО ПРИБОРА Отслужившие электрические и элек- тронные приборы часто содержат цен-ные компоненты. В то же время матери-алы приборов содержат вредные веще-ства, необходимые для работы и без-опасности техники. При неправильном обраще...