Страница 2 - RUS Инструкция по применению; Данный прибор изготовлен в феврале 2010 года.
RUS Инструкция по применению Дата изготовления прибора содержится в его серийном номере.Серийный номер прибора указан на внутренней этикетке, которая размещена на вытяжке. Расшифровка серийного номера. Данный прибор изготовлен в феврале 2010 года. Пример серийного номера:
Страница 3 - ВЫТЯЖКИ КУХОННЫЕ; Уважаемый покупатель!; сертифицировано СЕ, T
RUS Инструкция по применению ВЫТЯЖКИ КУХОННЫЕ 1 Уважаемый покупатель! Мы благодарны Вам за то, что Вы выбрали продукцию «KRONAsteel». Мы постарались сделать все, чтобы вы остались довольны нашим изделием. Ваше мнение о нашем продукте очень важно для нас. Мы будем признательны, если Вы пришлете свои ...
Страница 6 - МЕРЫ БЕЗОПАСНОСТИ
RUS Инструкция по применению ВЫТЯЖКИ КУХОННЫЕ 4 RUS Инструкция по применению МЕРЫ БЕЗОПАСНОСТИ Вытяжка подключается к электросети напряжением 220-240 В~, 50 Гц. Во избежание поражения электриче- ским током вытяжка должна включаться в розетку с заземлением. Данное изделие относится к классу 1 защиты ...
Страница 7 - ОПИСАНИЕ ВЫТЯЖКИ
RUS Инструкция по применению RUS Инструкция по применению ВЫТЯЖКИ КУХОННЫЕ 5 ОПИСАНИЕ ВЫТЯЖКИ Наружная часть вытяжки состоит из следующих составных частей (см. Рис. 1): 1. Переключатель режимов работы вытяжки может исполняться в двух ва-риантах:А) Кнопочная панель – вытяжка LUCI push button (см. Рис...
Страница 8 - УПРАВЛЕНИЕ РЕЖИМАМИ
RUS Инструкция по применению ВЫТЯЖКИ КУХОННЫЕ 6 RUS Инструкция по применению Дополнительной принадлежностью для вытяжки LUCI 3P (в комплект постав-ки не входит) является угольный фильтр. Для вытяжки LUCI push button угольный фильтр входит в комплект поставки.Угольный фильтр (см. Рис. 4). Применя-етс...
Страница 9 - Функция загрязнения
RUS Инструкция по применению RUS Инструкция по применению ВЫТЯЖКИ КУХОННЫЕ 7 С помощью этого переключателя пу- тем легкого нажатия соответствующей кнопки Вы в произвольном порядке мо-жете включить одну из трех скоростей мотора, включить освещение или акти-вировать функцию «Таймер». Номер вы-бранной ...
Страница 10 - В этом режиме на вытяжку должны; Рекомендуем использовать вы-; Для внешней очистки окрашенных
RUS Инструкция по применению ВЫТЯЖКИ КУХОННЫЕ 8 RUS Инструкция по применению Рис. 6.1 В режиме рециркуляции (см. Рис. 7) вытяжка не подключается к вентиляци-онной шахте, и, таким образом, воздух просто прогоняется через вытяжку вну-три кухни. Рис. 7 В этом режиме на вытяжку должны быть установлены у...
Страница 11 - Угольный фильтр следует менять 1 раз; Замена ламп и фильтров не входит
RUS Инструкция по применению RUS Инструкция по применению ВЫТЯЖКИ КУХОННЫЕ 9 Угольный фильтр следует менять 1 раз в 5 месяцев. Его устанавливают на за-щитную решетку короба мотора путем легкого поджатия и поворота по часовой стрелке. Для снятия угольного фильтра его следует так же слегка поджать и п...
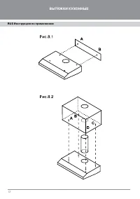
Страница 12 - ИНСТРУКЦИЯ ПО УСТАНОВКЕ; С этой целью следует разместить; Напоминаем, что высота; Ваша вытяжка может быть установле-
RUS Инструкция по применению ВЫТЯЖКИ КУХОННЫЕ 10 RUS Инструкция по применению ИНСТРУКЦИЯ ПО УСТАНОВКЕ ВЫТЯЖКИ Только специалист имеет право устанавливать и подключать вытяж-ку к электросети. Нельзя начинать монтаж вытяж- ки и снимать защитную пленку с вытяжки из нержавеющей стали, пока Вы не убедите...
Страница 13 - Подключение к электросети.
RUS Инструкция по применению RUS Инструкция по применению ВЫТЯЖКИ КУХОННЫЕ 11 4. Вверните два самореза в отверстия таким образом, чтобы расстояние меж ду стеной и головкой самореза составляло 5 мм. 5. Повесьте корпус вытяжки на опор- ные точки. При креплении вытяжки к подвесно- му шкафчику выполняем...
Страница 15 - ВОЗМОЖНЫЕ
RUS Инструкция по применению RUS Инструкция по применению ВЫТЯЖКИ КУХОННЫЕ 13 ВОЗМОЖНЫЕ НЕИСПРАВНОСТИ ВЫТЯЖКИ И СПОСОбЫ ИХ УСТРАНЕНИЯ П р о ве р и ть э л е кт р и че ск и е с о е д и н е н и я П р о ве р и ть в кл ю че н л и м о то р П р о ве р и ть в ы кл ю ча те л ь л а м п ы ( д о л ж е н б ы ть ...
Страница 16 - УТИЛИЗАЦИЯ
RUS Инструкция по применению ВЫТЯЖКИ КУХОННЫЕ 14 УТИЛИЗАЦИЯ ОТСЛУ ЖИВшЕГО ПРИБОРА Отслужившие электрические и элек- тронные приборы часто содержат цен-ные компоненты. В то же время матери-алы приборов содержат вредные веще-ства, необходимые для работы и без-опасности техники. При неправильном обраще...