Страница 2 - RUS Инструкция по применению; Данный прибор изготовлен в мае 2017 года.
RUS Инструкция по применению Дата изготовления прибора содержится в его серийном номере.Серийный номер прибора указан на внутренней этикетке, которая размещена на вытяжке. Расшифровка серийного номера. Данный прибор изготовлен в мае 2017 года.
Страница 3 - ВЫТЯЖКИ КУХОННЫЕ; Уважаемый покупатель!; сертифицировано СЕ, T
RUS Инструкция по применению RUS Инструкция по применению ВЫТЯЖКИ КУХОННЫЕ 1 Уважаемый покупатель! Мы благодарны Вам за то, что Вы выбрали продукцию «KRONAsteel». Мы постарались сделать все, чтобы вы остались довольны нашим изделием. Ваше мнение о нашем продукте очень важно для нас. Мы будем признат...
Страница 5 - Внимание! Во избежание поломки; ПРАВО НА ГАРАНТИЙНОЕ; Гарантийный талон дает право на; БЕЗОПАСНОСТЬ ДЕТЕЙ; Зачастую дети не осознают опасности
RUS Инструкция по применению RUS Инструкция по применению ВЫТЯЖКИ КУХОННЫЕ 3 Внимание! Во избежание поломки перед включением вытяжки в холод-ное время года, необходимо выдер-жать ее в распакованном виде при комнатной температуре не менее 2-х часов. Применение изделия в целях, от- личных от бытовых, ...
Страница 6 - МЕРЫ БЕЗОПАСНОСТИ
RUS Инструкция по применению ВЫТЯЖКИ КУХОННЫЕ 4 МЕРЫ БЕЗОПАСНОСТИ Вытяжка подключается к электросети напряжением 220-240 В~, 50 Гц. Во избежание поражения электриче- ским током вытяжка должна включаться в розетку с заземлением. Данное изделие относится к классу 2 защиты от поражения электрическим то...
Страница 7 - ОПИСАНИЕ ВЫТЯЖКИ; Наружная часть вытяжки состоит из сле-; JESSICA slim push button; Б) Электронная панель – вытяжка; JESSICA slim sensor; Алюминиевый жироулавливающий
RUS Инструкция по применению RUS Инструкция по применению ВЫТЯЖКИ КУХОННЫЕ 5 ОПИСАНИЕ ВЫТЯЖКИ Наружная часть вытяжки состоит из сле- дующих составных частей (см. Рис. 1): 1. Переключатель режимов работы вы- тяжки может исполняться в двух вариан-тах:А) Кнопочная панель – вытяжка JESSICA slim push but...
Страница 9 - ИНСТРУКЦИЯ ПО ПОЛЬЗОВАНИЮ; Кухонная вытяжка предназначена для
RUS Инструкция по применению RUS Инструкция по применению ВЫТЯЖКИ КУХОННЫЕ 7 таймера сигнализирует мигающая циф-ра номера выбранной скорости на дис-плее. Через 5 минут после включения таймера вытяжка прекращает работу автоматически. Данная функция очень удобна для удаления остаточного запа-ха из кух...
Страница 10 - В этом режиме на вытяжку должны; Рекомендуем использовать вы-; Для внешней очистки окрашенных
RUS Инструкция по применению ВЫТЯЖКИ КУХОННЫЕ 8 Рис. 6.1 В режиме рециркуляции (см. Рис. 7) вытяжка не подключается к вентиляци-онной шахте, и, таким образом, воздух просто прогоняется через вытяжку вну-три кухни. Рис. 7 В этом режиме на вытяжку должны быть установлены угольные акрило-вые одноразовы...
Страница 11 - Угольный фильтр следует менять 1 раз; Замена ламп и фильтров не входит; Для приобретения и замены ламп под-
RUS Инструкция по применению RUS Инструкция по применению ВЫТЯЖКИ КУХОННЫЕ 9 Угольный фильтр следует менять 1 раз в 5 месяцев. Его устанавливают на за-щитную решетку короба мотора путем легкого поджатия и поворота по часовой стрелке. Для снятия угольного фильтра его следует так же слегка поджать и п...
Страница 12 - ИНСТРУКЦИЯ ПО УСТАНОВКЕ
RUS Инструкция по применению ВЫТЯЖКИ КУХОННЫЕ 10 ИНСТРУКЦИЯ ПО УСТАНОВКЕ ВЫТЯЖКИ Только специалист имеет право устанавливать и подключать вытяж-ку к электросети. Нельзя начинать монтаж вытяж- ки и снимать защитную пленку с вытяжки из нержавеющей стали, пока Вы не убедитесь в техниче-ской исправности...
Страница 13 - Подключение к электросети.
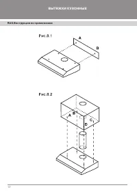
RUS Инструкция по применению RUS Инструкция по применению ВЫТЯЖКИ КУХОННЫЕ 11 1. Сделайте разметку мест сверления снизу на подвесном шкафчике под крепежные винты и гибкий воздухо-вод. Сделайте необходимые отвер-стия. 2. Один конец гибкого воздуховода диаметром 120 мм (в комплект не входит) оденьте н...
Страница 15 - ВОЗМОЖНЫЕ
RUS Инструкция по применению RUS Инструкция по применению ВЫТЯЖКИ КУХОННЫЕ 13 ВОЗМОЖНЫЕ НЕИСПРАВНОСТИ ВЫТЯЖКИ И СПОСОбЫ ИХ УСТРАНЕНИЯ П р о ве р и ть э л е кт р и че ск и е с о е д и н е н и я П р о ве р и ть в кл ю че н л и м о то р П р о ве р и ть в ы кл ю ча те л ь л а м п ы ( д о л ж е н б ы ть ...