Страница 2 - Данный прибор изготовлен в мае 2013 года.
Дата изготовления прибора содержится в его серийном номере.Серийный номер прибора указан на внутренней этикетке, которая размещена на вытяжке. Расшифровка серийного номера. Данный прибор изготовлен в мае 2013 года.
Страница 3 - RUS Инструкция по применению; ВЫТЯЖКИ КУХОННЫЕ; Ува жа емый покупа тель!
RUS Инструкция по применению ВЫТЯЖКИ КУХОННЫЕ 1 Ува жа емый покупа тель! Мы благодарны Вам за то, что Вы выбрали продукцию «KRONAsteel». Мы постарались сделать все, чтобы вы остались довольны нашим изделием. Ва ше мнение о на шем продукте очень ва жно для на с. Мы будем признательны, если Вы пришлет...
Страница 6 - МЕРЫ БЕЗОПАСНОСТИ
RUS Инструкция по применению ВЫТЯЖКИ КУХОННЫЕ 4 МЕРЫ БЕЗОПАСНОСТИ Вытяжка подк лючается к электросети напряжением 220-240 В~, 50 Гц. Во избежание поражения электриче- ским током вытяжка должна вк лючаться в розетк у с заземлением. Данное изделие относится к к лассу 2 защиты от поражения электрически...
Страница 7 - ОПИСАНИЕ ВЫТЯЖКИ
RUS Инструкция по применению ВЫТЯЖКИ КУХОННЫЕ 5 ОПИСАНИЕ ВЫТЯЖКИ Наружная часть вытяжки состоит из сле- дующих составных частей (см. Рис. 1): 1. Перек лючатель режимов работы вы- тяжки может исполняться в дву х вариан-тах:А) Кнопочная панель – вытяжка JESSICA slim push button (см. Рис. 1а); Б) Элект...
Страница 9 - ИНСТРУКЦИЯ ПО ПОЛЬЗОВАНИЮ; Ку хонная вытяжка предназначена д ля
RUS Инструкция по применению ВЫТЯЖКИ КУХОННЫЕ 7 таймера сигнализирует мигающая циф-ра номера выбранной скорости на дис-плее. Через 5 мину т после вк лючения таймера вытяжка прекращает работу автоматически. Данная функция очень удобна д ля удаления остаточного запа-ха из к у хни после окончания приго...
Страница 10 - В этом режиме на вытяжк у должны; Рекомендуем использова ть вы-; Для внешней очистки окрашенных
RUS Инструкция по применению ВЫТЯЖКИ КУХОННЫЕ 8 Рис. 6.1 В режиме рецирк уляции (см. Рис. 7) вытяжка не подк лючается к вентиляци-онной шахте, и, таким образом, возду х просто прогоняется через вытяжк у вну-три к у хни. Рис. 7 В этом режиме на вытяжк у должны быть установлены угольные акрило-вые одн...
Страница 11 - Угольный фильтр следует менять 1 раз; За мена ла мп и фильтров не входит; Для приобретения и замены ламп под-
RUS Инструкция по применению ВЫТЯЖКИ КУХОННЫЕ 9 Угольный фильтр следует менять 1 раз в 5 месяцев. Его устанавливают на за-щитную решетк у короба мотора пу тем легкого под жатия и поворота по часовой стрелке. Для снятия угольного фильтра его следует так же слегка под жать и по-верну ть против часовой...
Страница 12 - ИНСТРУКЦИЯ ПО УСТАНОВКЕ; С этой целью следует разместить; На помина ем, что высота; Ваша вытяжка может быть установле-
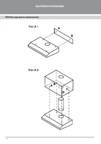
RUS Инструкция по применению ВЫТЯЖКИ КУХОННЫЕ 10 ИНСТРУКЦИЯ ПО УСТАНОВКЕ ВЫТЯЖКИ Только специа лист имеет пра во уста на влива ть и подключа ть вытяж-ку к электросети. Нельзя на чина ть монта ж вытяж- ки и снима ть за щитную пленку с вытяжки из нержа веющей ста ли, пока Вы не убедитесь в техниче-ско...
Страница 13 - Подключение к электросети.
RUS Инструкция по применению ВЫТЯЖКИ КУХОННЫЕ 11 1. Сделайте разметк у мест сверления снизу на подвесном шкафчике под крепежные винты и гибкий возду хо-вод. Сделайте необходимые отвер-стия. 2. Один конец гибкого возду ховода диаметром 120 мм (в комплект не входит) оденьте на переходной фла-нец и зак...
Страница 15 - ВОЗМОЖНЫЕ
RUS Инструкция по применению ВЫТЯЖКИ КУХОННЫЕ 13 ВОЗМОЖНЫЕ НЕИСПРАВНОСТИ ВЫТЯЖКИ И СПОСОбЫ ИХ УСТРАНЕНИЯ П р о в е р и т ь э л е к т р и ч е с к и е с о е д и н е н и я П р о в е р и т ь в к л ю ч е н л и м о т о р П р о в е р и т ь в ы к л ю ч а т е л ь л а м п ы ( д о л ж е н б ы т ь в к л ю ч е н...
Страница 16 - УТИЛИЗАЦИЯ
RUS Инструкция по применению ВЫТЯЖКИ КУХОННЫЕ 14 УТИЛИЗАЦИЯ ОТСЛУ ЖИВшЕГО ПРИБОРА Отслу жившие электрические и элек- тронные приборы часто содержат цен-ные компоненты. В то же время мате-риалы приборов содержат вредные вещества, необходимые д ля работы и безопасности техники. При неправиль-ном обращ...