Jacky's JV WW684 - инструкции и руководства
Вытяжка Jacky's JV WW684 - инструкции пользователя по применению, эксплуатации и установке на русском языке читайте онлайн в формате pdf
Инструкции:
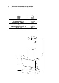
Инструкция по эксплуатации Jacky's JV WW684
1
2
3
4
5
6
7
8
9
10
11
12
13
Jacky's Вытяжки Инструкции
-
Jacky's JV BI984
Инструкция по эксплуатации
-
Jacky's JACKY-S JV II681
Инструкция по эксплуатации
-
Jacky's JACKY-S JV WW683
Инструкция по эксплуатации
-
Jacky's JACKY-S JV WW681
Инструкция по эксплуатации
-
Jacky's JV BW982
Инструкция по эксплуатации
-
Jacky's JV SW651
Инструкция по эксплуатации
-
Jacky's JV BB982
Инструкция по эксплуатации
-
Jacky's JV BW684
Инструкция по эксплуатации
-
Jacky's JV BB684
Инструкция по эксплуатации
-
Jacky's JV SB651
Инструкция по эксплуатации
-
Jacky's JV BW682
Инструкция по эксплуатации
-
Jacky's JV BB682
Инструкция по эксплуатации
-
Jacky's Jacky`s JV BI984
Инструкция по эксплуатации
-
Jacky's Jacky`s JV II981
Инструкция по эксплуатации
-
Jacky's JV BI684
Инструкция по эксплуатации
-
Jacky's JV WW683
Инструкция по эксплуатации
-
Jacky's JV WB683
Инструкция по эксплуатации
-
Jacky's JV WB681
Инструкция по эксплуатации
-
Jacky's JV WW682
Инструкция по эксплуатации
-
Jacky's JV WW681
Инструкция по эксплуатации