Hansa OKC 5111 MIH (MWH) - инструкции и руководства
Вытяжка Hansa OKC 5111 MIH (MWH) - инструкции пользователя по применению, эксплуатации и установке на русском языке читайте онлайн в формате pdf
Инструкции:
Инструкция по эксплуатации Hansa OKC 5111 MIH (MWH)
Краткое содержание
8 СОДЕРЖАНИЕ Уважаемые Господа, Вы стали пользователем кухонной вытяжки нового поколения. Вытяжка разработана и выполнена согласно Вашим ожиданиям и, безусловно, станет элементом современно оборудованной кухни. Примененные в ней современные конструкторские решения с использованием последних производ...
9 ВАЖНАЯ ИНФОРМАЦИЯ ПО БЕЗОПАСНОСТИ i l Производитель не не - сет ответственность за возможные поврежде - ния, возгорания или по - жар, вызванные непра - вильной эксплуатацией прибора в результате несоблюдения реко - мендаций настоящей инструкции. l Кухонная вытяжка служит для устранения кухонных за...
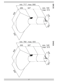
13 УСТАНОВКА УСТРОЙСТВА Устройство кухонной вытяжки Кухонная вытяжка состоит из следующих эле - ментов (Рис. 2)... Монтаж Пошаговый монтаж устройства указан на рисун - ках 3...
14 УСТАНОВКА УСТРОЙСТВА Режим отвода воздуха наружу В режиме отвода воздуха кухонная вытяжка выбрасывает загрязненный кухонный воздух из помещения наружу при посредстве специально - го воздуховода. В этом случае следует извлечь угольный фильтр из вытяжки. Вытяжка подсоединяется к отверстию для отво ...
15 ОБСЛУЖИВАНИЕ И УХОД Вытяжка управляется контрольной панелью (рис. 4) - „1” – включение первой рабочей скорости устройства, - „2” – вторая рабочая скорость двигателя, - „3” – третья рабочая скорость двигателя, - „0” – выключатель работы двигателя, - „L” – включение / отключение oсвещения Эта регул...
16 ОБСЛУЖИВАНИЕ И УХОД Консервация Регулярная очистка и консервация гарантируют надежную и продолжительную работу кухонной вытяжки. Особое внимание следует обратить на замену алюминиевых жироулавливающих и угольных фильтров в соответствии с рекоменда - циями производителей. Металлический жироулавлив...
17 ОХРАНА ОКРУЖАЮЩЕЙ СРЕДЫ Рециклинг упаковки На время транспорта кухонная вытяжка упако - вана и предохраняется таким образом, чтобы из - бежать ее повреждения. После распаковки про - сим поступать с упако - вочными материалами способом , не угрожающим окружающей среде. Все упаковочные материалы яв...
Hansa Вытяжки Инструкции
-
Hansa OKC 600 UBH (UMH) (UWH)
Инструкция по эксплуатации
-
Hansa OKC 600 UMH
Инструкция по эксплуатации
-
Hansa OKC 600 UWH
Инструкция по эксплуатации
-
Hansa OKC 6111 MWH
Инструкция по эксплуатации
-
Hansa OKC 613 RBH (RWH)
Инструкция по эксплуатации
-
Hansa OKC 621
Инструкция по эксплуатации
-
Hansa OKC 621 GBH (GH)
Инструкция по эксплуатации
-
Hansa OKC 6462
Инструкция по эксплуатации
-
Hansa OKC 653 TH
Инструкция по эксплуатации
-
Hansa OKC 654 TH
Инструкция по эксплуатации
-
Hansa OKC 6541 SH
Инструкция по эксплуатации
-
Hansa OKC 655 SH (SWH)
Инструкция по эксплуатации
-
Hansa OKC 655 TH
Инструкция по эксплуатации
-
Hansa OKC 900 UBH (UMH) (UWH)
Инструкция по эксплуатации
-
Hansa OKC 901 UBH
Инструкция по эксплуатации
-
Hansa OKC IN 600 BS (MS) (WS) EU
Инструкция по эксплуатации
-
Hansa OKC6111ZH
Инструкция по эксплуатации
-
Hansa OKC643SH
Инструкция по эксплуатации
-
Hansa OKP 5211 ZH (ZWH)
Инструкция по эксплуатации
-
Hansa OKP 6212 ZH
Инструкция по эксплуатации