Страница 3 - предназначен для работы в непрерывно проточном режиме.; КОМПЛЕКТ ПОСТАВКИ
3 ПЕРЕД ПЕРВЫМ ИСПОЛЬЗОВАНИЕМ ВОДОНАГРЕВАТЕЛЯ ВНИМАТЕЛЬНО ПРОЧИТАЙТЕ НАСТОЯЩЕЕ РУКОВОДСТВО ПО ЭКСПЛУАТАЦИИ УВАЖАЕМЫЙ ПОКУПАТЕЛЬ! Поздравляем Вас с приобретением электроводонагревателя GARANTERM. Выражаем уверенность в том, что широкий ассортимент наших электроводо-нагревателей удовлетворит любые Ваш...
Страница 4 - Таблица 1
4 3. ОСНОВНЫЕ ТЕХНИЧЕСКИЕ ХАРАКТЕРИСТИКИ Напряжение питания всех типов и моделей ЭВН должно находиться в преде- лах 230 В ±10%. Частота питающей электросети 50Гц ± 1 %. Объем внутреннего бака и мощность нагревательного элемента указаны в идентификационной таб-личке на корпусе прибора. Резьбы патрубк...
Страница 5 - УКАЗАНИЯ МЕР БЕЗОПАСНОСТИ
5 статом, который имеет плавную регулировку температуры до +75°С. Термовы-ключатель служит для предохранения ЭВН от перегрева и отключает ТЭН от сети при превышении температуры воды свыше +95°С (Рис. 3). Предохранительный клапан (Рис. 1, п. 5) выполняет функции обратного кла- пана, препятствуя попад...
Страница 6 - УСТАНОВКА И ПОДКЛЮЧЕНИЕ; диться квалифицированным персоналом.; РАЗМЕЩЕНИЕ И УСТАНОВКА; O – вертикальное, патрубки вниз
6 Температура окружающей среды, в которой эксплуатируется ЭВН, должна находиться в пределах от 3ºС до 40ºС. Замерзание воды в ЭВН при отрицательных температурах приводит к выходу его из строя, что не является гарантийным слу-чаем. Следует обращать внимание детей на то, чтобы они не играли с ЭВН. ЭВН...
Страница 7 - Примечание: защитный поддон не входит в комплект поставки ЭВН.; ПОДКЛЮЧЕНИЕ К ВОДОПРОВОДУ
7 ВНИМАНИЕ! Во избежание причинения вреда имуществу потреби-теля и (или) третьих лиц в случае неисправностей системы горячего водоснабжения, необходимо производить монтаж ЭВН в помеще-ниях, имеющих гидроизоляцию полов и дренаж в канализацию, и ни в коем случае не размещать под ЭВН предметы, подверже...
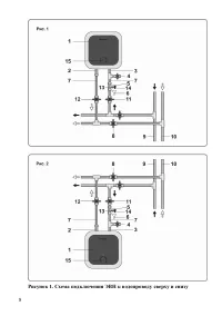
Страница 9 - Рисунок 1; : 1 – ЭВН, 2 – патрубок горячей воды, 3 – патрубок холодной; ПОДКЛЮЧЕНИЕ К ЭЛЕКТРОСЕТИ; ЭВН оборудован штатным шнуром электропитания с вилкой.
9 Рисунок 1 : 1 – ЭВН, 2 – патрубок горячей воды, 3 – патрубок холодной воды, 4 – сливной вентиль, 5 – предохранительный клапан, 6 – дренаж в канализацию, 7 – подводка, 8 – перекрыть вентиль при эксплуатации ЭВН, 9 – магистраль холодной воды, 10 – магистраль горячей воды, 11 – запорный вентиль холод...
Страница 10 - ЭКСПЛУАТАЦИЯ; : 1 – ручка управления водонагревателем со стрелкой индикатором,; ТЕХНИЧЕСКОЕ ОБСУЛЖИВАНИЕ
10 10. ЭКСПЛУАТАЦИЯ Рисунок 2. Механическая панель управления Рисунок 2 : 1 – ручка управления водонагревателем со стрелкой индикатором, 2 – зона «On/off» включения/выключения водонагревателя, 3 – зона регулировки температуры «Min», 4 – зона регулировки температуры «Eco», 5 – зона регули-ровки темпе...
Страница 13 - ответствии с манипуляционными знаками на упаковке:; УТИЛИЗАЦИЯ
13 13. ТРАНСПОРТИРОВКА И ХРАНЕНИЕ ЭЛЕКТРОВОДОНАГРЕВА- ТЕЛЕЙ Транспортировка и хранение электроводонагревателей осуществляется в со- ответствии с манипуляционными знаками на упаковке: Необходимость защиты груза от воздействия влаги Хрупкость груза, условие осторожного обращения Рекомендованный ...
Страница 14 - исключить замерзание воды в ЭВН
14 выпуска ЭВН. Претензии в период срока гарантии принимаются при наличии данного руководства с отметками фирмы-продавца и идентификационной таб-лички на корпусе ЭВН. Гарантия распространяется только на ЭВН. Неисправность предохранительного клапана или шнура питания с УЗО не влекут за собой замену Э...
Страница 16 - ОТМЕТКА О ПРОДАЖЕ; Подпись представителя
16 17. ОТМЕТКА О ПРОДАЖЕ Модель _______________________ Серийный № _______________________ Дата продажи «_____» __________________________________ 20 _______ г. Фирма-продавец: __________________________________________________ Подпись представителя фирмы-продавца____________________________ Изделие...