FRICO ADCSV25WH - инструкции и руководства

model-name

Обогреватель FRICO ADCSV25WH - инструкции пользователя по применению, эксплуатации и установке на русском языке читайте онлайн в формате pdf

1 Page 1
2 Page 2
3 Page 3
4 Page 4
5 Page 5
6 Page 6
7 Page 7
8 Page 8
9 Page 9
10 Page 10
11 Page 11
12 Page 12
13 Page 13
14 Page 14
15 Page 15
16 Page 16
17 Page 17
18 Page 18
19 Page 19
20 Page 20
21 Page 21
22 Page 22
23 Page 23
24 Page 24
25 Page 25
26 Page 26
27 Page 27
28 Page 28
29 Page 29
30 Page 30
31 Page 31
32 Page 32
33 Page 33
34 Page 34
35 Page 35
36 Page 36
37 Page 37
38 Page 38
39 Page 39
40 Page 40
41 Page 41
42 Page 42
43 Page 43
44 Page 44
45 Page 45
46 Page 46
47 Page 47
48 Page 48
49 Page 49
50 Page 50
51 Page 51
52 Page 52
53 Page 53
54 Page 54
55 Page 55
56 Page 56
57 Page 57

Краткое содержание

Страница 32 - RU; Пониженное давление в; Инструкция по монтажу и эксплуатации

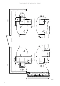
Thermozone AD Corinte W - ADCS 31 RU Общие положения Внимательно изучите настоящую инструкцию до начала монтажа и эксплуатации. Сохраните данную инструкцию для возможных обращений в будущем. Гарантия распространяется на установки выполненные и используемые в соответствии с требованиями и предписания...

Страница 33 - Горизонтальная подвеска к потолку

Thermozone AD Corinte W - ADCS 32 Нанесите закрепитель резьбы Loctite 270 (3 мл) на каждый болт (поставляется в комплекте с завесой). Горизонтальная подвеска к потолку 1.Жесткие подвески соответствующей длины (не входят в комплект поставки) крепятся к потолку (см.рис.6а и 6b), а затем к ним крепятся...

Страница 34 - Перегрев; • Убедитесь, что пространство около

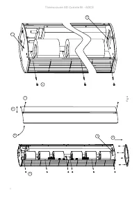
Thermozone AD Corinte W - ADCS 33 RU вовать на поток воздуха от завесы, изгибая его внутрь. Таким образом, чтобы лучше противостоять наружной среде поток возду-ха от завесы должен быть направлен под некоторым углом в сторону улицы. В общем случае, чем больше нагрузка на проем, тем больше должен быть...

FRICO Обогреватели Инструкции