Falcon Eye FE-308R - инструкции и руководства
Видеорегистратор Falcon Eye FE-308R - инструкции пользователя по применению, эксплуатации и установке на русском языке читайте онлайн в формате pdf
Инструкции:
Инструкция по эксплуатации Falcon Eye FE-308R
Краткое содержание
Falcon Eye 300 series ii Техника безопасности Инструкция по эксплуатации – После распаковки этого продукта, прочитайте внимательно инструкцию по эксплуатации, Пользуйтесь цвр согласно инструкции Источник питания – Этот продукт должен работать только от типа источника питания, указанного на этикетке....
Falcon Eye 300 series iv Содержание 1 Обзор ..................................................................................................................1 1.1 Передняя панель управления .............................................................................. 2 1.2 Задняя панель разъѐмов ....
Falcon Eye 300 series 2 1.1 Передняя панель управления Полная версия ЦВР поставляется с BNS кабелем для 4 или 8 каналов. 4/8 канальный ЦВР с одним жестким диском 4/8 канальный ЦВР с двумя жесткими дисками 4/8 канальный ЦВР (Версия с Mobile Rack) 1 2 3 4 5 6 7 8 9 10 11 12 13 14 1 2 3 4 5 6 7 8 9 10 ...
Falcon Eye 300 series 4 1.2 Задняя панель разъѐмов 1.2.1 Модель с кабелем BNC Задняя панель ЦВР содержит практически все разъемы, которые вы будете использовать. 4- канальный ЦВР с одним жестким диском 8- канальный ЦВР с одним жестким диском 1 7 2 3 4 5 6 9 10 11 8 1 7 2 3 4 5 6 9 10 11 8
Falcon Eye 300 series 5 4- канальный ЦВР с двумя жесткими дисками, DVD-RW, Mobile Rack 8- канальный ЦВР с двумя жесткими дисками, DVD-RW, Mobile Rack 1 2 3 4 5 6 7 8 9 10 11 1 2 3 4 5 6 7 8 9 10 11
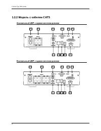
Falcon Eye 300 series 6 1.2.2 Модель с кабелем CAT5 4- канальный ЦВР с одним жестким диском 8- канальный ЦВР с одним жестким диском 1 7 2 3 4 5 6 9 10 11 8 1 7 2 3 4 5 6 9 10 11 8
Falcon Eye 300 series 11 ВНИМАНИЕ Убедитесь что устройство отключено от питания перед началом установки! 2.1 Установка жесткого диска 2.1.1 Установка жесткого диска на 4/8 канальный ЦВР с одним жестким диском ЦВР содержит один кронштейн для установки SATA жесткого диска. Тот же метод установки жестк...
Falcon Eye 300 series 20 Step 13 Закройте крышку. Step 14 Зафиксируйте крышку с помощью винтов. 2.2 Установка датчиков и разъема RS485 4/8 канальный ЦВР К 4/8 канальному ЦВР датчик и разъем RS485 подключаются таким же образом. Следуйте инструкции: Top Cover
Falcon Eye 300 series 22 2.3 Распознавание формата видео Устройство может автоматически распознавать формат видео (как NTSC или PAL) после того, как камеры были установлены и DVR был включен. Пожалуйста, изучите раздел "Установка оборудования" для установки автоматического обнаружения NTSC /...
Falcon Eye 300 series 25 4- канальный ЦВР с кабелем CAT5 (один жесткий диск) Адаптер питания Сетевой кабель Мышь Монитор для наблюдения ИК приемник ЖК-монитор Камеры наблюдения x 4 Сигнали зация Датчики Аудио устройства PTZ камера
Falcon Eye 300 series 27 8- канальный ЦВР с кабелем CAT5, двумя жесткими дисками, DVD-RW, Mobile Rack Подключения к камерам наблюдения BNC кабель: Подключите камеры наблюдения к видео входам, как "CH1" до "СН4" (для 4CH) и "CH 1" до "CH8" (для 8 CH) на DVR. CAT5 кабел...
Falcon Eye 300 series 29 Подключение ИК приемника (дополнительная функция) Подключите ИК Приемник к порту "IR_ext" на ЦВР. Это дополнительное устройство. Подключение адаптера питания Подключите адаптер питания к гнезду "DC-IN 12" на ЦВР. Подключайте адаптер питания только после того,...
Falcon Eye 300 series 31 3.1 Включение ЦВР ЦВР можно включать после того, как все периферийные устройства были установлены. Подключите адаптер питания, чтобы включить ЦВР. Для запуска ЦВР может потребоваться несколько секунд. При обнаружении системой жесткого диска, система выдаст запрос на форматир...
Falcon Eye 300 series 32 3.2.1 Панель состояния Панель состояния отображает статус и значки уведомления системы наблюдения. Знак Функция Знак Функция Камера работает Нет сигнала от камеры Запись Остановка записи Сеть подключена Сеть не подключена Подключен USB диск Статус жесткого диска Перезапись н...
Falcon Eye 300 series 33 3.2.2 Панель управления Панель управления может быть использована для переключения дисплеев, открытия и настройки каналов и связанных с ними приложений. 3.2.3 Перетаскивание каналов Перетаскивание каналов является новой функцией. Она позволяет пользователю быстро и удобно пе...
Falcon Eye 300 series 34 » Зажмите левую кнопку мыши и переместите канал на новую позицию. » Отпустите левую кнопку мыши, чтобы канал встал на новую позицию. » Система будет поддерживать новый механизм отображения канала, даже после перезагрузки системы. Размещение каналов по умолчанию Нажмите “ ” ч...
Falcon Eye 300 series 35 Нажмите , чтобы выйти из окна ввода пароля. Руководство по использованию главного меню MAIN MENU Знак Название Функция DVR Power Supply Нажмите, чтобы перезагрузить или выключить ЦВР Channel Setup Настройте отображение канала, запись, имя канала и цветность видео Record Se...
Falcon Eye 300 series 36 Нажмите на значок , чтобы расширить меню и просмотреть его содержимое. Нажмите на значок , чтобы скрыть содержание меню. Нажмите правой кнопкой мыши, чтобы вернуться в меню назад. 3.4 Настройка каналов Нажмите “Channel Setup” чтобы войти в меню настройки каналов. На дисплее ...
Falcon Eye 300 series 37 3.4.2 Основные настройки 3.4.2.1 Активный канал Данная функция нужна, чтобы установить какие каналы будут записывать, и отображаться на экране. “ON” – Включает запись и отображение на экране. Значок номера канала превращается в оранжевый цвет. “OFF” - Выключает запись и отоб...
Falcon Eye 300 series 38 Нажмите на значок [ имя по умолчанию] чтобы выбрать имя канала из списка системы: комната, зал, дверь, лифт, площадь, этаж, вход, и точка. Нажмите на значок “ ” чтобы перейти на заглавные буквы. Нажмите на значок “ ” чтобы сохранить имя канала. Имя канала появится в квадрате...
Falcon Eye 300 series 39 3.4.2.6 Регулировка положения изображения Настройка положения окон каналов на мониторе. Выберете значок “ ” (для 4ch) или “ ” (для 8ch) чтобы настроить положение всех каналов в 4-раздельном режиме просмотра. Выберете значки “ ”, “ ”, “ ”, “ ” (для 4ch) или “ ”, “ ”, “ ”, “ ”...
Falcon Eye 300 series 40 3.4.3 Стандартные регулировки цвета Регулировка параметров цвета видео для каждого канала, или одновременно для всех каналов. CHANNEL SETUP Channel Number Basic Setting Standard Color Adjustment Brightness ◄▬▬▐▬▬► [10] Contrast ◄▬▬▐▬▬► [10] Hue ◄▬▬▐▬▬► [16] Saturation ◄▬▬▐▬▬...
Falcon Eye 300 series 41 CHANNEL SETUP Channel Number Basic Setting Standard Color Adjustment Special Color Adjustment Activate Special Color [ Disable] Start Time ◄▬▬▐▬▬► [06:00] End Time ◄▬▬▐▬▬► [21:00] Brightness ◄▬▬▐▬▬► [10] Contrast ◄▬▬▐▬▬► [10] Hue ◄▬▬▐▬▬► [16] Saturation ◄▬▬▐▬▬► [16] Sharpnes...
Falcon Eye 300 series 42 3.5.1 Автоматическая запись Автоматическая запись используется для установки периода времени (OFF, 10 сек, 20 сек, 30 сек, 40сек, 50сек или 60 сек), в течении которого ЦВР автоматически начнет запись. Значение по умолчанию: "30 сек". Эта функция особенно полезна при ...
Falcon Eye 300 series 43 RECORD SCHEDULE Channel Number None Time Motion Sensor Motion+Sensor Day\Hour Sunday | Monday | Tuesday | Wednesday | Thursday | Friday | Saturday | 3.5.3.1 Номер канала Выберете значок “ ” (дляr 4Ch) или “ ” (для 8Ch) чтобы настроить все каналы одновременно. Выберете значки...
Falcon Eye 300 series 46 Следующий пример показывает, что в воскресенье, с 19:00 до 24:00, и в пятницу, с 2:00 до 4:00, установлен режим записи « Time ». Сначала выберете режим записи. Переместите курсор и нажмите на значки “ ”, “ ”, “ ”, чтобы сменить режим в расписании. Выберете режим записи « Tim...
Falcon Eye 300 series 47 Чтобы распределить производительность записи между 4 каналами нажмите «Total power». Настройки разрешения видео, качества изображении и частоты кадров для каждого канала Resolution: Нажимайте “◄ / ►” чтобы выбрать разрешение CIF, Half D1 and D1 для каждого канала. Quality: Н...
Falcon Eye 300 series 48 3.5.6 Настройка канала записи Настройка канала записи используется для настройки разрешения, качества, частоты кадров и увеличения производительности записи. 3.5.6.1 Номер канала Выберете значок “ ” (для 4Ch) или “ ” (для 8Ch) чтобы регулировать настройки всех каналов одновр...
Falcon Eye 300 series 49 3.5.6.5 Прирост производительности записи Прирост производительности записи позволяет автоматически увеличить производительность тяжело загруженных каналов, используя незагруженные каналы. 3.6 Настройка детектора Нажмите “Detector Setup” в главном меню. 3.6.1 Номер канала Вы...
Falcon Eye 300 series 50 3.6.2.1 Слепой режим обнаружения Слепой режим обнаружения срабатывает, когда камера закрыта, или находится под прямым воздействием интенсивного света. Настройки интенсивности света не будут иметь никакого эффекта при использовании ИК-камеры. Выберите любой из следующих парам...
Falcon Eye 300 series 51 3.6.2.3 Режим потери видеосигнала Режим потери видео предназначен для обнаружения потери видеосигнала камеры. Enable : Включить режим потери видеосигнала Disable Отключить режим потери видеосигнала 3.6.2.4 Сигнал тревоги при пропадании видеосигнала Выберите режим тревоги, ко...
Falcon Eye 300 series 52 3.6.3.1 3.6.3.2 Активировать запись движения Эта функция позволяет активировать все настройки движения, даже если ЦВР находится в режиме записи «Время». Enable : Включение записи при обнаружении движения (по умолчанию.) Disable : Выключение режима «запись во время обнару...
Falcon Eye 300 series 53 3.6.3.7 Переход в полноэкранный режим просмотра Переход в полноэкранный режим просмотра осуществляется, когда канал срабатывает. Эта функция может быть включена на период времени от 0 до 30 сек. “X OFF” : Отключение полноэкранного режима просмотра, когда канал срабатывает. 3...
Falcon Eye 300 series 54 3.6.4 Настройка датчиков Настройка датчиков доступна для одного или нескольких каналов. NOTE Не забудьте настроить режим записи датчика в меню " Расписание записи" после окончания "Настройки датчиков". В противном случае система все равно будет записывать в р...
Falcon Eye 300 series 56 . 3.7 Настройка аутентификации Данное меню позволяет настроить учетные записи, пароли и доступ в систему. Используйте следующие значки для настройки AUTHENTICATION SETUP Account ID Passd admin ****** power ****** police ****** guest ****** [ Option] [ Create] [ Delete] Испол...
Falcon Eye 300 series 57 Нажмите “[ Option] для настройки просмотра каналов Нажмите на значки для настройки: ( для 4Ch), (для 8Ch): Разрешить учетной записи просматривать все каналы. Значок становится оранжевым, кода включен. “ ”, “ ” или“ , , , , , , , , , , , , , , , ” : Разрешить учетной записи п...
Falcon Eye 300 series 59 3.8.2.1 Графический режим главного меню Здесь вы можете выбрать графический или текстовой режим отображения лавного меню. Графический режим MAIN MENU Текстовой режим MAIN MENU Channel Setup Record Setup Detector Setup Authentication Setup System Setup Hardware...
Falcon Eye 300 series 60 VIEW SETUP System Display Setup State Bar Information All State Bar Information [ √ON] Record Light [ √ON] Network Information [ √ON] Hard Drive Information [ √ON] Date/Time Information [ √ON] Rotation Information [ √ON] Channel Information : Запись света : Сетевая информа...
Falcon Eye 300 series 61 VIEW SETUP System Display Setup State Bar Information Channel Information All Channels Information [ √ON] Channel Number [ √ON] Channel Name [ √ON] Record Light [ √ON] Video Loss [ √ON] Record Mode [ √ON] Detector Mode [ √ON] Alarm Display [ √ON] , , , : Значок номера кана...
Falcon Eye 300 series 62 DAY/TIME SETUP Date Display Mode [YYYY/MM/DD] Time Set [2010/06/14 11:18:19] Time Zone [GMT +08:00] [Taipei] Daylight Saving Time Activate Daylight Saving [X Disable] Time Starts [Not definition] Time Ends [Not definition] NTP Server Activate Service [ √ Enable] Server IP ...
Falcon Eye 300 series 64 3.8.3.4.3 Время и дата перехода на зимнее время “Настройте здесь время и дату перехода на зимнее время. Time Ends Month ◄October► Week [First Week] Day [Sunday] Hour [0] 3.8.3.5 NTP сервер NTP сервер служит для синхронизации даты и времени со значениями в интернете. DAY/TI...
Falcon Eye 300 series 65 3.8.4 Настройка последовательности Меню последовательности установки служит для установки периода смены каналов. SYSTEM SETUP Language Selection [English] View Setup Date/Time Setup Sequence Setup Full Screen Sequence [ √ON] 4 Split Sequence ▐▬▬▬▬▬ [X OFF] Button Beep Setu...
Falcon Eye 300 series 66 SYSTEM SETUP Language Selection [English] View Setup Date/Time Setup Sequence Setup Button Beep Setup Beep of Mouse Buttons [Sound A] Beep of keypad [Sound B] Beep of IR Remote [Sound C] Input Device Setup Auto Exit Menu [X OFF] 3.8.6 Настройка устройств ввода Здесь Вы мож...
Falcon Eye 300 series 67 3.9 Настройка оборудования Здесь Вы можете настроить жесткий диск, сеть, монитор и сообщения об ошибках. HARDWARE SETUP Query Error Message Hard Drive Setup Network Setup Screen Setup NTSC/PAL Auto Detection [XOFF] Video Output Format [NTSC] Screen Border [ √ON] Main...
Falcon Eye 300 series 68 3.9.2 Настройка жесткого диска Меню настройки жесткого диска отображает информацию о нем. Здесь вы также можете включить функцию перезаписи жесткого диска. HARD DRIVE SETUP Overwrite Enable [ √Yes] Max. Recording Days ▐▬▬▬▬▬ [ None] First Hard Disk Model [WDC WD7500AYPS-...
Falcon Eye 300 series 69 3.9.2.4 Форматирование жесткого диска Вы не можете форматировать жесткий диск, когда идет запись. Если вы собираетесь это сделать, появится следующее предупреждение. System is Recording Hard Disk Format is Prohibited. 3.9.3 Настройка сети Здесь Вы можете настроить сетевые па...
Falcon Eye 300 series 70 3.9.3.2 Настройка IP адреса С помощью данной функции вы можете настроить IP адрес для подключения и взаимодействия с другими устройствами. Для подключения к некоторым устройствам требуется ввести IP адрес. NETWORK SETUP Network Enable [ √ Enable] IP Address Setup IP Type [...
Falcon Eye 300 series 71 3.9.3.3 Настройки управления/мониторинга Меню «Настройки управления/мониторинга» служат для удаленного управления и мониторинга ЦВР через интернет браузер (например Internet Explorer) и PC Viewer . MANAGEMENT/MONITORING SETUP Management Service Activate Service [ √ Enable]...
Falcon Eye 300 series 72 3.9.3.4 Настройка сервера Настройка сервера DNS. SERVER SETUP Default DNS Address [168. 95.192. 1] Custom DNS Address [168. 95. 1. 1] Dynamic DNS Activate Service [X Disable] Provider [www.dyndns.com] Server Name [No Definition] Account [No Definition] Password [No Definit...
Falcon Eye 300 series 73 3.9.4 Настройка клавиатуры / PTZ Настройка протоколов связи между DVR и PTZ-камерами и клавиатуры подключенной к ним. KEYBOARD/PTZ SETUP Pan/Tilt/Zoom Setup RS-485 Baudrate [9600] Databit [8 Bit] Parity [No Parity] Stopbit [1 Stopbit] Keyboard Keyboard Model [ OFF] Keyboard ...
Falcon Eye 300 series 75 Скорость диафрагмы: от 0 до 3. Авто фокусировка: может быть включена или отключена. Авто диафрагма: может быть включена или отключена. PAN/TILT/ZOOM SETUP Channel Number PTZ Protocol [None] Camera ID [1] Camera Reset Speed Adjustment Zoom/Focus/Iris Cruise Speed ▬▐▬ [1] Focu...
Falcon Eye 300 series 76 3.9.4.3 Клавиатура Keyboard Model Выберет модель клавиатуры, которую. Вы используете: OFF (если нет клавиатуры), CK101, CK201, KB-KT301 Keyboard ID Регулировка идентификационного номера на основе настроек клавиатуры. Это значение может быть любое число от 1 до 16. Keyboard P...
Falcon Eye 300 series 77 3.9.5 Настройка экрана Настройка видео формата и разрешения экрана. HARDWARE SETUP Query Error Message Hard Drive Setup Network Setup Screen Setup NTSC/PAL Auto Detection [ OFF] Video Output Format [NTSC] Screen Border [ ON] Main Display Screen [VGA] VGA Resolution [1024x768...
Falcon Eye 300 series 78 Main Display Screen Меню предоставляет параметры для соединения основного экрана через BNC или VGA порт (обозначен как "VIDEO-OUT"). VGA разрешение Выберете разрешение 640x480, 800x600, 1024x768 or 1280x1024. Video Adjustment Регулирует положение экрана на мониторе п...
Falcon Eye 300 series 79 HARDWARE SETUP Query Error Message Hard Drive Setup Network Setup Screen Setup Audio Setup Audio Record [ ON] Audio Mute [ OFF] Input Volume ▐▬▬▬▬▬ [1] Output Volume ▬▬▬▬▬▐ [16] Запись аудио [ ON]: Включает запись аудио [ OFF]: Выключает запись аудио Audio Mute [ ON]: Отключ...
Falcon Eye 300 series 80 3.10.1 Форматирование USB диска Система поддерживает USB флеш карты и USB card readers с системой FAT32. Пожалуйста, отформатируйте диск (с помощью функции форматирования файла), если она не в FAT32 в противном случае произойдет ошибка во время резервного копирования. Функци...
Falcon Eye 300 series 81 3.10.2 Обновление прошивки Для обновления прошивки используйте флеш карту, которая содержит последнюю версию прошивки. Подключите внешний диск USB в порт USB на передней панели ЦВР. FIRMWARE UPDATE Current Revision: V14.0.0 Current Date/Time: Jun 14 2010 05:22:38 Current L...
Falcon Eye 300 series 84 После обновления прошивки появится сообщение, «Firmware update is success, System will restart » . Затем система перезагрузится FIRMWARE UPDATE Current Revision: V14.0.0 Current Date/Time: Jun 14 2010 05:22:38 Current Language: English Current Checksum: 0x0332E245 File Nam...
Falcon Eye 300 series 85 Load Settings from USB LOAD SETTINGS FROM USB USB Disk [General Flash Disk] Free Capacity [905MB] Total Capacity [1005MB] Read File [Env2010-07-14_0503] [ Load File] [ File Select] Эта опция поможет вам загрузить настройки ЦВР с USB устройства. Нажмите [ File select], чтоб...
Falcon Eye 300 series 86 Load default setting Restore default settings? [ √YES] [ XNO] Выберете “ YES ”, чтобы загрузить стандартные настройки. После этого ситема будет перезагружена. Reset completed, System will restart… 3.11 Выход из главного меню Здесь Вы можете сохранить изменения перед выходо...
Falcon Eye 300 series 87 3.11.2 Выход без изменений Выход будет осуществлен без изменений. Чтобы выйти без изменений нажмите «Yes». Exit Main Menu □ , x Discard changes and exit now? [ √YES] [ XNO]
Falcon Eye 300 series 89 4.1 Меню календарь Меню календарь позволяет получить доступ к записям, выбрав дату и время их записи. Нажмите “ ” чтобы войти в меню календаря. CALENDAR MENU [2010] [July] Sun Mon Tue Wed Thu Fri Sat 1 2 3 4 5 6 7 8 9 10 11 12 13 14 15 16 17 18 19 20 21 22 23 24 25 26 27 28 ...
Falcon Eye 300 series 90 CALENDAR MENU [2010] [July] Sun Mon Tue Wed Thu Fri Sat 1 2 3 4 5 6 7 8 9 10 11 12 13 14 15 16 17 18 19 20 21 22 23 24 25 [ ] 27 28 29 30 31 0 1 2 3 4 5 6 7 8 9 10 11 12 13 14 15 16 18 19 20 21 22 23 [ Play] [ Backup] В приведенном выше примере, выбранный день 26 июля 2010 (...
Falcon Eye 300 series 93 Панель просмотра видео Вы увидите панель управления во время воспроизведения видео. PIP View Отображение видео в реальном времени в режиме просмотра PIP (картинка в картинке). 4 Split View Просмотр видео в разделенном на 4 части экране. 1+ 7 Split View Просмотр видео в разде...
Falcon Eye 300 series 94 4.3 Поиск по событиям Нажмите “ ”, “ ” или значок для входа в меню поиска по событиям. Channel Number: Определяет каналы для поиска Filter Type: Фильтр событий “Главное событие”, “Событие записи”, “Событие оборудования”, “Событие предупреждения” и “Все события” Filter Ti...
Falcon Eye 300 series 96 4.4 Резервное копирование данных DVR поддерживает резервное копирование данных через USB 2.0 устройство ( флеш карты и карт-ридер). Нажмите “ ” (или “ II ”), чтобы войти в меню воспроизведения. PLAY MENU Channel Number Play Begin Time [2010/7/04 10:40:02] Play End Time [...
Falcon Eye 300 series 100 5.1 Управление панорамированием / наклоном / масштабированием Данное меню служит для удобства работы с камерой PTZ. Нажмите на иконку управления PTZ на панели управления и появится следующее меню. Channel Number and Status: Показывает номер и статус записи конкретного канал...
Falcon Eye 300 series 101 PTZ Control Menu: Это меню появляется при наведении курсора мыши на нижней части экрана. Оно позволяет управлять камерой PTZ, которую Вы выбрали. Меню управления PTZ С помощью этого меню вы можете управлять панорамированием, наклоном и масштабированием PTZ камеры. Иконка На...
Falcon Eye 300 series 102 Иконка Название Операция чтобы указать правый предел для панорамирования Auto Iris Щелкните на этот значок, чтобы включить автоматическую диафрагму Iris Open Щелкните, чтобы открыть объектив Iris Close Щелкните, чтобы закрыть объектив Auto Focus Щелкните, чтобы автоматическ...
Falcon Eye 300 series 105 7.1 Информация о записи Отображение текущего состояния системы. : Нажмите “ ”, чтобы показать информацию о записи. RECORD INFORMATION - - - - 10 30 - - - - - - 10 30 - - Record Information Parameters (topmost bar) : Номер канала : Потеря видеосигнала : Разрешение записи : Р...
Falcon Eye 300 series 106 7.2 Hard Drive Information Здесь вы можете просмотреть информацию о вашем жестком диске. Нажмите . HARD DRIVE SETUP First Hard Disk Model [WDC WD7500AYPS-01ZKB] HDD Size [715403 MB] Max. Recording Days [ None] Record Start Time [2006/06/11 15:26:18] Record End Time [2010/06...
Falcon Eye 300 series 107 7.3 Информация о сети Здесь Вы можете просмотреть информацию о сети. Нажмите NETWORK SETUP IP Type [DHCP] IP Address [192.168. 11.198] IP Status [ Connected] Login Status Login Count [0] Network Service Management Service [ Enable] Monitoring Service [ Enable] Dynamic DNS [...
Falcon Eye 300 series 109 8.1 Соединение с ПК через локальную сеть Вот пример, который показывает, как найти основную информацию о сети через хаб. Поиск IP адреса роутера В Windows Нажмите “Пуск” а затем “Выполнить”. Введите “CMD” и нажмите “OK” Введите “ipconfig”. Графа основной шлюз является IP ад...
Falcon Eye 300 series 110 Поиск IP адреса на ЦВР Зная, что IP адрес роутера 192.168.11.1. IP адреса: 192.168.11.2~192.168.11.253. IP адреса для других сетевых устройств: 192.168.11.160 ~192.168.11.199. Поиск доступных IP адресов Введите “ping 192.168.11.189” on в окне DOS. Когда "Ответ на 192.16...
Falcon Eye 300 series 111 Когда вы найдете свободный IP-адрес, вернитесь в меню ЦВР: "Настройка сети", чтобы ввести IP-адрес. IP адрес: Введите адрес ЦВР [192.168.011.188] Шлюз: Введите IP адрес роутера [192.168.011.001] Маска подсети: 255.255.255.0 8.2 Динамический DNS. Общие сведения Для Ц...
Falcon Eye 300 series 116 Нажмите “Activate Services” Теперь настройка услуги DYNDNS завершена. Обратите внимание на имя пользователя, пароль и имя хоста. 8.2.4 Настройка роутера Большинство настроек роутера повторяются, например: Укажите DYNDNS службу: DnyDNS.org (dynamic) Введите имя пользователя ...
Falcon Eye 300 series 119 9.1 Установка PC Viewer PC Viewer поможет Вам просматривать видео на компьютерах с платформой Windows , пожалуйста, запустите прилагающийся компакт-диск, затем управляйте “ PC Viewer ” для воспроизведения данных DVR. Платформа OS Windows требует, чтобы приложение было запущ...
Falcon Eye 300 series 120 9.1.2 Подключение PC Client к DVR В этом разделе описано, как управлять связями DVR. Step 15 Нажмите кнопку чтобы открыть окно подключений DVR. Step 16 Нажмите кнопку, чтобы добавить, изменить, удалить DVR подключения или закрыть окно DVR подключений. Step 17 Для добавления...
Falcon Eye 300 series 123 9.1.3 Переключение между каналами Эта глава описывает переключение между каналами. Отображение одного канала в каждом поле Двойной щелчок по изображению позволит отобразить данный канал в основном поле. Экран будет выглядеть следующим образом: Отображение 4/8 каналов в одно...
Falcon Eye 300 series 124 Отображение каналов одного DVR в полноэкранном режиме Нажмите переключатель DVR подключений для вывода одного подключения на дисплей. Экран будет выглядеть следующим образом: Вывод одного канала на дисплей: Дважды кликние по каналу, который Вы хотите отобразить в полноэкран...
Falcon Eye 300 series 125 9.1.4 Остановка воспроизведения изображения Нажмите на кнопку “ ” для остановки воспроизведения. 9.1.5 Захват изображения Нажмите на кнопку “ ” для сохранения изображения, которое в настоящее время отображается на экране. Сохраните изображение в формате bmp на Вашем компьют...
Falcon Eye 300 series 127 ближних объектах Focus Far Нажмите, чтобы сфокусироваться на дальних объектах Moving Icon Перемещение влево вверх, вверх и вправо вверх Moving Icon Перемещение влево, остановка перемещения, перемещение вправо Moving Icon Перемещение влево вниз, вниз и вправо вниз PTZ ID Выб...
Falcon Eye 300 series 128 9.1.7.2 Поиск записи по времени Функция «Time Search» позволяет воспроизвести видео по времени его записи. Выберите дату и время начала воспроизведения и нажмите на кнопку “Play”: № Название Функция 1 Fast Backward 2x Перематывает видео назад на второй скорости 2 Fast Backw...
Falcon Eye 300 series 130 Введите дату и время начала и окончания и размер. Затем нажмите кнопку "старт" для запуска резервного копирования файлов PVF. 9.1.7.2.1 Воспроизведение записи по событиям С помощью функции «Event Search» Вы можете воспроизводить определенные моменты записи. Выберите...
Falcon Eye 300 series 131 Двойной щелчок по событию начнет воспроизведение записи: Нажмите на иконку чтобы вернуться в меню “Event Search”. 9.1.8 Настройки удаленного доступа к ЦВР Нажмите на кнопку для настройки удаленного доступа.
Falcon Eye 300 series 132 Вход в удаленную настройку интерфейса Для входа в удаленную настройку интерфейса введите логин и пароль. Пользователь по умолчанию: admin Пароль по умолчанию: 123456 Вы можете изменить настройки DVR после входа. 9.2 Просмотр через веб-браузер В данном разделе описаны функци...
Falcon Eye 300 series 136 9.2.1 Переключение между каналами Отображение одного канала в полноэкранном режиме: Дважды щелкните на канал для отображения одного канала. Отображение четырех каналов в полноэкранном режиме: Дважды щелкните по дисплею для отображения четырех каналов в полноэкранном режиме....
Falcon Eye 300 series 10.1 Среда iPhone Пожалуйста, настройте Ваш iPhone согласно следующим настройкам: Обновите операционную систему iPhone до версии iOS4.0 или выше. i. Проверить версию OS iPhone: [Настройки] → [General] → [About] → [Version] ii. Если вам требуется обновить OS, пожалуйста, обновит...
Falcon Eye 300 series Вы можете увидеть значок SecuViewer на главном экране iPhone. 10.3 Обзор интерфейса SecuViewer SecuViewer инструкция Подключение к ЦВР Остановка подключения к ЦВР Настройка связи с ЦВР. Отображать канал 1 Отображать канал 2 Отображать канал 3 Отображать канал 4
Falcon Eye 300 series 10.4 Подключение к ЦВР Нажмите на иконку SecuViewer на главном экране iPhone для запуска удаленного мониторинга. Нажмите "Setup", чтобы настроить подключение к ЦВР.
Falcon Eye 300 series Пожалуйста, заполните все параметры для подключения к ЦВР: » Network IP Address: Введите IP адрес ЦВР. » Network Port: Введите значение порта (по умолчанию 8000). » User Name: введите имя пользователя (по умолчанию admin). » Password: Введите пароль (по умолчанию 123456). Когда...
Falcon Eye Видеорегистраторы Инструкции
-
Falcon Eye DVRCMS
Инструкция по эксплуатации
-
Falcon Eye FE-004H
Инструкция по эксплуатации
-
Falcon Eye FE-008H
Инструкция по эксплуатации
-
Falcon Eye FE-304EF
Инструкция по эксплуатации
-
Falcon Eye FE-3104H
Инструкция по эксплуатации
-
Falcon Eye FE-3108H
Инструкция по эксплуатации
-
Falcon Eye FE-316R
Инструкция по эксплуатации
-
Falcon Eye FE-3208H
Инструкция по эксплуатации
-
Falcon Eye FE-3404HDS
Инструкция по эксплуатации
-
Falcon Eye FE3408HDS
Инструкция по эксплуатации
-
Falcon Eye FE-3416HDS
Инструкция по эксплуатации
-
Falcon Eye FE-408H
Инструкция по эксплуатации
-
Falcon Eye FE-416H
Инструкция по эксплуатации
-
Falcon Eye FE-516D1
Инструкция по эксплуатации
-
Falcon Eye FE-524D1
Инструкция по эксплуатации
-
Falcon Eye FE-532D1
Инструкция по эксплуатации
-
Falcon Eye FE-6000
Инструкция по эксплуатации
-
Falcon Eye FE-602AVR
Инструкция по эксплуатации
-
Falcon Eye FE-82AVR
Инструкция по эксплуатации
-
Falcon Eye FE-8720AVR
Инструкция по эксплуатации