Страница 2 - УВАЖАЕМЫЙ ПОКУПАТЕЛЬ!
2 ЭК В. 1.00 УВАЖАЕМЫЙ ПОКУПАТЕЛЬ! Благодарим Вас, что Вы выбрали котёл торговой марки «Элемент Комфорта»Теперь Вы являетесь обладателем отопительного котла, который при правильной установке, экс- плуатации и уходе, прослужит Вам долгие годы. «Элемент Комфорта» – это линейка высококачественного отоп...
Страница 3 - СОДЕРЖАНИЕ
3 СОДЕРЖАНИЕ 1. ВНИМАНИЕ ...................................................................................................................... 42. КОМПЛЕКТНОСТЬ ............................................................................................................ 43. ОБЩИЕ УКАЗАНИЯ .............
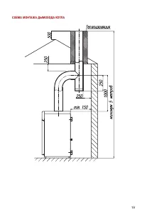
Страница 7 - ТРЕБОВАНИЯ БЕЗОПАСНОСТИ; эксплуатировать котел с неисправной газовой автоматикой
7 4. ТРЕБОВАНИЯ БЕЗОПАСНОСТИ 4.1. Никогда не используйте котел без подсоединения к дымоходу.4.2. Перед началом работ котла убедитесь в том, что дымоход не заблокирован.4.3. Необходимо обеспечить достаточную тягу в дымоходе. нет тяги (Не используйте котел!) слабая тяга (Не используйте котел!) недоста...
Страница 8 - НИКОГДА; НЕ ПРОИЗВОДИТЕ САМОСТОЯТЕЛЬНЫХ МАНИПУЛЯЦИЙ С ДАТЧИКОМ ТЯГИ!; тяги зажигать газогорелочное устройство запрещается.; ПОРЯДОК РАБОТЫ; ) и только затем начинайте
8 ЭК В. 1.00 ВАЖНАЯ ИНФОРМАЦИЯ Коте л снабжен д ат чиком контроля т яги в д ымохо д е. При во з ник новении препятс тв ий (попа д ания пос торонни х пре д метов и т. д .) в д ымохо д е д ат чик т яги не по з волит начать работ у отопите льного прибора или в ык лючит его во в ремя работы. НИКОГДА НЕ ...
Страница 9 - ВНИМАНИЕ! Убедитесь что ручка управления находится в позиции; и поворота в нужное положение.
9 7.3. Отпустить кнопку и проверить наличие пламени на пилотной горелке. Если пламени нет, повторить пункт 7.2., увеличивая время удержания кнопки подачи газа. 7.4. Для включения основной горелки повернуть рукоятку настройки температуры 6 в по- ложение 2. Максимальная температура 80°С теплоносителя ...
Страница 10 - УКАЗАНИЯ ПО МОНТАЖУ, ТЕХНИЧЕСКОЕ ОБСЛУЖИВАНИЕ
10 ЭК В. 1.00 в положение «искра», то горелка не зажжется, пока не разблокируется так называемый внутренний замок автоматики. Блокировка снимается автоматически после остывания термопары (прмерно через 60 сек) после перевода ручки в положение «точка». 7.7. Регулировка температуры теплоносителя осуще...
Страница 12 - ГАРАНТИЙНЫЕ ОБЯЗАТЕЛЬСТВА
12 ЭК В. 1.00 9. ГАРАНТИЙНЫЕ ОБЯЗАТЕЛЬСТВА 9.1. Гарантийный срок эксплуатации котла при выполнении обязательного ежегод- ного профилактического обслуживания и соблюдении потребителем условий транспортировки, хранения, монтажа и эксплуатации – 30 месяцев со дня про-дажи.* 9.2. В случае отказа в работ...
Страница 13 - Рис 1. Котел «Элемент Комфорта» с автоматикой 710 MINISIT
13 1. Котел.2. Газогорелочное устройство.3. Кнопка подачи газа на пилотную горелку.4. Кнопка выключения.5. Пьезовоспламенитель.6. Рукоятка настройки температуры.7. Указатель температуры.8. Смотровое окно.9. Штуцер для подключения газа.10. Вход отопительной воды.11. Выход отопительной воды.12. Вход в...
Страница 14 - зиции «Выключено» и «Розжиг».; Рис 2. Котел «Элемент Комфорта» с автоматикой 630 EUROSIT
14 ЭК В. 1.00 1. Котел.2. Газогорелочное устройство.3. Рукоятка управления температурой, имеющая по- зиции «Выключено» и «Розжиг». 4. Пьезовоспламенитель.5. Указатель температуры.6. Смотровое окно.7. Штуцер для подключения газа.8. Вход отопительной воды.9. Выход отопительной воды.10. Вход воды горяч...
Страница 15 - Рис 3. Котел «Элемент Комфорта» с автоматикой 820 NOVA
15 1. Котел.2. Газогорелочное устройство.3. Ручка управления.4. Пьезовоспламенитель.5. Регулятор температуры.6. Смотровое окно.7. Гибкая подводка для газа.8. Штуцер для подключения газа.9. Вход отопительной воды.10. Выход отопительной воды.11. Указатель температуры.12. Вход воды горячего водоснабжен...
Страница 16 - ПРИМЕРНЫЕ СХЕМЫ МОНТАЖА СИСТЕМЫ ОТОПЛЕНИЯ *
16 ЭК В. 1.00 ПРИМЕРНЫЕ СХЕМЫ МОНТАЖА СИСТЕМЫ ОТОПЛЕНИЯ * * Данная схема является примерной. Проект системы отопления должен разрабатываться специализи- рованной организацией. 1. Котел.2. Расширительный бачок.3. Радиатор отопления.4. Кран для слива и заполнения отопительной системы.5. Сигнальная тру...
Страница 18 - ПРИМЕРНАЯ СХЕМА МОНТАЖА СИСТЕМЫ ОТОПЛЕНИЯ *
18 ЭК В. 1.00 ПРИМЕРНАЯ СХЕМА МОНТАЖА СИСТЕМЫ ОТОПЛЕНИЯ * * Данная схема является примерной. Проект системы отопления должен разрабатываться специализи- рованной организацией. 1. Котел.2. Циркуляционный насос.3. Расширительный бак.4. Радиаторы отопления.5. Автоматический сбросник воздуха.6. Сбросной...
Страница 20 - ВОЗМОЖНЫЕ НЕИСПРАВНОСТИ И МЕТОДЫ ИХ УСТРАНЕНИЯ; Наименование
20 ЭК В. 1.00 11. ВОЗМОЖНЫЕ НЕИСПРАВНОСТИ И МЕТОДЫ ИХ УСТРАНЕНИЯ Наименование неисправностей Вероятная причина Метод устранения 1. Отключается основная горелка А. Недостаточное разрежение в дымоходе, забит дымоходБ. Нарушена регулировка ис-ходящего давления газа с газовой автоматики на основную и пи...
Страница 22 - КОНТРОЛЬНЫЕ ТАЛОНЫ; КОНТРОЛЬНЫЙ ТАЛОН НА МОНТА Ж; СВЕДЕНИЯ ОБ УТИЛИЗАЦИИ
22 ЭК В. 1.00 13. КОНТРОЛЬНЫЕ ТАЛОНЫ КОНТРОЛЬНЫЙ ТАЛОН НА МОНТА Ж 1. Дата монтажа __________________________________________________________________________ 2. Кем произведен монтаж ________________________________________________________________ _____________________________________________________...
Страница 23 - ГАРАНТИЙНЫЙ ТАЛОН No1
23 ГАРАНТИЙНЫЙ ТАЛОН №1 ТАЛОН № __________ Заводской номер ___________________________________________________Модель котла ______________________________________________________Фирма-продавец ___________________________________________________«___»__________20___ г. Штамп магазина Владелец и его адр...