DEXP MC-71 - инструкции и руководства

Микроволновая печь DEXP MC-71 - инструкции пользователя по применению, эксплуатации и установке на русском языке читайте онлайн в формате pdf

1 Page 1
2 Page 2
3 Page 3
4 Page 4
5 Page 5
6 Page 6
7 Page 7
8 Page 8
9 Page 9
10 Page 10
11 Page 11
12 Page 12
13 Page 13
14 Page 14
15 Page 15
16 Page 16
1 Page 1
2 Page 2
3 Page 3
4 Page 4
5 Page 5
6 Page 6
7 Page 7
8 Page 8
9 Page 9
10 Page 10
11 Page 11
12 Page 12
13 Page 13
14 Page 14
15 Page 15
16 Page 16

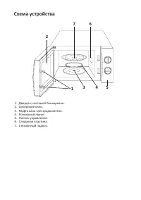
Краткое содержание

Страница 3 - Меры предосторожности; Важные инструкции по безопасности

Уважаемый покупатель! Благодарим Вас за выбор продукции, выпускаемой под торговой маркой «DEXP». Мы рады предложить Вам изделия, разработанные и изготовленные в соответ - ствии с высокими требованиями к качеству, функциональности и дизайну. Перед началом эксплуатации прибора внимательно прочитайте д...

Страница 7 - Инструкция по заземлению; Посуда

Инструкция по заземлению Данное устройство требует заземления и оснащено специальным заземляющим проводом и штекером. Необходимо подключать устройство к корректно уста - новленной и заземленной розетке. В случае короткого замыкания заземление уменьшает риск удара электрическим током с помощью отводя...

Страница 9 - Посуда и аксессуары, которые нельзя использовать

Посуда и аксессуары Примечание Пищевая плёнка Только безопасная для использования в микро - волновке. Используйте ее, чтобы накрывать еду во время приготовления для сохранения влаги Термометры Только безопасные для использования в микро - волновке (термометры для мяса и леденцов) Вощеная бумага Испо...

DEXP Микроволновые печи Инструкции