Страница 2 - VLT Micro; Алфавитный; VLT
Снижение номинальных характеристик в зависимости от температуры окру - жающей среды 36 Снижение номинальных характеристик в связи с понижением атмосферного давления 36 Снижение номинальных характеристик при работе на низких скоростях 36 Дополнительные устройства для приводов FC 51 серии VLT Micro 37...
Страница 4 - IT; Сеть
Возможна защита двигателя от перегрузки путем установки параметра 1-90 Тепловая защита двигателя на значение " ЭТР : отключение ". Для североамериканского рынка : Функции защиты с помощью электронного теплового реле ( ЭТР ) обеспечивают защиту двигателя от перегрузки по классу 20 согласно тр...
Страница 5 - Перечень
2. Механический монтаж 2.1. Перед началом работы 2.1.1. Перечень контрольных проверок Во время распаковки преобразователя частоты убедитесь в отсут - ствии его повреждений и проверьте комплектность . Комплект дол - жен содержать : • Привод FC 51 серии VLT Micro • Руководство по быстрому запуску Если...
Страница 6 - Внимание
2.3.1. Габаритные и присоединительные размеры Рисунок 2.3: Габаритные и присоединительные размеры . Внимание Шаблон для сверления отверстий можно найти на клапане упаковки . Мощность , кВт Высота , мм Ширина , мм Глубина , 1) мм Макс . мас - са Тип 1 x 200-240 В 3 х 200-240 В 3 х 380-480 В A A ( с р...
Страница 7 - Подключение; Общие; Предохранители
3. Электрический монтаж 3.1. Подключение 3.1.1. Общие сведения по электромонтажу Внимание Вся система кабелей должна соответствовать государственным и местным нормам и правилам в отношении сечения и темпе - ратуры окружающей среды . Рекомендуется использовать медные проводники (60-75 °C). Моменты за...
Страница 8 - Монтаж
FC 51 Bussmann Bussmann Bussmann Littel fuse Ferraz- Shawmut Ferraz- Shawmut Макс . ток пред - охр . без соотв . UL 1 x 200 - 240 В kW Тип RK1 Тип J Тип Т Тип RK1 Тип СС Тип RK1 Тип gG 0K18 - 0K37 KTN-R15 JKS-15 JJN-15 KLN-R15 ATM-R15 A2K-15R 15A 0K75 KTN-R25 JKS-25 JJN-25 KLN-R25 ATM-R25 A2K-25R 25...
Страница 11 - Переключатели
3.4. Клеммы управления 3.4.1. Доступ к клеммам управления Все клеммы для подсоединения кабелей управления размещаются под клеммной крышкой на передней стороне преобразователя ча - стоты . Снимите клеммную крышку с помощью отвертки . Рисунок 3.6: Снятие клеммной крышки . Внимание Сверяйтесь со схемам...
Страница 15 - Программирование
4. Программирование 4.1. Программирование 4.1.1. Программирование с помощью программы настройки MCT-10 С помощью программы настройки MCT-10 преобразователь частоты может быть запрограммирован с ПК через коммуникационный порт RS485. Используйте код 130B1000 для заказа программы или загрузите ее с веб...
Страница 18 - Quick Menu
4.2. Меню Status ( Состояние ) После включения питания активируется меню Status ( Состояние ). Кнопка [MENU] позволяет переключаться между меню Status ( Со - стояние ), быстрым меню и главным меню . Кнопки со стрелками [ ▲ ] и [ ▼ ] служат для переключения между па - раметрами в пределах каждого из ...
Страница 19 - Параметры
4.4. Параметры быстрого меню 4.4.1. Параметры быстрого меню - QM1 Основные настройки Ниже приведено описание всех параметров , встречающихся в быстром меню . * = Заводская установка . 1-20 Мощность двигателя [ кВт ]/[ л . с .] (P m.n ) Опция : Функция : Введите мощность двигателя , указанную на пасп...
Страница 23 - Рисунок
4.5. Главное меню Главное меню обеспечивает доступ ко всем параметрам . 1. Для входа в главное меню нажимайте кнопку [MENU] до пе - ремещения индикатора на дисплее на надпись Main Menu. 2. Для перехода между группами параметров используются кнопки со стрелками [ ▲ ] [ ▼ ]. 3. Нажмите кнопку [OK], чт...
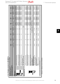
Страница 31 - Питание; Таблица
7. Технические данные 7.1. Питание от сети 7.1.1. Питание от сети 1 x 200-240 В ~ Нормальная перегрузка 150 % в течение 1 минуты Типораз - мер M1 Типораз - мер M1 Типораз - мер M1 Типораз - мер M2 Типораз - мер M3 Преобразователь частоты Типовая мощность на валу [ кВт ] P0K18 0.18 P0K37 0.37 P0K75 0...