Candy CSVG64SGN - инструкции и руководства
Варочная панель Candy CSVG64SGN - инструкции пользователя по применению, эксплуатации и установке на русском языке читайте онлайн в формате pdf
Инструкции:
Инструкция по эксплуатации Candy CSVG64SGN
1
2
3
4
5
6
7
8
9
10
11
12
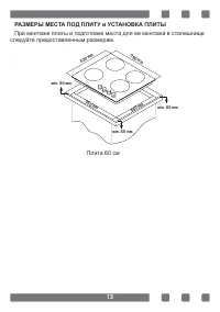
13
14
15
16
17
18
19
20
21
22
23
24
25
Candy Варочные панели Инструкции
-
Candy C 1640 IBDC
Инструкция по эксплуатации
-
Candy CDI 30
Инструкция по эксплуатации
-
Candy CEHDD30TCT
Инструкция по эксплуатации
-
Candy CFID36
Инструкция по эксплуатации
-
Candy CFX 64 JV
Инструкция по эксплуатации
-
Candy CFX 64 P
Инструкция по эксплуатации
-
Candy CFX 74 P
Инструкция по эксплуатации
-
Candy CFX 75 P
Инструкция по эксплуатации
-
Candy CH 630 C/1
Инструкция по эксплуатации
-
Candy CH 633 X
Инструкция по эксплуатации
-
Candy CH 64 C
Инструкция по эксплуатации
-
Candy CH 64 C
Инструкция
-
Candy CH 64 C/2
Инструкция по эксплуатации
-
Candy CH 64 C/2 X
Инструкция по эксплуатации
-
Candy CH 64 CB
Инструкция по эксплуатации
-
Candy CH 64 CCB
Инструкция по эксплуатации
-
Candy CH 64 EXCP
Инструкция по эксплуатации
-
Candy CH 641 TC
Инструкция по эксплуатации
-
Candy CH 647 B JV
Инструкция по эксплуатации
-
Candy CH 742 B
Инструкция по эксплуатации