Beko CTB6407X - инструкции и руководства

Вытяжка Beko CTB6407X - инструкции пользователя по применению, эксплуатации и установке на русском языке читайте онлайн в формате pdf

1 Page 1
2 Page 2
3 Page 3
4 Page 4
5 Page 5
6 Page 6
7 Page 7
8 Page 8
9 Page 9
10 Page 10

Краткое содержание

Страница 2 - RU; Руководство

RU 5 5 Руководство по эксплуатации УКАЗАТЕЛЬ СОВЕТЫ И РЕКОМЕНДАЦИИ ...........................................................................................................................................31 ХАРАКТЕРИСТИКИ ...............................................................................

Страница 3 - СОВЕТЫ; УСТАНОВКА

RU 31 31 СОВЕТЫ И РЕКОМЕНДАЦИИ Настоящее руководство по эксплуатации составлено для разных моделей прибора . Возможно , вы встретите в нем описание отдельных комплек - тующих , не относящихся к модели Вашего прибора . УСТАНОВКА • Производитель отклоняет всякую ответственность за повреждения , вы - з...

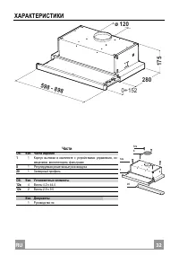
Страница 4 - ХАРАКТЕРИСТИКИ; Части

RU 32 32 ХАРАКТЕРИСТИКИ 0÷152 280 598 - 898 175 ø 120 Части Об . Кол . Части изделия 1 1 Корпус вытяжки в комплекте с устройствами управления , ос - вещением , вентилятором , фильтрами 8 1 Регулируемая решетка выпуска воздуха 20 1 Затворный профиль Об . Кол . Установочные элементы 12a 4 Винты 4,2 x ...

Beko Вытяжки Инструкции