Atlantic ALTIS Ecoboost 2 1000W 500092 - инструкции и руководства

model-name

Обогреватель Atlantic ALTIS Ecoboost 2 1000W 500092 - инструкции пользователя по применению, эксплуатации и установке на русском языке читайте онлайн в формате pdf

1 Page 1
2 Page 2
3 Page 3
4 Page 4
5 Page 5
6 Page 6
7 Page 7
8 Page 8
9 Page 9
10 Page 10
11 Page 11

Краткое содержание

Страница 2 - F129 DESIGN С ЭЛЕКТРОННЫМ ТЕРМОСТАТОМ (; Увеличение

F129 DESIGN С ЭЛЕКТРОННЫМ ТЕРМОСТАТОМ ( RU) Вступление Марка Atlantic, существующая с 1968 года, известна благодаря своей специализации в области систем отопления, теплового комфорта и экономии энергии. В приобретенной вами новой модели F129 Design воплотились 40 лет опыта и новаций. Надеемся, что н...

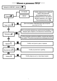
Страница 4 - Меню в режиме РУЧНОЙ

В режиме ПРОГ: − Если на дисплее высвечивается ПРОГ, вы можете настроить диапазон программирования в режиме Комфорт. − Увеличивайте температуру с помощью ( макс. 30°C ). − Уменьшайте температуру ( мин. 10°C ). Если на дисплее указано ПРОГ ECO, вы можете настроить диапазон программирования в режиме E...

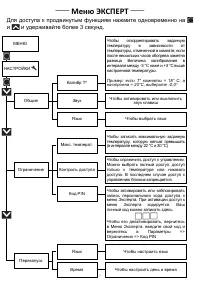
Страница 7 - Меню ЭКСПЕРТ; Для доступа к продвинутым функциям нажмите одновременно на

_____ Меню ЭКСПЕРТ _____ Для доступа к продвинутым функциям нажмите одновременно на и и удерживайте более 3 секунд . Чтобы откорректировать заданную температуру в зависимости от температуры, отмеченной в комнате, если после нескольких часов обогрева заметна разница Величина калибрования в интервале ...

Atlantic Обогреватели Инструкции