Astralux DC 8365 - инструкции и руководства
Швейная машина Astralux DC 8365 - инструкции пользователя по применению, эксплуатации и установке на русском языке читайте онлайн в формате pdf
Инструкции:
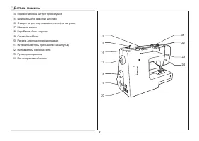
Инструкция по эксплуатации Astralux DC 8365
1
2
3
4
5
6
7
8
9
10
11
12
13
14
15
16
17
18
19
20
21
22
23
24
25
26
27
28
29
30
31
32
33
34
35
36
37
38
39
40
41
42
43
44
45
46
47
Astralux Швейные машины Инструкции
-
Astralux 7100
Инструкция по эксплуатации
-
Astralux 7200
Инструкция по эксплуатации
-
Astralux 7300
Инструкция по эксплуатации
-
Astralux 9700
Инструкция по эксплуатации
-
Astralux 9710
Инструкция по эксплуатации
-
Astralux 7350 Pro Series
Инструкция по эксплуатации
-
Astralux Happy Sew
Инструкция по эксплуатации
-
Astralux Sky Sew 50
Инструкция по эксплуатации
-
Astralux Super Sew 20
Инструкция по эксплуатации
-
Astralux Paris
Инструкция по эксплуатации
-
Astralux 226
Инструкция по эксплуатации
-
Astralux DC-8360
Инструкция по эксплуатации
-
Astralux DC-8571
Инструкция по эксплуатации
-
Astralux Spring
Инструкция по эксплуатации
-
Astralux Berry
Инструкция по эксплуатации
-
Astralux Astoria
Инструкция по эксплуатации
-
Astralux Red line Victoria
Инструкция по эксплуатации
-
Astralux Queen
Инструкция по эксплуатации
-
Astralux Victoria
Инструкция по эксплуатации
-
Astralux Sensation
Инструкция по эксплуатации