Ariston UNOBLOC G 55 RI MET - инструкции и руководства
Котел Ariston UNOBLOC G 55 RI MET - инструкции пользователя по применению, эксплуатации и установке на русском языке читайте онлайн в формате pdf
Инструкции:
Инструкция по эксплуатации Ariston UNOBLOC G 55 RI MET
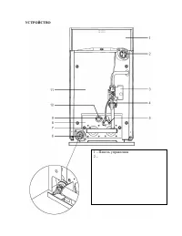
1
2
3
4
5
6
7
8
9
10
11
12
13
14
15
16
17
18
19
20
21
22
23
24
25
26
27
28
29
30
31
32
33
34
35
36
37
38
39
40
41
42
43
Ariston Котлы Инструкции
-
Ariston Alteas X 24 CF NG (3300844)
Инструкция по эксплуатации
-
Ariston Alteas X 30 CF NG (3300846)
Инструкция по эксплуатации
-
Ariston BS 24 CF
Инструкция по эксплуатации
-
Ariston BS 24 FF
Инструкция по эксплуатации
-
Ariston BS II 24 CF (FF)
Инструкция по эксплуатации
-
Ariston CARES XC 24 FF
Инструкция по эксплуатации
-
Ariston Cares XC 24 FF NG (3301682)
Инструкция по эксплуатации
-
Ariston Clas 15 CF System NG
Инструкция по эксплуатации
-
Ariston Clas 15 FF System NG
Инструкция по эксплуатации
-
Ariston Clas 24 CF System NG
Инструкция по эксплуатации
-
Ariston Clas 24 FF System NG
Инструкция по эксплуатации
-
Ariston Clas 28 CF NG
Инструкция по эксплуатации
-
Ariston Clas 28 FF System NG
Инструкция по эксплуатации
-
Ariston Clas 32 FF NG
Инструкция по эксплуатации
-
Ariston Clas B 24 CF
Инструкция по эксплуатации
-
Ariston CLAS B 24 CF (FF)
Инструкция по эксплуатации
-
Ariston Clas B 24 FF
Инструкция по эксплуатации
-
Ariston CLAS B Premium 24
Инструкция по эксплуатации
-
Ariston CLAS B Premium 35
Инструкция по эксплуатации
-
Ariston CLAS EVO 24 CF
Инструкция по эксплуатации