Ariston MBA 4033 NF - инструкции и руководства
Холодильник Ariston MBA 4033 NF - инструкции пользователя по применению, эксплуатации и установке на русском языке читайте онлайн в формате pdf
Инструкции:
Инструкция по эксплуатации Ariston MBA 4033 NF
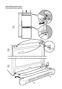
1
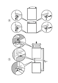
2
3
4
5
6
7
8
9
10
11
12
13
14
15
16
17
18
19
20
21
22
23
24
25
26
27
28
Ariston Холодильники Инструкции
-
Ariston MBA 1167 (X)(S)
Инструкция по эксплуатации
-
Ariston MBA 2200 (X)(S)
Инструкция по эксплуатации
-
Ariston MTA 1185 (X)
Инструкция по эксплуатации
-
Ariston MBA 4533 NF
Инструкция по эксплуатации
-
Ariston MBA 4531 NF (NFE)
Инструкция по эксплуатации
-
Ariston MBA 2185 (X)(S)
Инструкция по эксплуатации
-
Ariston CISBCB 333_B GE
Инструкция по эксплуатации
-
Ariston MBL 2077 S
Инструкция по эксплуатации
-
Ariston MBL 2055 S
Инструкция по эксплуатации
-
Ariston MBL 2021 CS
Инструкция по эксплуатации
-
Ariston MBL 2011 CS
Инструкция по эксплуатации
-
Ariston MBL 1813 S
Инструкция по эксплуатации
-
Ariston MBL 1812 S
Инструкция по эксплуатации
-
Ariston MBA 45D2 NF
Инструкция по эксплуатации
-
Ariston MBA 4035 CV
Инструкция по эксплуатации
-
Ariston MBA 4034 CV
Инструкция по эксплуатации
-
Ariston MBA 4033 CV
Инструкция по эксплуатации
-
Ariston MBA 4042 CBS
Инструкция по эксплуатации
-
Ariston MBA 4041 CBS
Инструкция по эксплуатации
-
Ariston MBA 3842 CBS
Инструкция по эксплуатации